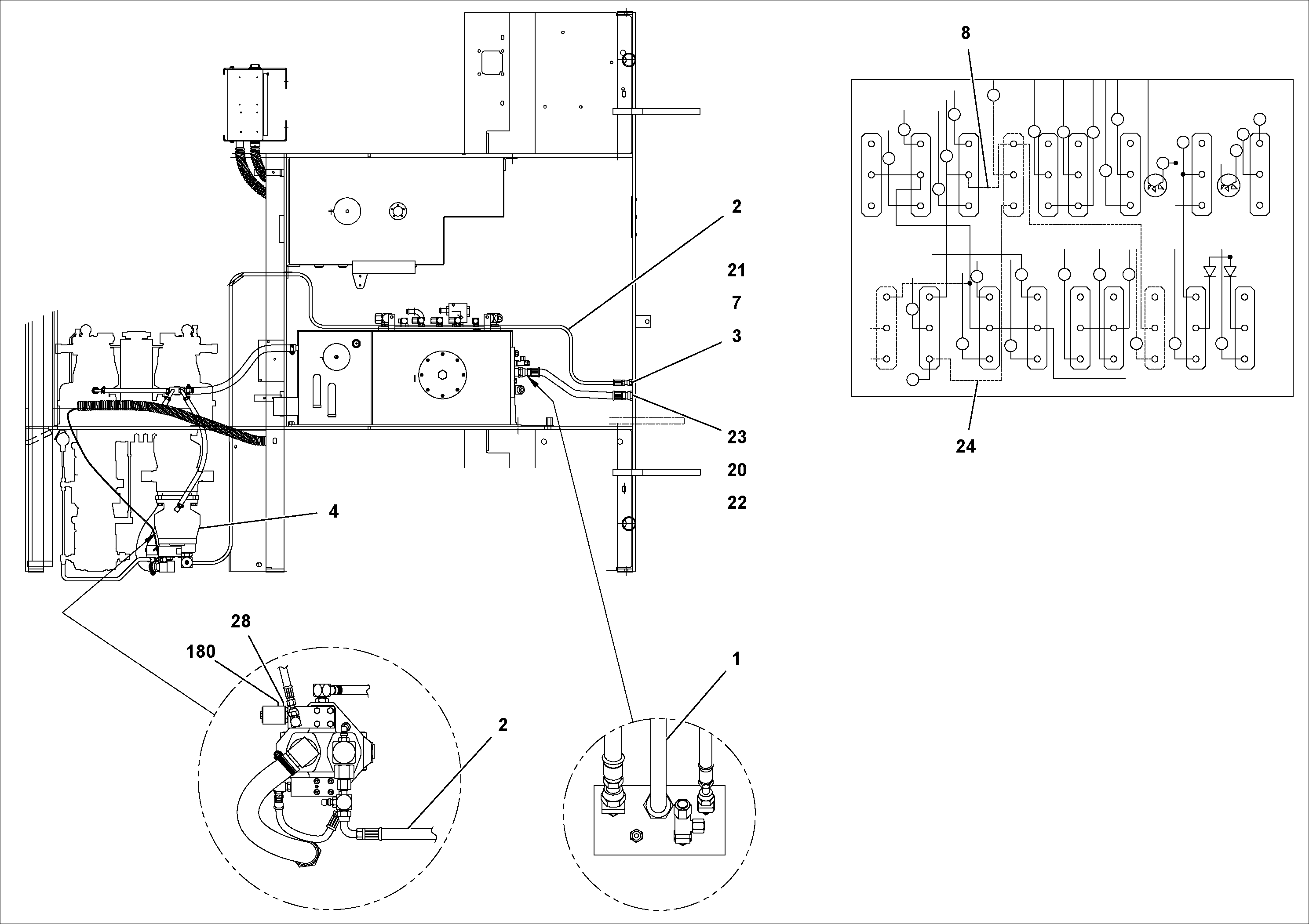
Запчасти Volvo PF2181 96938 Generator with fitting parts PF2181 S/N 197473-

Схема запчастей Volvo PF2181 - 96938 Generator with fitting parts PF2181 S/N 197473-
FIT
1:1
100%

Артикул

Название

Примечание

Количество

1

RM 15511579

Шланг

1шт.

11

RM 20933685

Cable tie

1шт.

11

RM 20933685

Cable tie

1шт.

2

RM 20332516

Hose assembly

1шт.

20

RM 59961854

Адаптер

1шт.

20

RM 59961854

Адаптер

1шт.

21

RM 59924068

Cap

1шт.

21

RM 59924068

Cap

1шт.

22

RM 20951331

Cap

1шт.

23

RM 96734439

Стопорная шайба (кольцо)

1шт.

24

RM 20352639

Cable harness

1шт.

28

RM 95931226

Стопорная шайба (кольцо)

1шт.

28

RM 95931226

Стопорная шайба (кольцо)

1шт.

3

RM 20932513

Шайба

1шт.

6

RM 20933677

Cable

1шт.

6

RM 20933677

Cable

1шт.

7

RM 59947044

Фиттинг

1шт.

7

RM 59947044

Фиттинг

1шт.

8

RM 20343448

Cable

1шт.

Выбрано товаров: 19