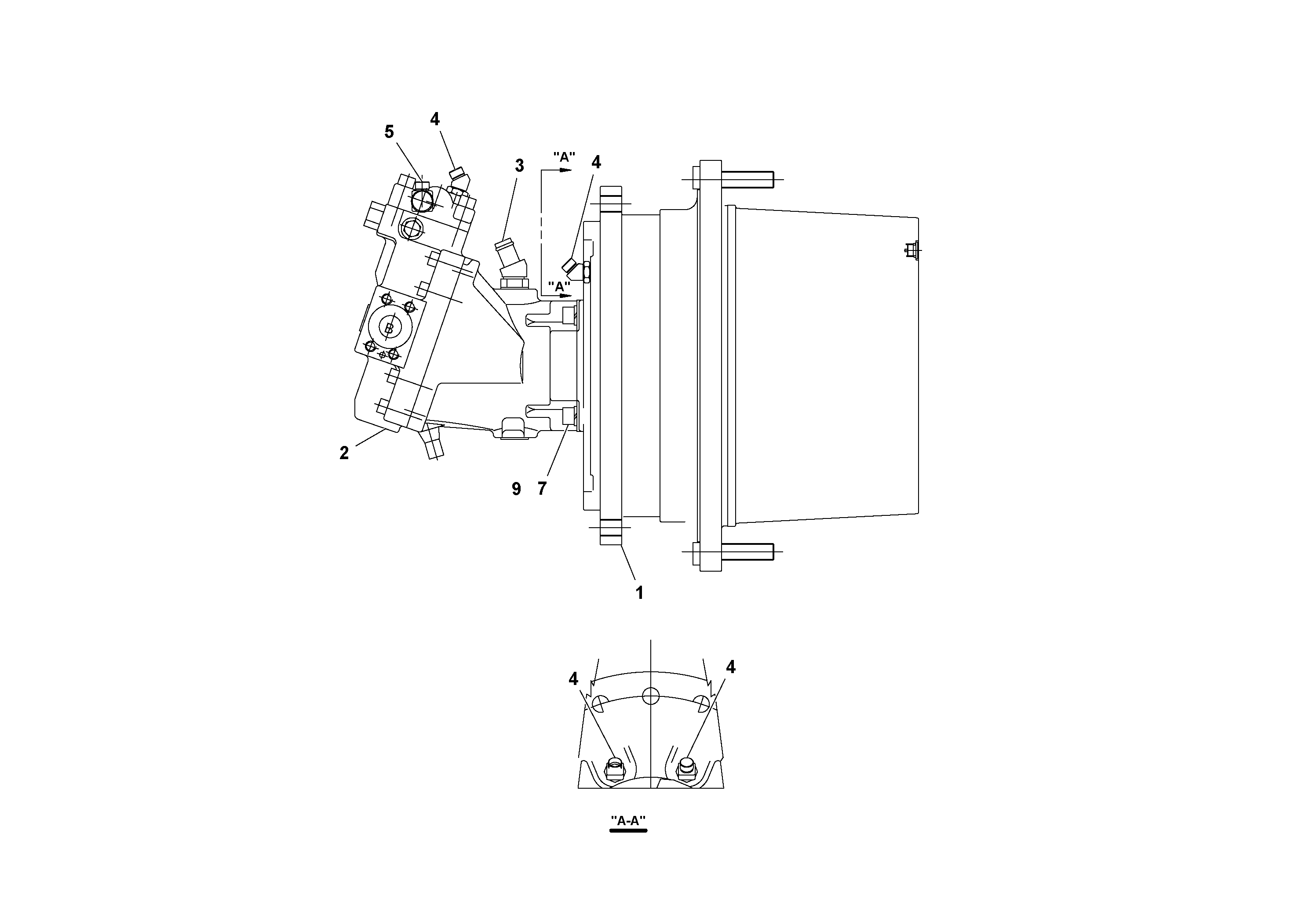
Запчасти Volvo PF3172/PF3200 S/N 197507- 32176 Traction Drive Planetary Assembly

Схема запчастей Volvo PF3172/PF3200 S/N 197507- - 32176 Traction Drive Planetary Assembly
FIT
1:1
100%

Артикул

Название

Примечание

Количество

RM 13483383

Гайка

1шт.

RM 96734280

Плоская шайба

1шт.

RM 96726658

Винт шестигранник

1шт.

RM 43894088

Шестерня планетарная (сателлит)

1шт.

1

RM 46634911

Шестерня планетарная (сателлит)

1шт.

3

RM 20350732

Фиттинг

1шт.

4

RM 59918441

Адаптер

1шт.

4

RM 59918441

Адаптер

1шт.

7

RM 95931226

Стопорная шайба (кольцо)

1шт.

7

RM 95931226

Стопорная шайба (кольцо)

1шт.

9

RM 95055018

Болт

1шт.

Выбрано товаров: 11