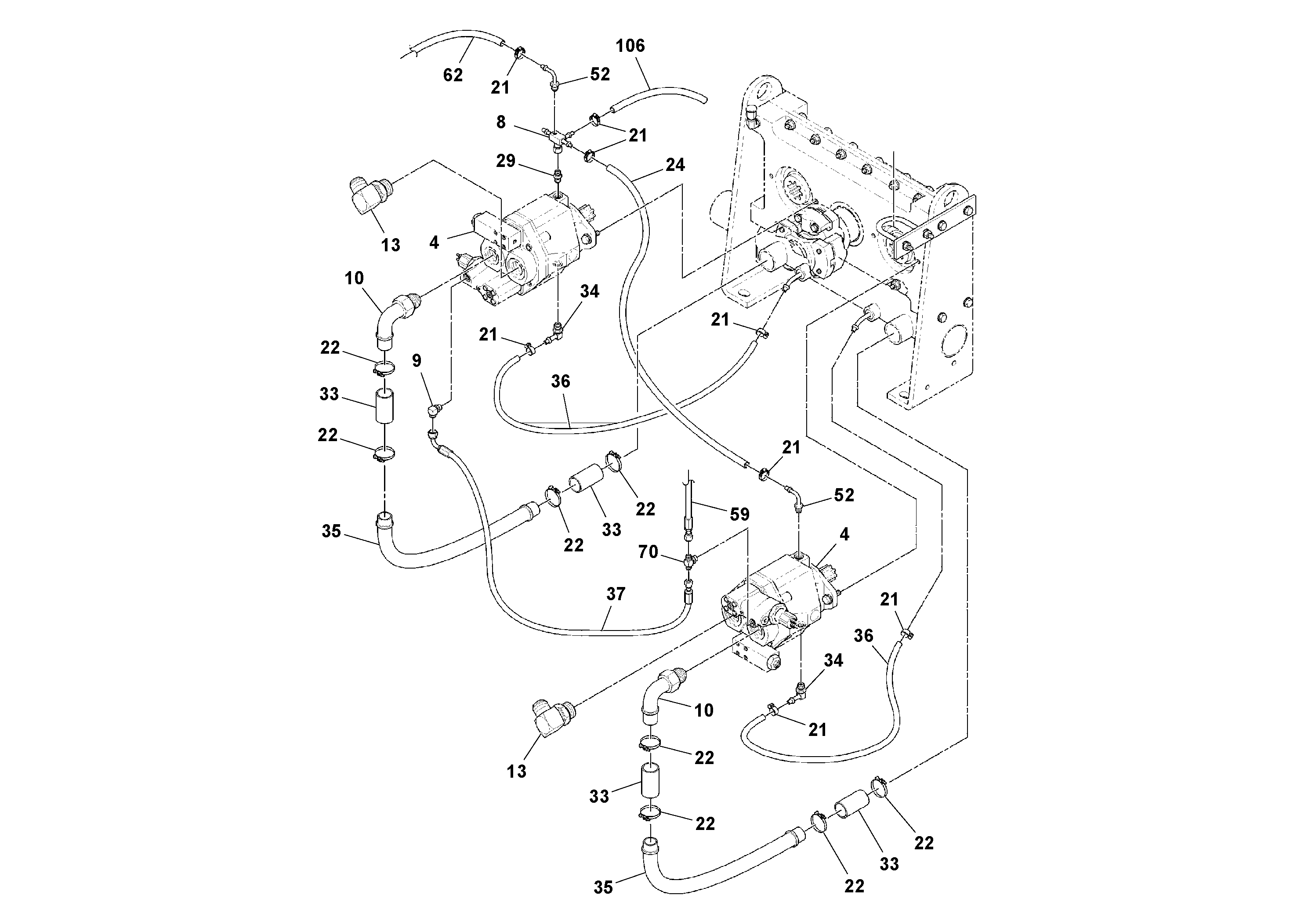
Запчасти Volvo PF3172/PF3200 S/N 197507- 42738 Pump Drive Box

Схема запчастей Volvo PF3172/PF3200 S/N 197507- - 42738 Pump Drive Box
FIT
1:1
100%

Артикул

Название

Примечание

Количество

10

RM 20935722

Elbow

1шт.

10

RM 20935722

Elbow

1шт.

102

RM 21059902

Elbow

NOT SHOWN

1шт.

106

RM 15504426

Шланг

1шт.

13

RM 59922989

Адаптер

1шт.

13

RM 59922989

Адаптер

1шт.

21

RM 95302642

Зажим

1шт.

21

RM 95302642

Зажим

1шт.

22

RM 20259214

Зажим

1шт.

24

RM 15504434

Шланг

1шт.

29

RM 59922575

Адаптер

1шт.

33

RM 20200168

Шланг

1шт.

34

RM 20945572

Elbow

1шт.

35

RM 21441811

Трубка

1шт.

36

RM 15504483

Шланг

1шт.

37

RM 20200796

Hose assembly

1шт.

37

RM 20200796

Hose assembly

1шт.

40

RM 20929527

Фильтр топливный

NOT SHOWN

1шт.

40

RM 20929527

Фильтр топливный

NOT SHOWN

1шт.

43

RM 20921318

Болт

NOT SHOWN

1шт.

43

RM 20921318

Болт

NOT SHOWN

1шт.

52

RM 20946000

Фиттинг

1шт.

52

RM 20946000

Фиттинг

1шт.

59

RM 20326971

Hose assembly

1шт.

62

RM 20289302

Шланг

1шт.

70

RM 20950705

T-nipple

1шт.

70

RM 20950705

T-nipple

1шт.

8

RM 20281713

Корпус клапана (коллектор)

CASE DRAIN

1шт.

9

RM 59923060

Фиттинг

1шт.

9

RM 59923060

Фиттинг

1шт.

Выбрано товаров: 30