Запчасти Volvo PF3172/PF3200 S/N 197507- 76982 Гидравлическая система

Схема запчастей Volvo PF3172/PF3200 S/N 197507- - 76982 Гидравлическая система
FIT
1:1
100%

Артикул

Название

Примечание

Количество

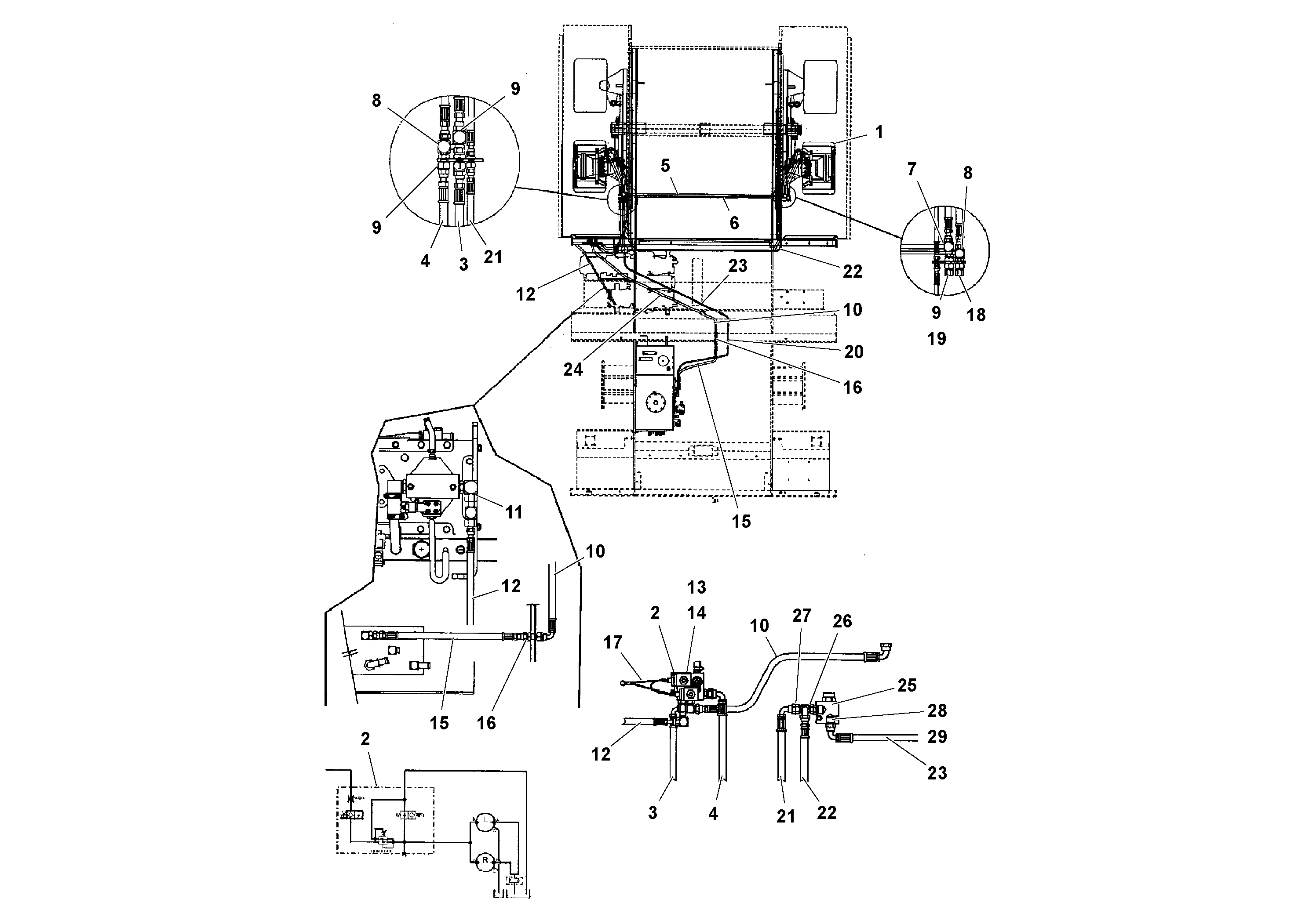
RM 20289633

Шланг

PF-3172

1шт.

RM 20201927

Шланг

PF-3172

1шт.

10

RM 20289682

Hose assembly

1шт.

11

RM 59924027

Адаптер

1шт.

12

RM 20948691

Hose assembly

1шт.

12

RM 20948691

Hose assembly

1шт.

13

RM 95920674

Винт шестигранник

1шт.

13

RM 95920674

Винт шестигранник

1шт.

14

RM 95931432

Стопорная шайба (кольцо)

1шт.

14

RM 95931432

Стопорная шайба (кольцо)

1шт.

15

RM 15511496

Hose assembly

1шт.

16

RM 59947044

Фиттинг

1шт.

16

RM 59947044

Фиттинг

1шт.

17

RM 20266540

Cable harness

1шт.

18

RM 59924068

Cap

1шт.

18

RM 59924068

Cap

1шт.

19

RM 95257325

Гайка

1шт.

19

RM 95257325

Гайка

1шт.

20

RM 59961839

Адаптер

1шт.

20

RM 59961839

Адаптер

1шт.

21

RM 20201919

Hose assembly

1шт.

22

RM 15511892

Hose assembly

1шт.

23

RM 15511637

Hose assembly

1шт.

24

RM 15511827

Шланг

1шт.

25

RM 20312773

Flow valve

1шт.

26

RM 59918649

Адаптер

1шт.

26

RM 59918649

Адаптер

1шт.

27

RM 59918540

Адаптер

1шт.

27

RM 59918540

Адаптер

1шт.

28

RM 95934782

Винт шестигранник

1шт.

29

RM 95922183

Плоская шайба

1шт.

29

RM 95922183

Плоская шайба

1шт.

3

RM 20289625

Hose assembly

PF-3200

1шт.

4

RM 20202214

Hose assembly

PF-3200

1шт.

5

RM 20235818

Трубка

1шт.

6

RM 20235529

Трубка

1шт.

7

RM 95416731

Nipple

1шт.

7

RM 95416731

Nipple

1шт.

8

RM 59962639

Адаптер

1шт.

8

RM 59962639

Адаптер

1шт.

9

RM 95364964

Переходник масляного фильтра

1шт.

Выбрано товаров: 41