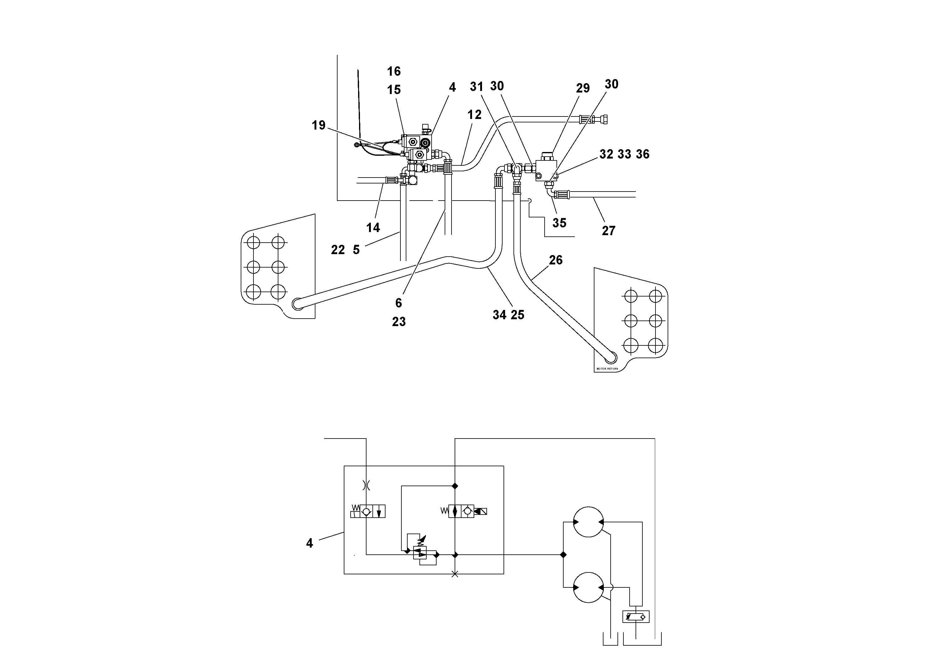
Запчасти Volvo PF3172/PF3200 S/N 197507- 80285 Front Wheel Assist Installation

Схема запчастей Volvo PF3172/PF3200 S/N 197507- - 80285 Front Wheel Assist Installation
FIT
1:1
100%

Артикул

Название

Примечание

Количество

RM 13498928

Sealing kit

1шт.

12

RM 20289682

Hose assembly

1шт.

14

RM 20948691

Hose assembly

1шт.

14

RM 20948691

Hose assembly

1шт.

15

RM 95920674

Винт шестигранник

1шт.

15

RM 95920674

Винт шестигранник

1шт.

16

RM 95931432

Стопорная шайба (кольцо)

1шт.

16

RM 95931432

Стопорная шайба (кольцо)

1шт.

19

RM 20266540

Cable harness

1шт.

22

RM 20289633

Шланг

1шт.

23

RM 20201927

Шланг

1шт.

25

RM 20201919

Hose assembly

1шт.

26

RM 15511892

Hose assembly

1шт.

27

RM 15511637

Hose assembly

1шт.

29

RM 20312773

Flow valve

1шт.

30

RM 59918649

Адаптер

1шт.

30

RM 59918649

Адаптер

1шт.

31

RM 59918540

Адаптер

1шт.

31

RM 59918540

Адаптер

1шт.

32

RM 95934782

Винт шестигранник

1шт.

33

RM 95922183

Плоская шайба

1шт.

33

RM 95922183

Плоская шайба

1шт.

36

RM 95931382

Стопорная шайба (кольцо)

1шт.

36

RM 95931382

Стопорная шайба (кольцо)

1шт.

Выбрано товаров: 24