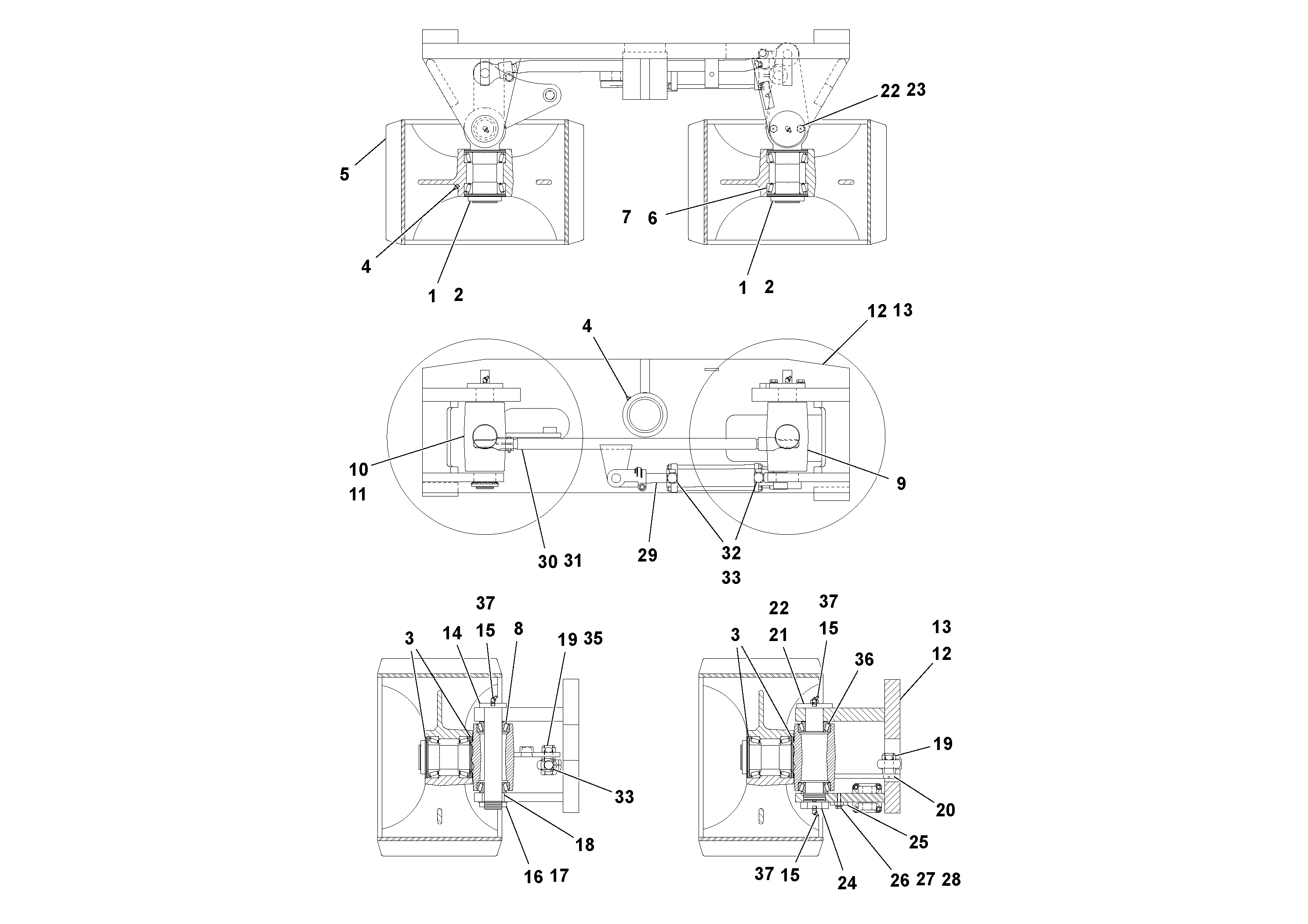
Запчасти Volvo PF3172/PF3200 S/N 197507- 803 Bogie Assembly

Схема запчастей Volvo PF3172/PF3200 S/N 197507- - 803 Bogie Assembly
FIT
1:1
100%

Артикул

Название

Примечание

Количество

RM 20242699

Wheel

1шт.

1

RM 95209904

Lock nut

1шт.

10

RM 20290870

Spindle

1шт.

11

RM 20290888

Spindle

1шт.

12

RM 20290862

Шайба

1шт.

13

RM 20242004

Frame

1шт.

14

RM 20266342

Палец

1шт.

15

RM 20934857

Фиттинг

1шт.

15

RM 20934857

Фиттинг

1шт.

16

RM 95201018

Стопорная шайба (кольцо)

1шт.

17

RM 95200911

Lock nut

1шт.

18

RM 20348728

Вставка

1шт.

19

RM 20944377

Lock nut

1шт.

2

RM 95413183

Стопорная шайба (кольцо)

1шт.

20

RM 20266441

Ball pin

1шт.

21

RM 21059753

Палец

1шт.

22

RM 95934659

Винт шестигранник

1шт.

22

RM 95934659

Винт шестигранник

1шт.

23

RM 95931226

Стопорная шайба (кольцо)

1шт.

23

RM 95931226

Стопорная шайба (кольцо)

1шт.

24

RM 21059779

Палец

1шт.

25

RM 21059761

Тарелка клапана

1шт.

26

RM 95920682

Винт шестигранник

1шт.

26

RM 95920682

Винт шестигранник

1шт.

27

RM 95922373

Плоская шайба

1шт.

27

RM 95922373

Плоская шайба

1шт.

28

RM 95931432

Стопорная шайба (кольцо)

1шт.

28

RM 95931432

Стопорная шайба (кольцо)

1шт.

29

RM 20926473

Гидроцилиндр

1шт.

3

RM 21426267

Шайба

1шт.

30

RM 20163085

Track rod

1шт.

31

RM 20266334

Track rod

1шт.

32

RM 59922864

Адаптер

1шт.

32

RM 59922864

Адаптер

1шт.

33

RM 59924050

Cap

1шт.

33

RM 59924050

Cap

1шт.

35

RM 21060298

Болт

1шт.

36

RM 20930251

Подшипник

1шт.

37

RM 50270248

Cap

1шт.

37

RM 50270248

Cap

1шт.

4

RM 20934832

Lubricating nipple

1шт.

4

RM 20934832

Lubricating nipple

1шт.

5

RM 20985578

Wheel

1шт.

6

RM 20930277

Подшипник

1шт.

7

RM 20930616

Подшипник

1шт.

8

RM 20930574

Подшипник

1шт.

Выбрано товаров: 46