Запчасти Volvo PF3172/PF3200 S/N 197507- 83749 Bogie Installation

Схема запчастей Volvo PF3172/PF3200 S/N 197507- - 83749 Bogie Installation
FIT
1:1
100%

Артикул

Название

Примечание

Количество

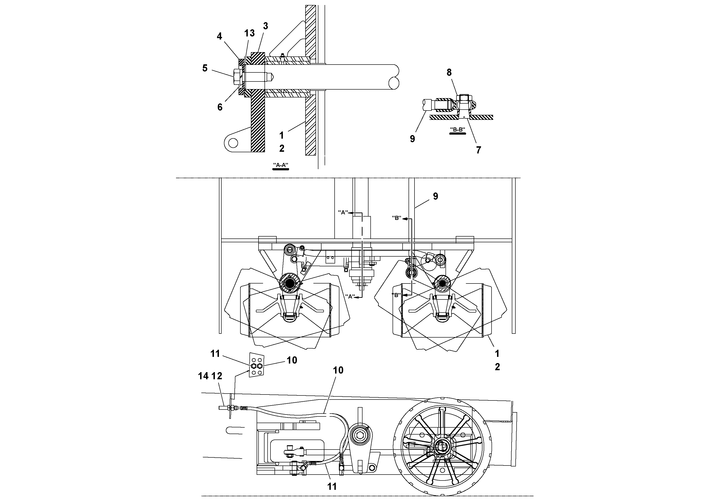
10

RM 20949855

Hose assembly

1шт.

11

RM 20949186

Hose assembly

1шт.

12

RM 59961839

Адаптер

1шт.

12

RM 59961839

Адаптер

1шт.

13

RM 20340816

Прокладка

1шт.

14

RM 96747522

Шайба

1шт.

3

RM 20235339

Cylinder lug

1шт.

4

RM 20250544

Шайба

1шт.

5

RM 95995239

Винт шестигранник

1шт.

5

RM 95995239

Винт шестигранник

1шт.

6

RM 95931291

Стопорная шайба (кольцо)

1шт.

7

RM 20266441

Ball pin

1шт.

8

RM 20944377

Lock nut

1шт.

9

RM 20235883

Track rod

1шт.

Выбрано товаров: 14