Запчасти Volvo PF3172/PF3200 S/N 197507- 51483 Fuel Tank/pump Assembly

Схема запчастей Volvo PF3172/PF3200 S/N 197507- - 51483 Fuel Tank/pump Assembly
FIT
1:1
100%

Артикул

Название

Примечание

Количество

RM 95934550

Винт шестигранник

1шт.

RM 95934550

Винт шестигранник

1шт.

RM 95931432

Стопорная шайба (кольцо)

1шт.

RM 95931432

Стопорная шайба (кольцо)

1шт.

RM 95922894

Hexagon nut

1шт.

RM 95922894

Hexagon nut

1шт.

RM 20236790

Адаптер

1шт.

RM 59918557

T-nipple

1шт.

RM 20935987

Зажим

1шт.

RM 20260162

Адаптер

1шт.

RM 95934774

Винт шестигранник

1шт.

RM 95934774

Винт шестигранник

1шт.

RM 95931382

Стопорная шайба (кольцо)

1шт.

RM 95931382

Стопорная шайба (кольцо)

1шт.

RM 95922183

Плоская шайба

1шт.

RM 95922183

Плоская шайба

1шт.

RM 20946091

Elbow

1шт.

RM 20258877

Фиттинг

1шт.

RM 95996633

Болт

1шт.

RM 95931366

Стопорная шайба (кольцо)

1шт.

RM 95931366

Стопорная шайба (кольцо)

1шт.

RM 20932463

Шайба

1шт.

RM 20935987

Зажим

1шт.

RM 20932299

Кольцо уплотнительное (О-кольцо)

1шт.

RM 20932299

Кольцо уплотнительное (О-кольцо)

1шт.

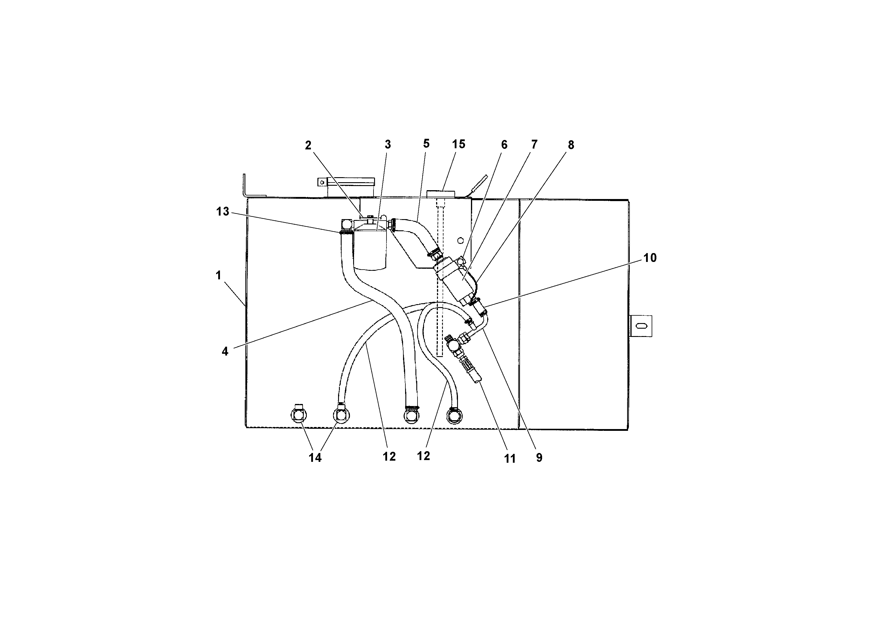
1

RM 20310363

Топливный бак (бензобак)

1шт.

10

RM 15510621

Шланг

1шт.

11

RM 15512098

Hose assembly

1шт.

12

RM 15510530

Return hose

1шт.

13

RM 95264776

Зажим

1шт.

14

RM 59903112

Адаптер

1шт.

14

RM 59903112

Адаптер

1шт.

15

RM 20344966

Fuel gauge

1шт.

2

RM 20928131

Head

1шт.

3

RM 20928149

Фильтр топливный

ELEMENT

1шт.

4

RM 20942181

Шланг

1шт.

5

RM 15504400

Шланг

1шт.

6

RM 20938205

Зажим

1шт.

7

RM 20335097

Fuel pump

1шт.

8

RM 21014147

Cable

1шт.

9

RM 20235420

Корпус клапана (коллектор)

1шт.

Выбрано товаров: 41