Запчасти Volvo PF3172/PF3200 S/N 197507- 42777 Hydraulic Arrangement

Схема запчастей Volvo PF3172/PF3200 S/N 197507- - 42777 Hydraulic Arrangement
FIT
1:1
100%

Артикул

Название

Примечание

Количество

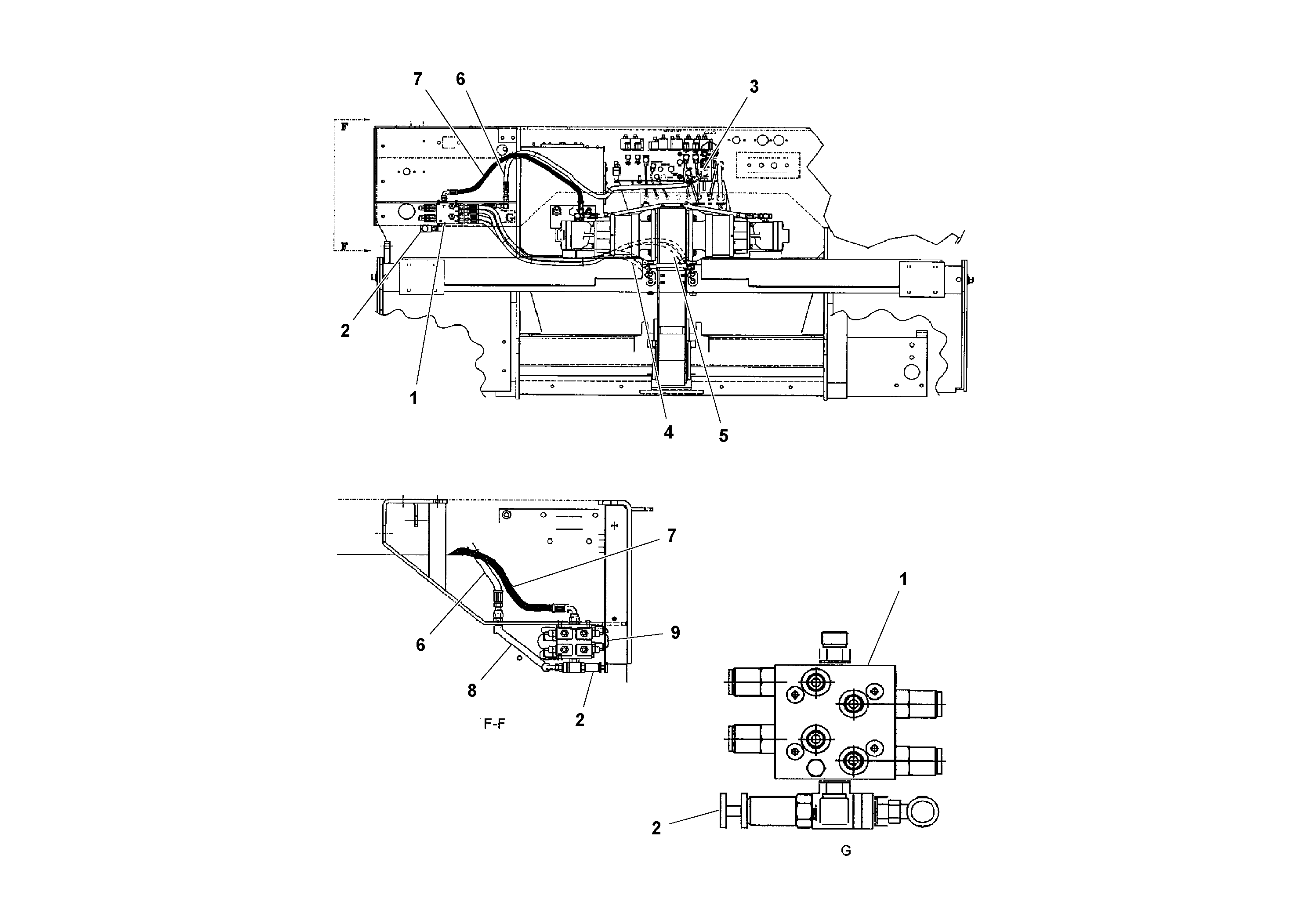
RM 95938544

Винт шестигранник

1шт.

RM 95938544

Винт шестигранник

1шт.

RM 95931408

Стопорная шайба (кольцо)

1шт.

RM 95931408

Стопорная шайба (кольцо)

1шт.

RM 59922484

Адаптер

1шт.

RM 59919670

Соединитель

1шт.

RM 59919670

Адаптер

1шт.

RM 20951562

Elbow

1шт.

RM 20933685

Cable tie

1шт.

RM 20933685

Cable tie

1шт.

RM 59947028

Фиттинг

1шт.

3

RM 59923797

T-nipple

1шт.

3

RM 59923797

T-nipple

1шт.

4

RM 20331559

Hose assembly

LH

1шт.

5

RM 20331567

Hose assembly

RH

1шт.

6

RM 20200820

Шланг

1шт.

7

RM 20949343

Hose assembly

1шт.

8

RM 20201935

Hose assembly

1шт.

9

RM 20980488

Cable harness

1шт.

Выбрано товаров: 19