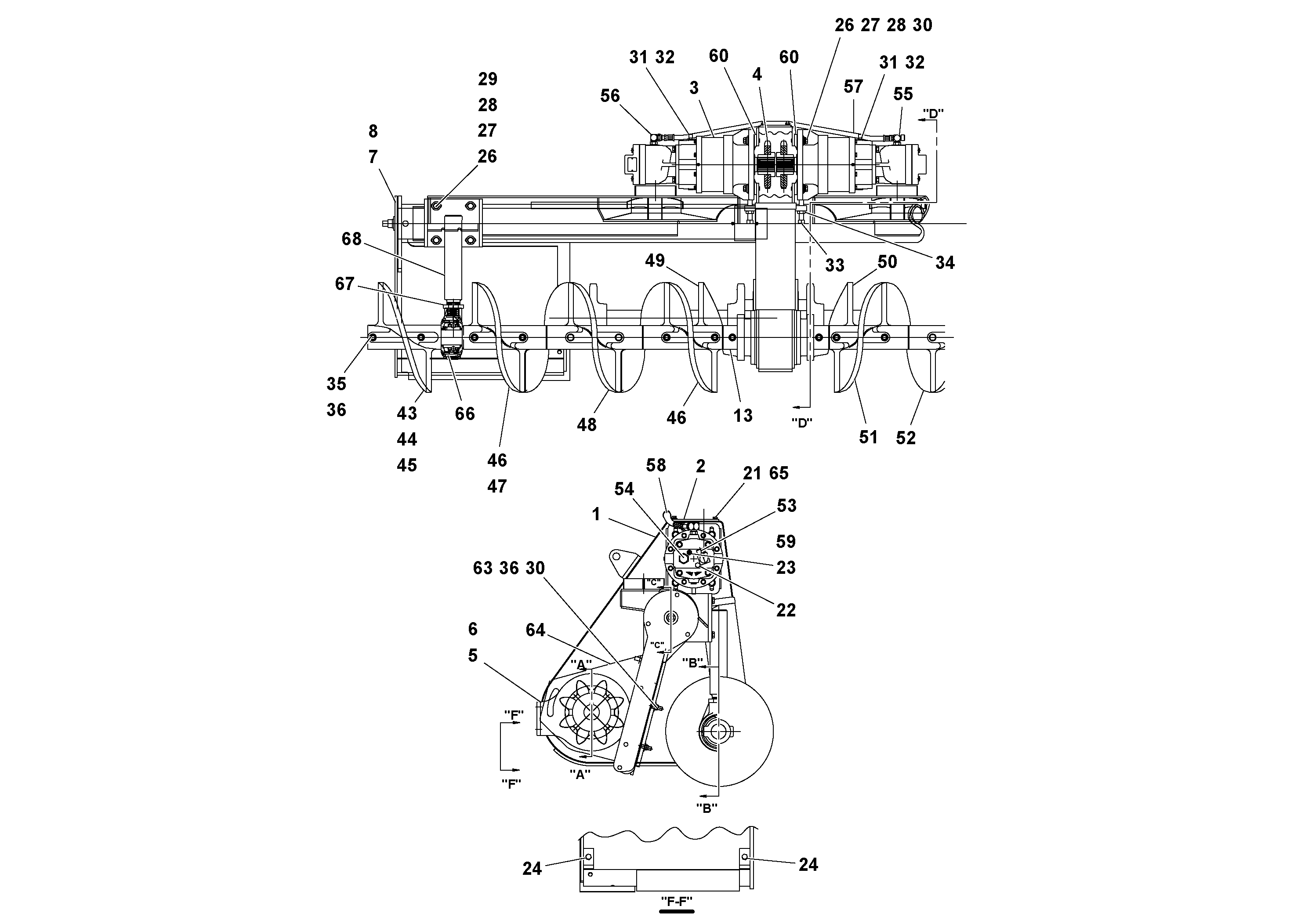
Запчасти Volvo PF3172/PF3200 S/N 197507- 62234 Power Tunnel Assembly

Схема запчастей Volvo PF3172/PF3200 S/N 197507- - 62234 Power Tunnel Assembly
FIT
1:1
100%

Артикул

Название

Примечание

Количество

1

RM 20338661

Chain housing

1шт.

13

RM 20955290

Bearing shield

1шт.

2

RM 15618564

Шайба

1шт.

21

RM 95931432

Стопорная шайба (кольцо)

1шт.

21

RM 95931432

Стопорная шайба (кольцо)

1шт.

22

RM 95323366

Пробка (заглушка)

1шт.

22

RM 95323366

Пробка (заглушка)

1шт.

23

RM 20945713

Gaiter

1шт.

23

RM 20945713

Gaiter

1шт.

24

RM 95934642

Винт шестигранник

1шт.

24

RM 95934642

Винт шестигранник

1шт.

26

RM 95934469

Винт шестигранник

1шт.

26

RM 95934469

Винт шестигранник

1шт.

27

RM 95931226

Стопорная шайба (кольцо)

1шт.

27

RM 95931226

Стопорная шайба (кольцо)

1шт.

28

RM 20961967

Шайба

1шт.

28

RM 20961967

Шайба

1шт.

29

RM 95922902

Hexagon nut

1шт.

29

RM 95922902

Hexagon nut

1шт.

30

RM 95922258

Шайба

1шт.

30

RM 95922258

Шайба

1шт.

31

RM 95037420

Reducer

1шт.

31

RM 95037420

Reducer

1шт.

32

RM 20347373

Venting

1шт.

32

RM 20347373

Venting

1шт.

33

RM 95230397

установочный винт

1шт.

34

RM 95923009

Гайка

1шт.

34

RM 95923009

Гайка

1шт.

35

RM 95055117

Болт

1шт.

35

RM 95055117

Болт

1шт.

36

RM 95943080

Lock nut

1шт.

36

RM 95943080

Lock nut

1шт.

4

RM 21140975

Звездочка

1шт.

43

RM 20206421

Casting

1шт.

44

RM 20206439

Casting

1шт.

45

RM 20955308

Крышка

1шт.

45

RM 20955308

Крышка

1шт.

46

RM 20954996

Casting

1шт.

47

RM 20955100

Крышка

1шт.

48

RM 20954988

Casting

1шт.

49

RM 20955274

Casting

1шт.

5

RM 20267274

Кронштейн

1шт.

50

RM 20955282

Casting

1шт.

51

RM 20955019

Casting

1шт.

52

RM 20955001

Casting

1шт.

53

RM 59922971

Фиттинг

1шт.

53

RM 59922971

Фиттинг

1шт.

54

RM 59922591

Адаптер

1шт.

54

RM 59922591

Адаптер

1шт.

55

RM 20950713

T-nipple

1шт.

56

RM 59922898

Адаптер

1шт.

56

RM 59922898

Адаптер

1шт.

57

RM 20948824

Hose assembly

1шт.

58

RM 20938239

Зажим

1шт.

59

RM 20946190

Кольцо уплотнительное (О-кольцо)

1шт.

59

RM 20946190

Кольцо уплотнительное (О-кольцо)

1шт.

6

RM 20267266

Кронштейн

1шт.

60

RM 21061791

Крышка

1шт.

60

RM 21061791

Крышка

1шт.

63

RM 20921516

Болт

1шт.

64

RM 20266466

Опора

1шт.

65

RM 95920674

Винт шестигранник

1шт.

65

RM 95920674

Винт шестигранник

1шт.

67

RM 20944328

Lock nut

1шт.

68

RM 15602147

Support bearing

1шт.

7

RM 18007005

Shield

1шт.

8

RM 18007013

Shield

1шт.

Выбрано товаров: 67