Запчасти Volvo PF3172/PF3200 S/N 197507- 77277 Generator Pump Option

Схема запчастей Volvo PF3172/PF3200 S/N 197507- - 77277 Generator Pump Option
FIT
1:1
100%

Артикул

Название

Примечание

Количество

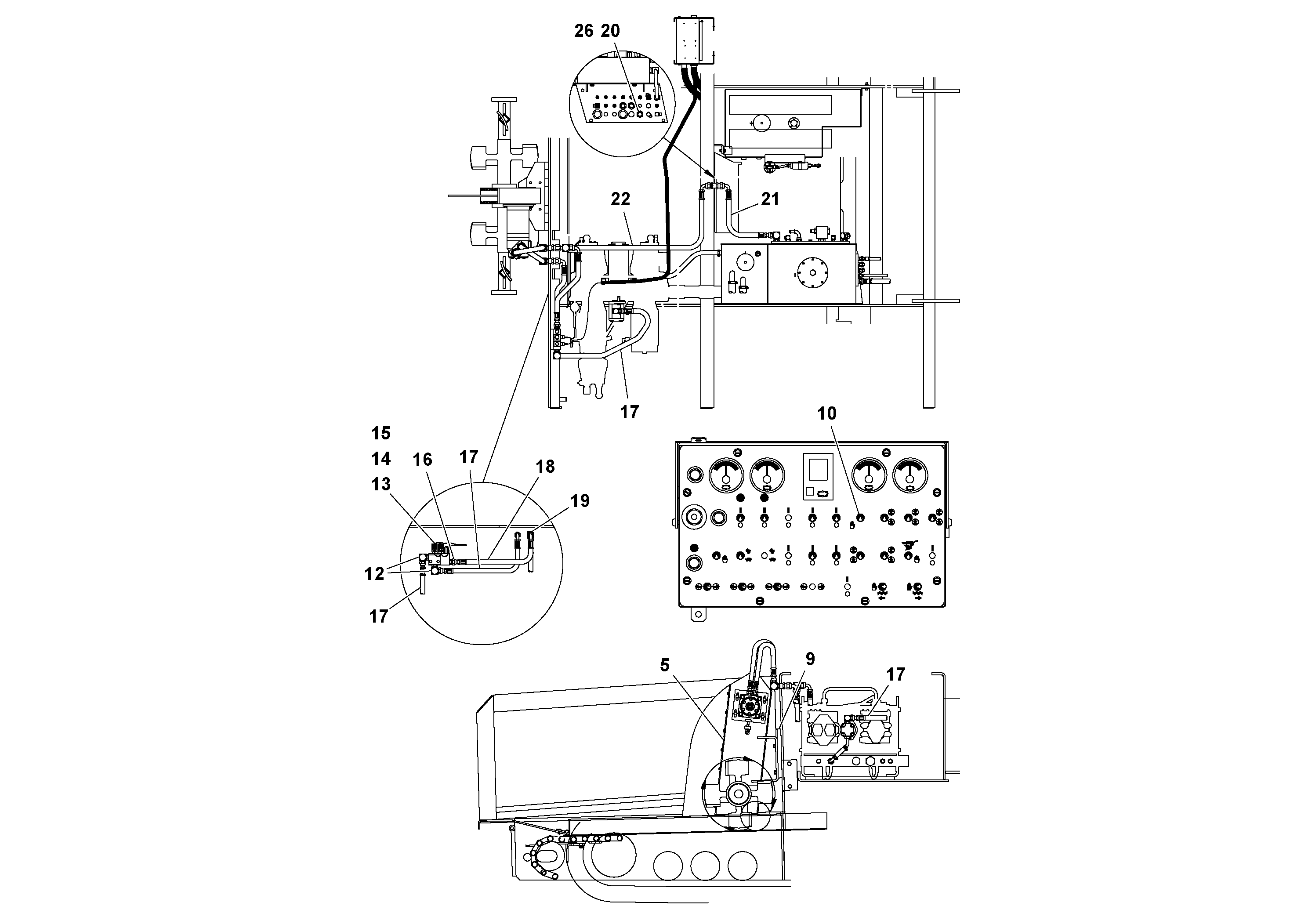
10

RM 20934501

Toggle switch

1шт.

12

RM 59922971

Фиттинг

1шт.

12

RM 59922971

Фиттинг

1шт.

13

RM 20257986

Клапан

1шт.

14

RM 95941100

Винт шестигранник

1шт.

15

RM 95931432

Стопорная шайба (кольцо)

1шт.

15

RM 95931432

Стопорная шайба (кольцо)

1шт.

16

RM 59922591

Адаптер

1шт.

16

RM 59922591

Адаптер

1шт.

17

RM 20201752

Hose assembly

1шт.

18

RM 20949301

Hose assembly

1шт.

19

RM 59903161

T-nipple

1шт.

20

RM 59961854

Адаптер

1шт.

20

RM 59961854

Адаптер

1шт.

21

RM 20203055

Hydraulic hose

1шт.

22

RM 20200846

Hose assembly

1шт.

26

RM 20181442

Стопорная шайба (кольцо)

1шт.

6

RM 20933677

Cable

1шт.

6

RM 20933677

Cable

1шт.

9

RM 15608789

Mounting Plate

1шт.

9

RM 15608789

Mounting Plate

1шт.

9

RM 15608789

Кронштейн

1шт.

Выбрано товаров: 22