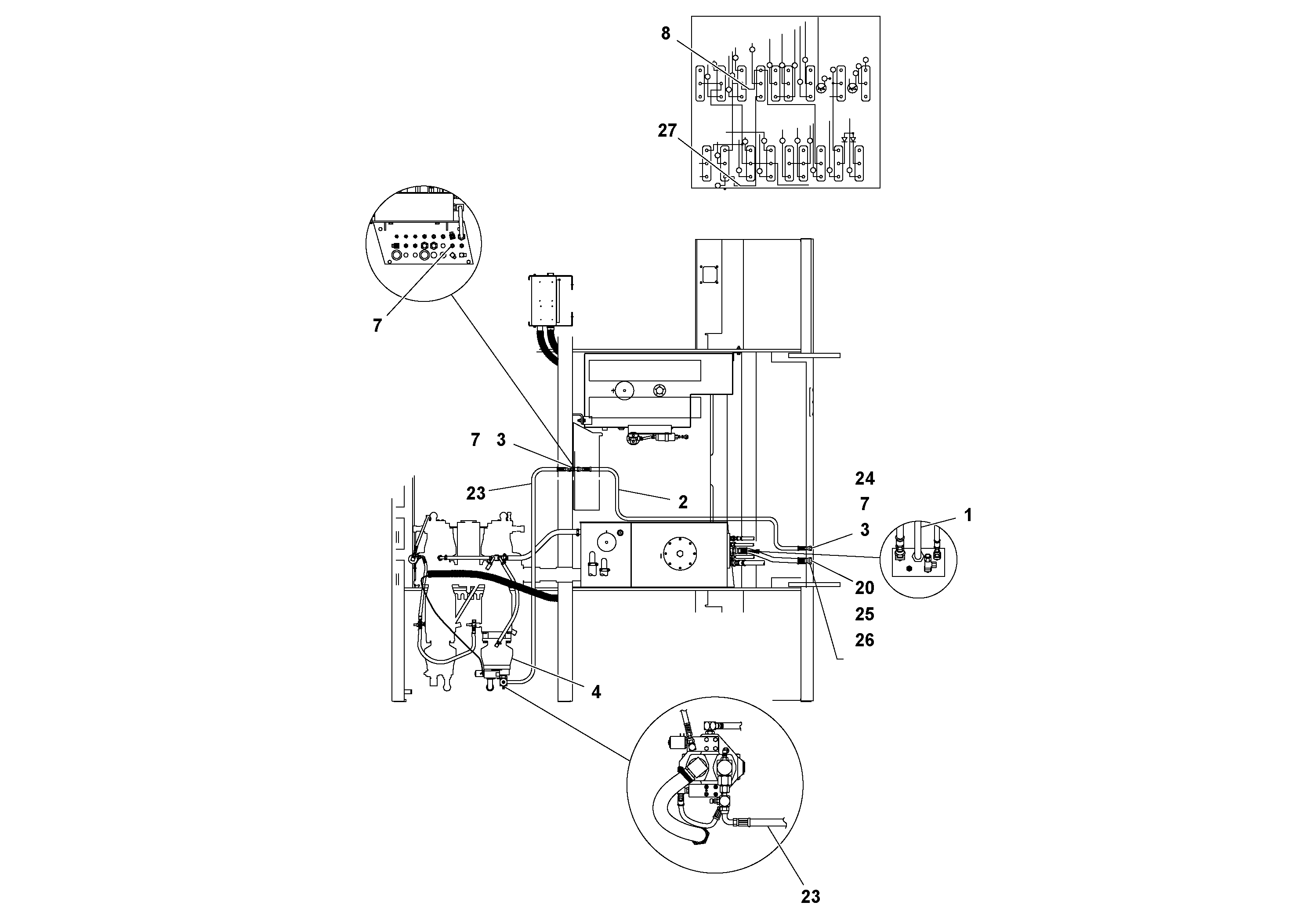
Запчасти Volvo PF3172/PF3200 S/N 197507- 77502 Generator Pump Option

Схема запчастей Volvo PF3172/PF3200 S/N 197507- - 77502 Generator Pump Option
FIT
1:1
100%

Артикул

Название

Примечание

Количество

1

RM 20332532

Hose assembly

1шт.

11

RM 20933685

Cable tie

1шт.

11

RM 20933685

Cable tie

1шт.

2

RM 20375457

Hose assembly

1шт.

20

RM 59961854

Адаптер

1шт.

20

RM 59961854

Адаптер

1шт.

23

RM 15512270

Hose assembly

1шт.

24

RM 59924068

Cap

1шт.

24

RM 59924068

Cap

1шт.

25

RM 20951331

Cap

1шт.

26

RM 20181442

Стопорная шайба (кольцо)

1шт.

27

RM 20352639

Cable harness

1шт.

3

RM 20932513

Шайба

1шт.

7

RM 59947044

Фиттинг

1шт.

7

RM 59947044

Фиттинг

1шт.

8

RM 20343448

Cable

1шт.

Выбрано товаров: 16