Запчасти Volvo PF3172/PF3200 S/N 197507- 1875 Ballast Tank Installation

Схема запчастей Volvo PF3172/PF3200 S/N 197507- - 1875 Ballast Tank Installation
FIT
1:1
100%

Артикул

Название

Примечание

Количество

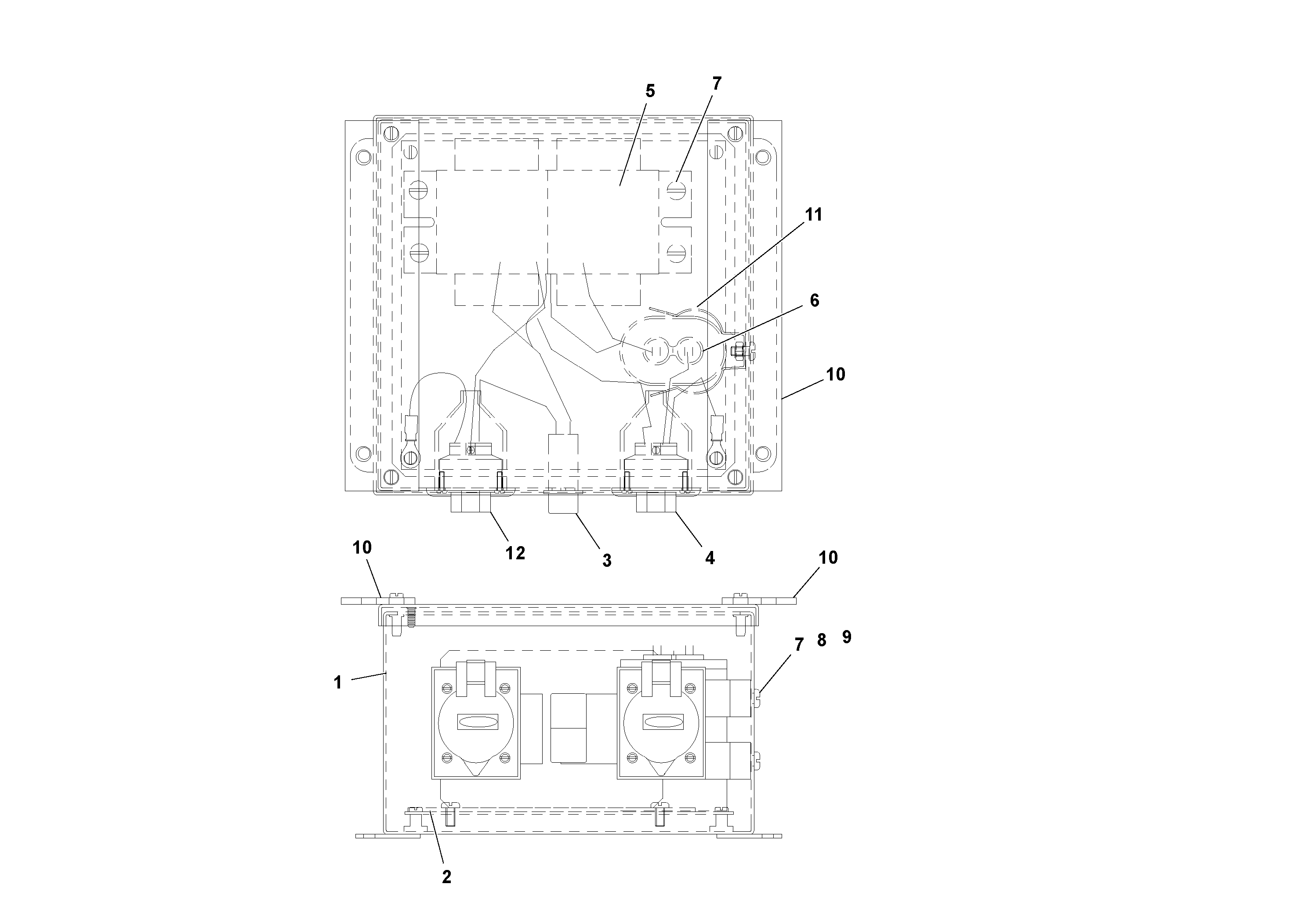
1

RM 13823042

Plastic box

1шт.

10

RM 13409388

Пластина

1шт.

11

RM 15502149

Скоба (хомут)

1шт.

12

RM 15509672

Wire Grounding

1шт.

2

RM 13584776

Panel

1шт.

3

RM 20313029

Переключатель

1шт.

4

RM 13809587

Шайба

1шт.

5

RM 20355350

Resistor

1шт.

6

RM 13809363

Capacitor

1шт.

7

RM 95996682

Болт

1шт.

8

RM 95931564

Гайка

1шт.

8

RM 95931564

Гайка

1шт.

9

RM 95931382

Стопорная шайба (кольцо)

1шт.

9

RM 95931382

Стопорная шайба (кольцо)

1шт.

Выбрано товаров: 14