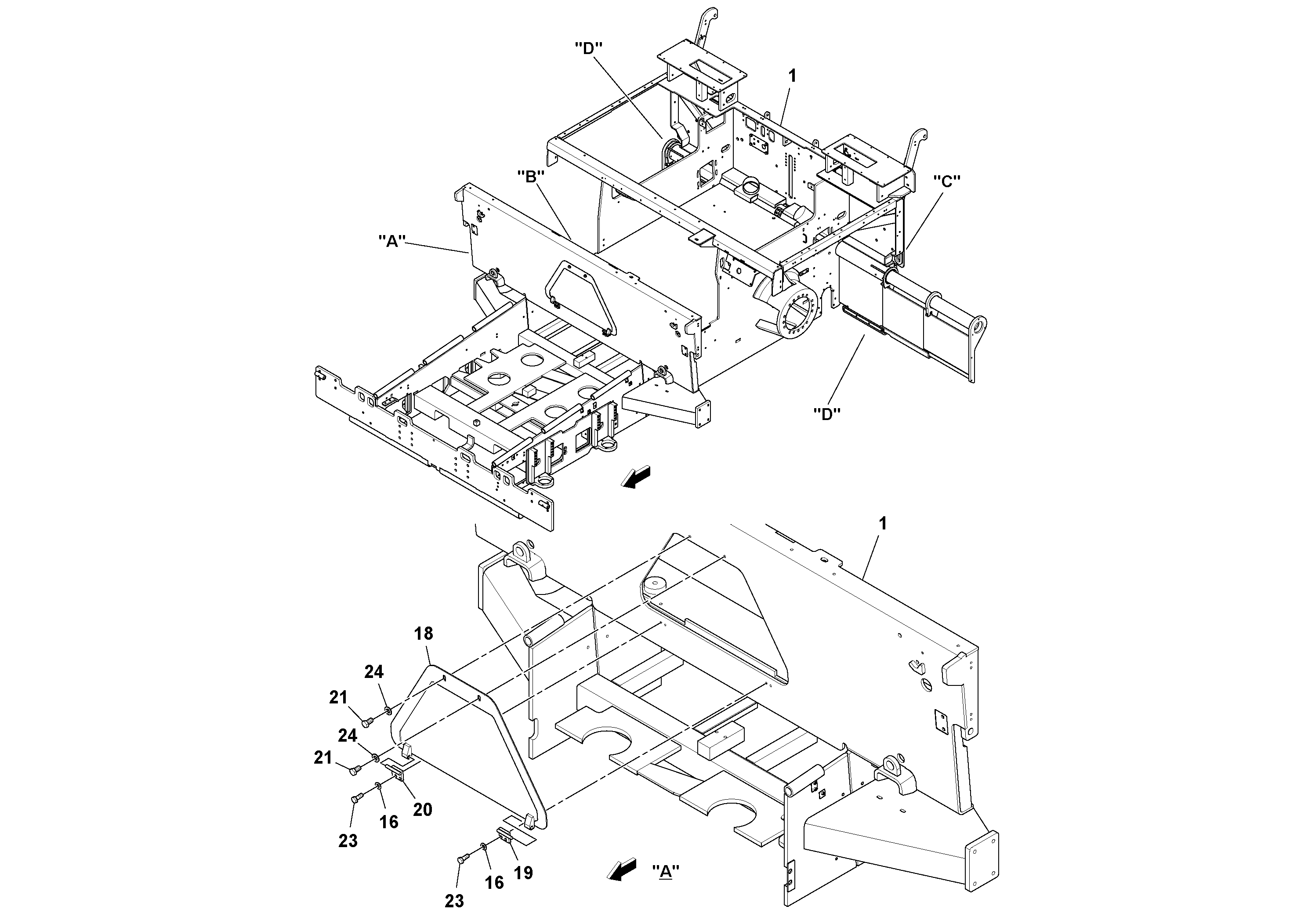
Запчасти Volvo PF6160 99744 Main Frame Installation PF6160/PF6170

Схема запчастей Volvo PF6160 - 99744 Main Frame Installation PF6160/PF6170
FIT
1:1
100%

Артикул

Название

Примечание

Количество

1

RM 43958859

Frame

1шт.

16

RM 96741046

Плоская шайба

1шт.

16

RM 96741046

Плоская шайба

1шт.

18

RM 43802859

Door

1шт.

19

RM 13511415

Hinge pin

1шт.

20

RM 13511399

Палец

1шт.

21

RM 96714829

Винт шестигранник

1шт.

23

RM 96702287

Винт шестигранник

1шт.

23

RM 96702287

Винт шестигранник

1шт.

24

RM 96738596

Шайба

1шт.

Выбрано товаров: 10