Запчасти Volvo PF6160 103003 Cooling Package Assembly PF6160/PF6170

Схема запчастей Volvo PF6160 - 103003 Cooling Package Assembly PF6160/PF6170
FIT
1:1
100%

Артикул

Название

Примечание

Количество

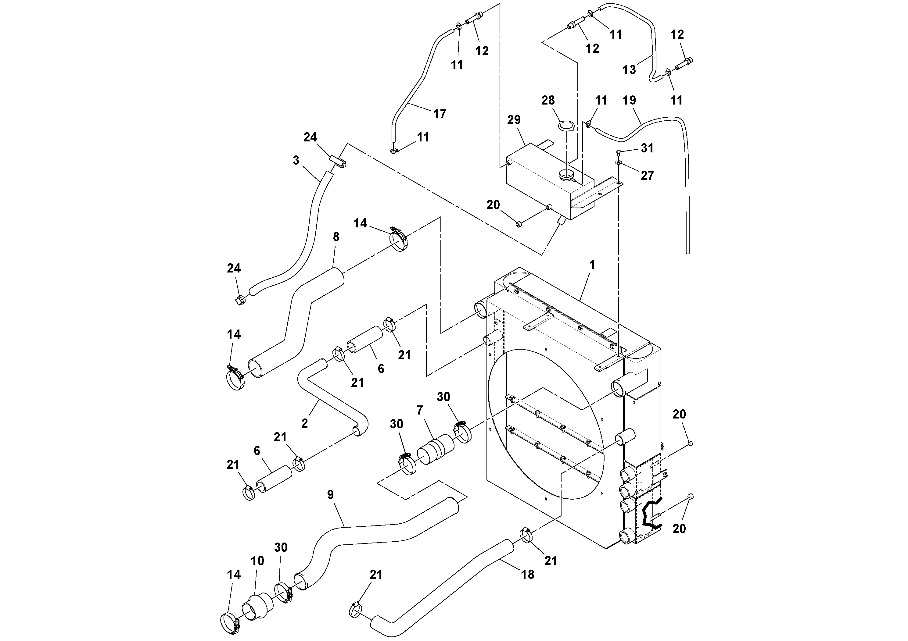
1

RM 43902972

Cooling unit

1шт.

10

RM 13184544

Соединитель

1шт.

11

RM 21904420

Hose clamp

1шт.

12

RM 21956511

Адаптер

1шт.

13

RM 59485078

Шланг

1шт.

14

RM 54680087

Зажим

1шт.

17

RM 59646075

Hose assembly

1шт.

18

RM 43845460

Шланг

1шт.

19

RM 13635248

Radiator hose

1шт.

2

RM 13470943

Шланг

1шт.

20

RM 95250890

Пробка (заглушка)

1шт.

24

RM 95139986

Зажим

1шт.

27

RM 96711833

Шайба

1шт.

27

RM 96711833

Шайба

1шт.

28

RM 13845292

Крышка радиатора

1шт.

29

RM 13845300

Water reservoir

1шт.

3

RM 19286285

Шланг

1шт.

30

RM 54680079

Зажим

1шт.

31

RM 95934550

Винт шестигранник

1шт.

31

RM 95934550

Винт шестигранник

1шт.

6

RM 13860507

Соединитель

1шт.

7

RM 13232202

Соединитель

1шт.

8

RM 13860622

Шланг

1шт.

9

RM 13860630

Шланг

1шт.

Выбрано товаров: 24