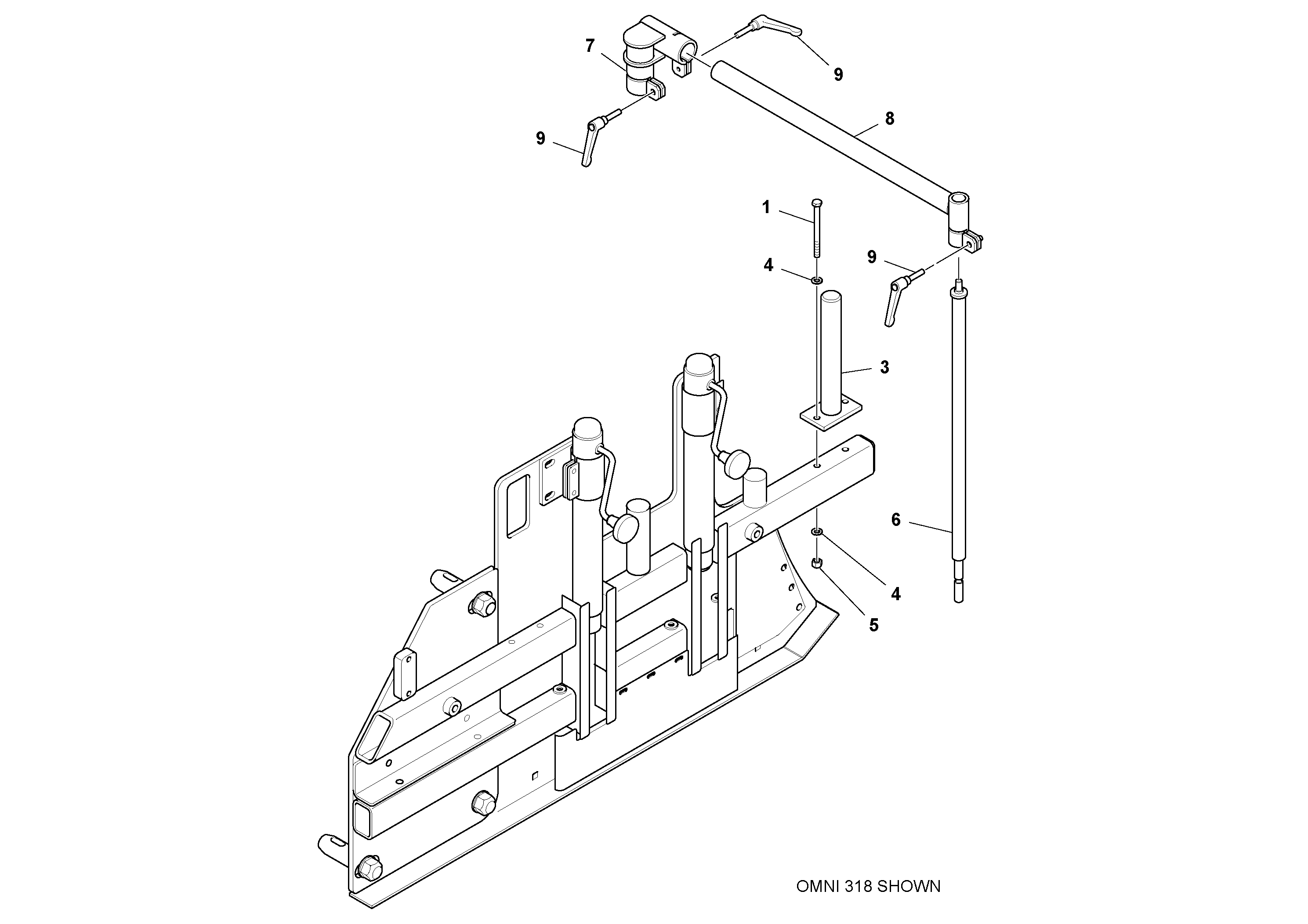
Запчасти Volvo PF6160 86418 Edger Guide Sensor Installation PAVER CONTROLS ATT. PAVER CONTROLS PF6110, PF6160, PF6170

Схема запчастей Volvo PF6160 - 86418 Edger Guide Sensor Installation PAVER CONTROLS ATT. PAVER CONTROLS PF6110, PF6160, PF6170
FIT
1:1
100%

Артикул

Название

Примечание

Количество

1

VOE 983394

Винт шестигранник

1шт.

1

VOE 983394

Винт шестигранник

1шт.

3

RM 21143904

Кронштейн

1шт.

4

RM 96714399

Плоская шайба

1шт.

4

RM 96714399

Плоская шайба

1шт.

5

RM 96704614

Гайка

1шт.

5

RM 96704614

Гайка

1шт.

6

RM 13431762

Трубка

1шт.

7

RM 20336939

Кронштейн

1шт.

8

RM 20336921

Tubular support

1шт.

9

RM 20960225

Handle

1шт.

Выбрано товаров: 11