Запчасти Volvo PF6170 88469 Mechanical control OMNI 1000 ATT. SCREEDS 3,0 - 9,0M PF6110, PF6160/PF6170

Схема запчастей Volvo PF6170 - 88469 Mechanical control OMNI 1000 ATT. SCREEDS 3,0 - 9,0M PF6110, PF6160/PF6170
FIT
1:1
100%

Артикул

Название

Примечание

Количество

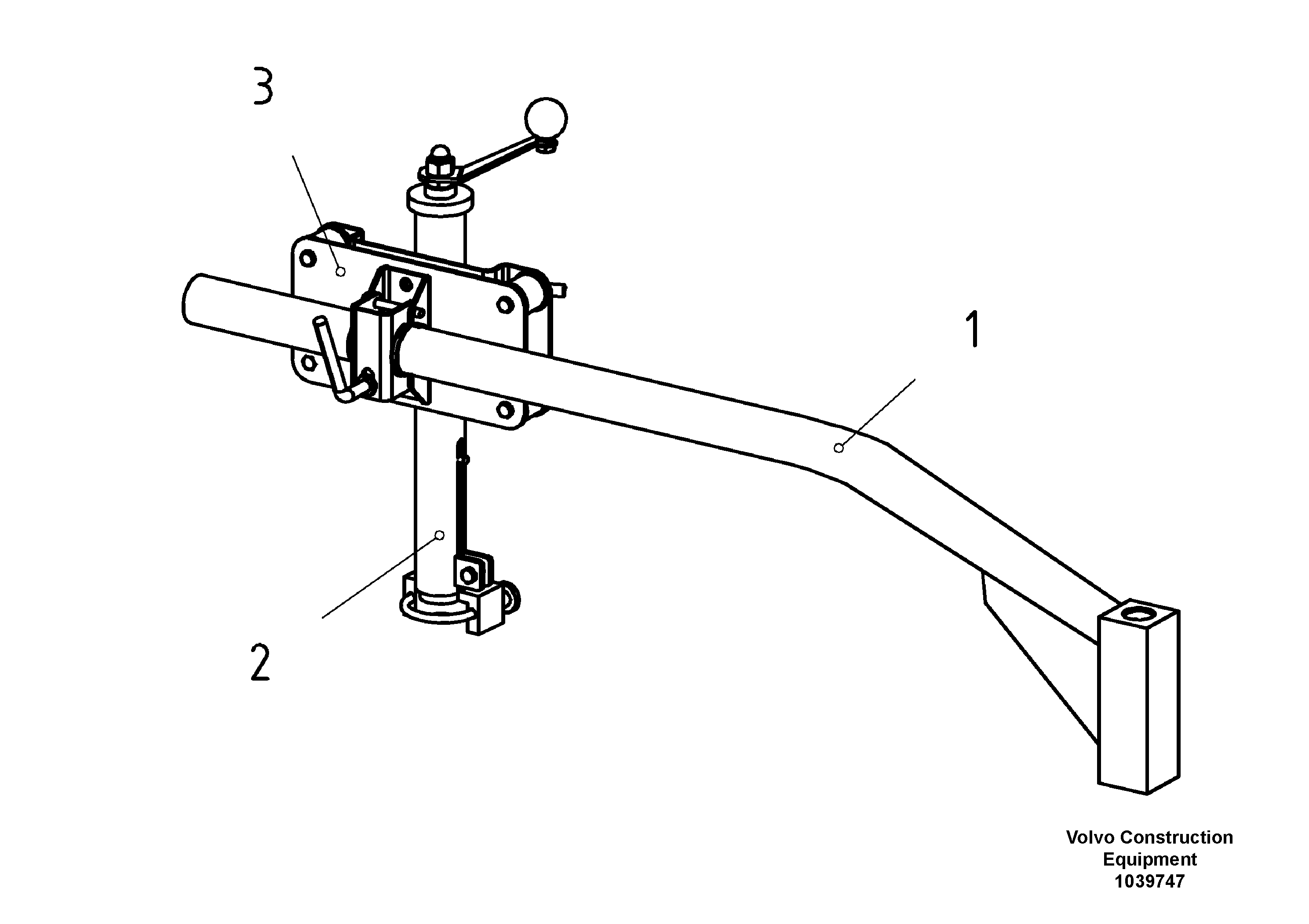
1

RM 54515747

Рукоять

1шт.

1

RM 54515747

Рукоять

1шт.

1

RM 54515788

Рукоять

1шт.

1

RM 54515788

Рукоять

1шт.

2

RM 56289176

Control mechanism

1шт.

2

RM 56289176

Control mechanism

1шт.

3

RM 54429535

Assembly tool

1шт.

3

RM 54429535

Assembly tool

1шт.

Выбрано товаров: 8