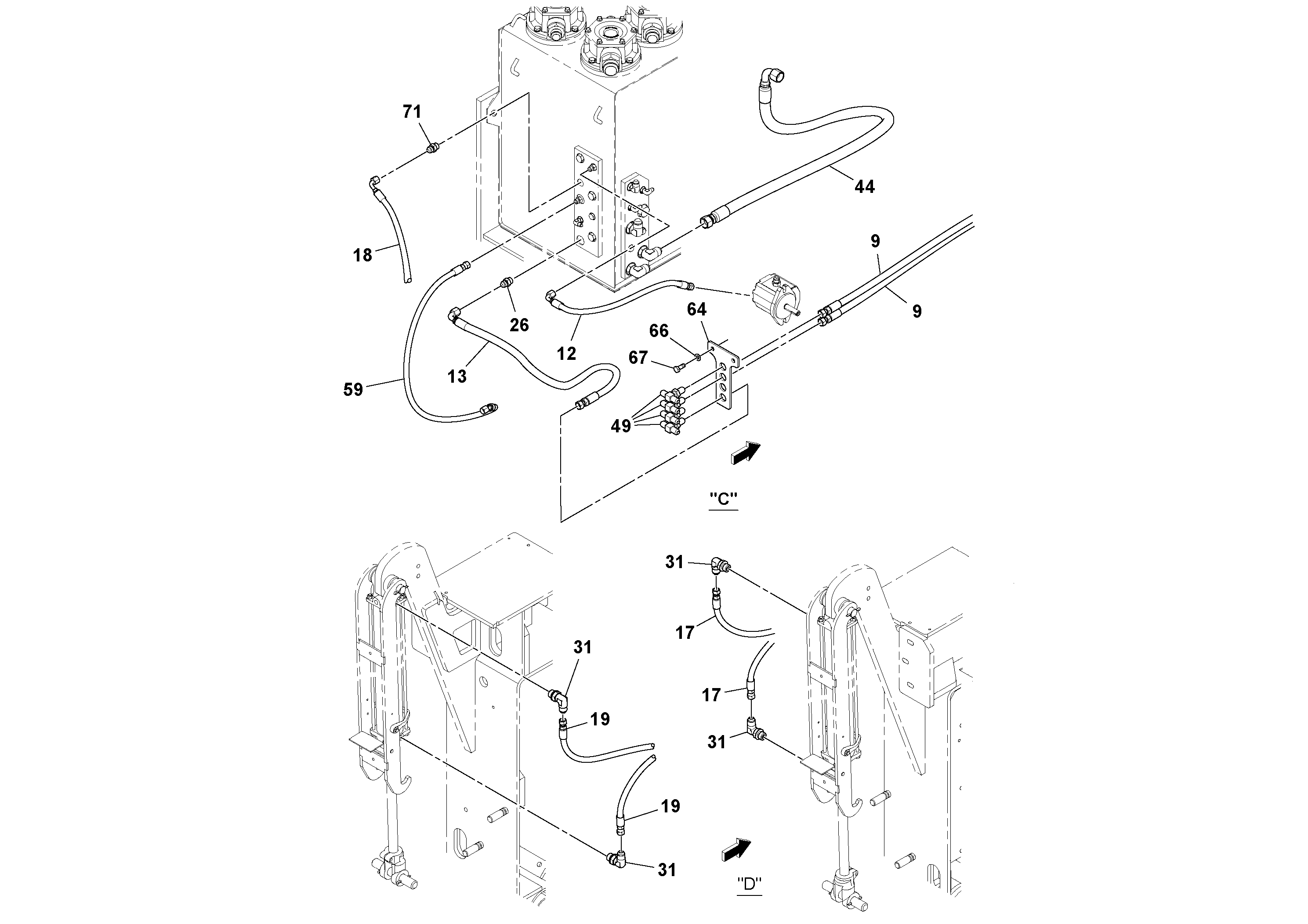
Запчасти Volvo PF6170 92970 Hydraulic Gear Pump Installation PF6160/PF6170

Схема запчастей Volvo PF6170 - 92970 Hydraulic Gear Pump Installation PF6160/PF6170
FIT
1:1
100%

Артикул

Название

Примечание

Количество

12

RM 13517909

Hose assembly

1шт.

12

RM 13517909

Hose assembly

1шт.

13

RM 13527619

Hose assembly

1шт.

17

RM 13498266

Hose assembly

1шт.

17

RM 13498266

Hose assembly

1шт.

18

RM 13849328

Hose assembly

1шт.

19

RM 13529300

Hose assembly

1шт.

19

RM 13529300

Hose assembly

1шт.

26

RM 95303368

Адаптер

1шт.

26

RM 95303368

Адаптер

1шт.

31

RM 95329975

Адаптер

1шт.

31

RM 95329975

Адаптер

1шт.

44

RM 13522941

Hose assembly

1шт.

44

RM 13522941

Hose assembly

1шт.

49

RM 51028710

Адаптер

1шт.

59

RM 19299577

Hose assembly

1шт.

59

RM 19299577

Hose assembly

1шт.

64

RM 19314426

Пластина

1шт.

66

RM 96741038

Шайба

1шт.

66

RM 96741038

Шайба

1шт.

67

RM 96702824

Винт шестигранник

1шт.

67

RM 96702824

Винт шестигранник

1шт.

71

RM 95356903

Адаптер

1шт.

71

RM 95356903

Адаптер

1шт.

9

RM 19313287

Hose assembly

1шт.

Выбрано товаров: 25