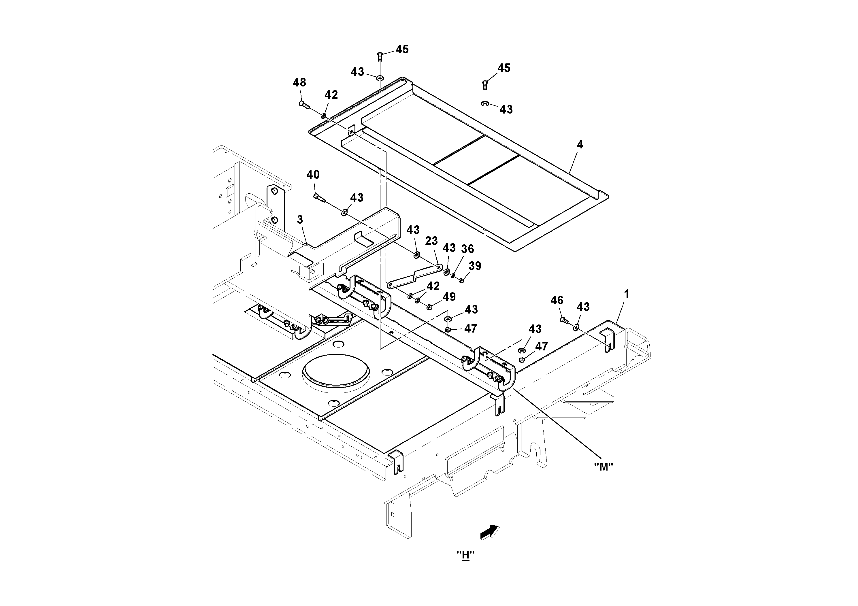
Запчасти Volvo PF6170 91589 Hood And Deck Installation PF6160/PF6170

Схема запчастей Volvo PF6170 - 91589 Hood And Deck Installation PF6160/PF6170
FIT
1:1
100%

Артикул

Название

Примечание

Количество

16

RM 43832831

Wrapper

1шт.

23

RM 43801950

Bar

1шт.

3

RM 46635447

Cross member

1шт.

36

RM 96741038

Шайба

1шт.

36

RM 96741038

Шайба

1шт.

39

RM 96704606

Lock nut

1шт.

39

RM 96704606

Lock nut

1шт.

40

RM 96745690

Болт

1шт.

42

RM 96741046

Плоская шайба

1шт.

42

RM 96741046

Плоская шайба

1шт.

43

RM 96711833

Шайба

1шт.

43

RM 96711833

Шайба

1шт.

45

RM 96744818

Болт

1шт.

45

RM 96744818

Болт

1шт.

46

RM 96702279

Винт шестигранник

1шт.

46

RM 96702279

Винт шестигранник

1шт.

47

RM 96704812

Hexagon nut

1шт.

47

RM 96704812

Hexagon nut

1шт.

48

RM 96704309

Винт шестигранник

1шт.

48

RM 96704309

Винт шестигранник

1шт.

49

RM 96704614

Гайка

1шт.

49

RM 96704614

Гайка

1шт.

Выбрано товаров: 22