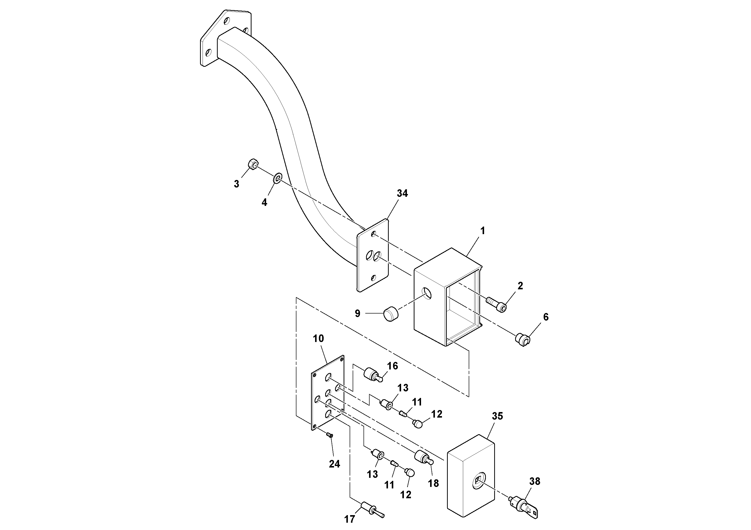
Запчасти Volvo PF6170 87792 Control Station Assembly PAVER CONTROLS ATT. PAVER CONTROLS PF6110, PF6160, PF6170

Схема запчастей Volvo PF6170 - 87792 Control Station Assembly PAVER CONTROLS ATT. PAVER CONTROLS PF6110, PF6160, PF6170
FIT
1:1
100%

Артикул

Название

Примечание

Количество

RM 21143136

Крышка

1шт.

RM 20944997

Lock

1шт.

RM 43894492

Пластина

1шт.

RM 20197869

Insert

1шт.

RM 43895937

Control panel

1шт.

RM 43894567

Control panel

RH

1шт.

RM 20197869

Insert

1шт.

1

RM 43940576

Control Box

1шт.

10

RM 43894476

Пластина

LH

1шт.

11

RM 20933743

Bulb

1шт.

12

RM 20933727

Lens

1шт.

13

RM 20933735

Socket

1шт.

14

RM 20303491

Болт

1шт.

15

RM 20302477

Latch

1шт.

16

RM 20934048

Переключатель

1шт.

17

RM 20934105

Переключатель

1шт.

18

RM 20941795

Переключатель

1шт.

19

RM 20934196

Capacitor

1шт.

2

RM 96715040

Винт шестигранник (торцевой ключ)

1шт.

20

RM 15633100

Cable

YELLOW

1шт.

21

RM 15633126

Cable

BLACK

1шт.

22

RM 20189890

Cable

1шт.

23

RM 20940029

Terminal

1шт.

24

RM 20257259

Болт

1шт.

25

RM 20326096

Cable

1шт.

26

RM 20934089

Диод

1шт.

27

RM 95932695

Стопорная шайба (кольцо)

1шт.

28

RM 20183273

Terminal block

1шт.

29

RM 95996492

Болт

1шт.

3

RM 96704812

Hexagon nut

1шт.

3

RM 96704812

Hexagon nut

1шт.

30

RM 20165411

Болт

1шт.

31

RM 20183273

Terminal block

1шт.

34

RM 43926906

Control box

1шт.

35

RM 43940584

Крышка

BEIGE COLORED

1шт.

36

RM 13809371

Fuse holder

1шт.

37

RM 20353355

Breaker

1шт.

38

RM 20945010

Lock

1шт.

4

RM 96714399

Плоская шайба

1шт.

4

RM 96714399

Плоская шайба

1шт.

5

RM 20940599

Heat-shrinkable tubing

1шт.

6

RM 20934063

Втулка

1шт.

6

RM 20934063

Втулка

1шт.

7

RM 20343257

Cable

1шт.

8

RM 20343265

Соединитель

1шт.

9

RM 20934139

Socket

1шт.

9

RM 20934139

Socket

1шт.

Выбрано товаров: 0