Запчасти Volvo PF6170 87620 Heater PF6160/PF6170

Схема запчастей Volvo PF6170 - 87620 Heater PF6160/PF6170
FIT
1:1
100%

Артикул

Название

Примечание

Количество

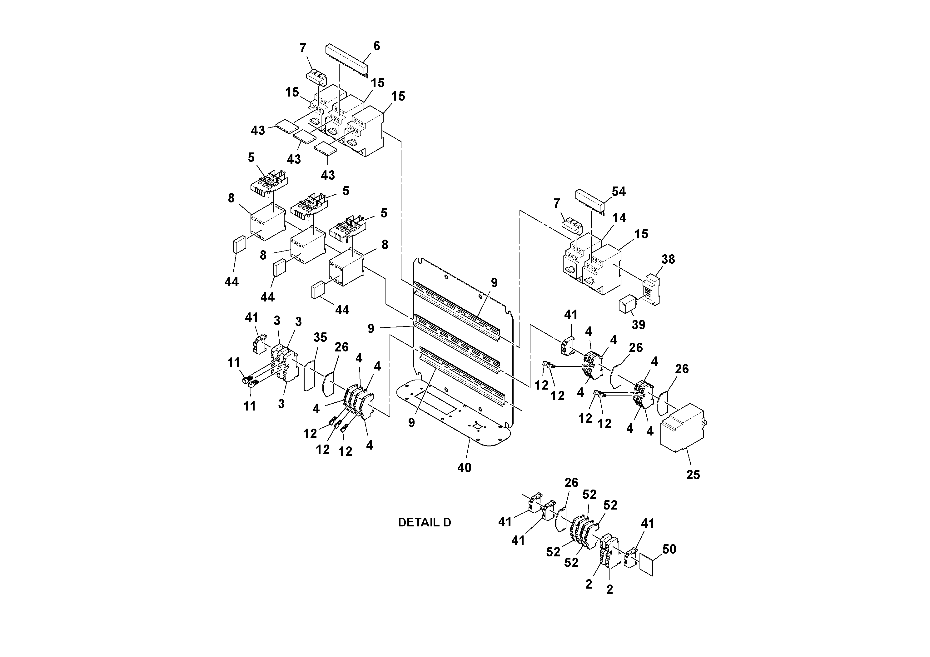
11

RM 87980884

Bridge

1шт.

11

RM 87980884

Bridge

1шт.

12

RM 13833264

Bridge

1шт.

14

RM 19331966

Breaker

1шт.

15

RM 19331958

Breaker

1шт.

15

RM 19331958

Breaker

1шт.

19

RM 43820521

Eprom,ver 4.19

1шт.

2

RM 87980926

Зажим

1шт.

2

RM 87980926

Зажим

1шт.

22

RM 56258114

Circuit board

1шт.

22

RM 56258114

Circuit board

1шт.

25

RM 19331297

Реле

1шт.

26

RM 87980892

End plate

1шт.

26

RM 87980892

End plate

1шт.

3

RM 87980934

Зажим

1шт.

3

RM 87980934

Зажим

1шт.

38

RM 14201008

Фиттинг

1шт.

38

RM 14201008

Фиттинг

1шт.

39

RM 43809870

Реле

1шт.

39

RM 43809870

Реле

1шт.

4

RM 87982195

Terminal

1шт.

4

RM 87982195

Terminal

1шт.

40

RM 19331271

Protecting casing

1шт.

41

RM 13967591

End limiter

1шт.

41

RM 13967591

End limiter

1шт.

43

RM 43937937

Переключатель

1шт.

43

RM 43937937

Переключатель

1шт.

44

RM 54522719

Диод

1шт.

44

RM 54522719

Диод

1шт.

5

RM 43820190

Contact

1шт.

50

RM 43809359

Voltage regulator

1шт.

50

RM 43809359

Voltage regulator

1шт.

52

RM 22050884

Terminal block

1шт.

52

RM 22050884

Terminal block

1шт.

54

RM 43938216

Соединитель

1шт.

54

RM 43938216

Соединитель

1шт.

6

RM 43808849

3 Phase Busbar

1шт.

7

RM 43808856

3 Phase Feeder

1шт.

8

RM 43808864

Contact

1шт.

9

RM 43821644

35 mm Din Rail 2

1шт.

Выбрано товаров: 40