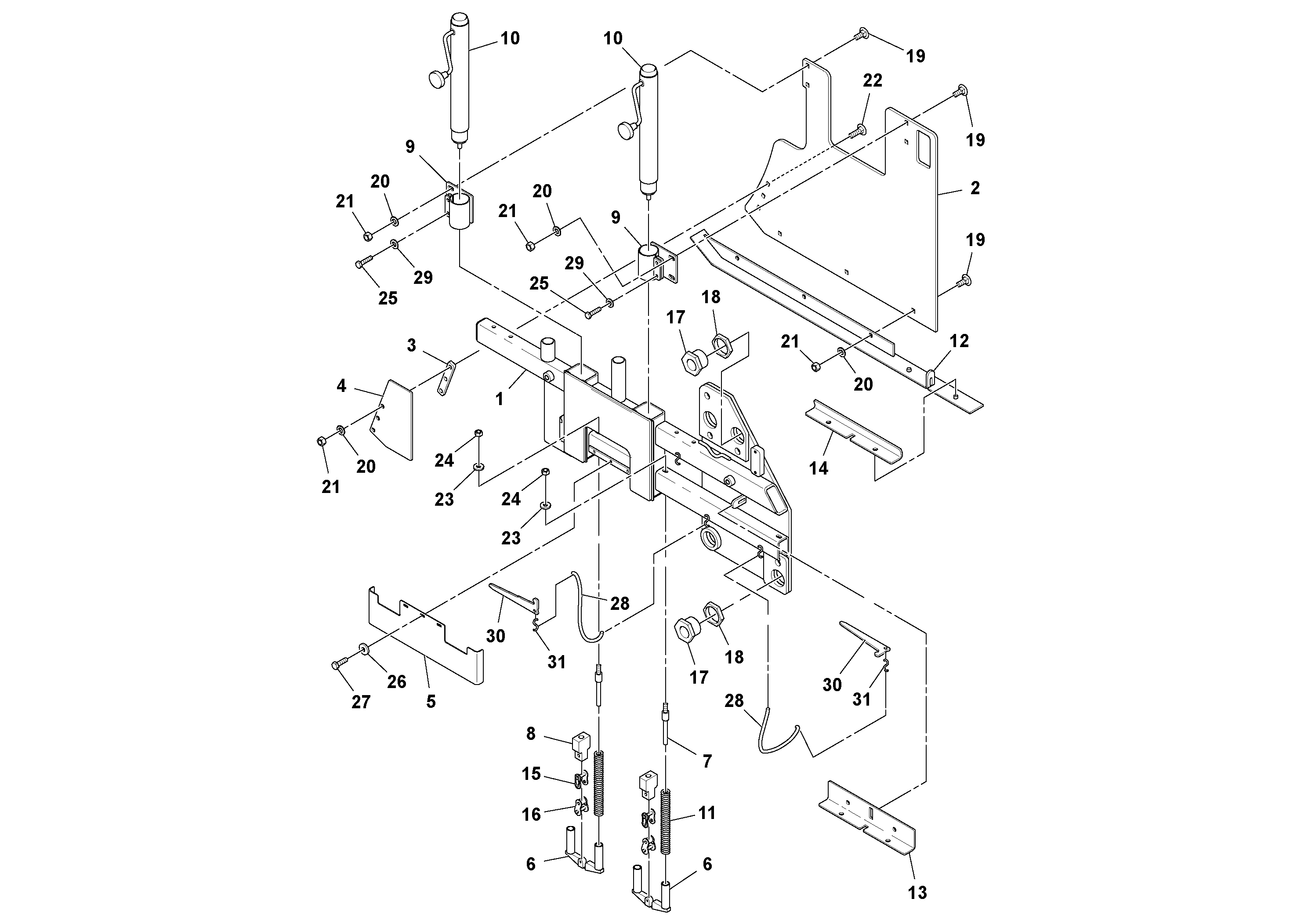
Запчасти Volvo OMNI 318 SCREED PF6110, PF6160, PF6170 102612 Edger Guide Assembly

Схема запчастей Volvo OMNI 318 SCREED PF6110, PF6160, PF6170 - 102612 Edger Guide Assembly
FIT
1:1
100%

Артикул

Название

Примечание

Количество

RM 20938635

S-hook

1шт.

RM 20938635

S-hook

1шт.

RM 20938494

Chain

1шт.

1

RM 43860527

Кронштейн

LH

1шт.

10

RM 20221503

Jack

1шт.

10

RM 20221503

Jack

1шт.

11

RM 13399795

Пружина

1шт.

12

RM 43822485

Пластина

LH

1шт.

13

RM 43860550

Angle bar

1шт.

14

RM 43860584

Angle bracket

1шт.

15

RM 13501697

Тяга поворотная

1шт.

16

RM 13501689

Тяга поворотная

1шт.

17

RM 20222949

Гайка

1шт.

17

RM 20222949

Гайка

1шт.

18

RM 20222956

Гайка

1шт.

18

RM 20222956

Гайка

1шт.

19

RM 96746920

Болт

1шт.

2

RM 13840848

Edge plate

1шт.

20

RM 96738596

Шайба

1шт.

21

RM 96719174

Hexagon nut

1шт.

21

RM 96719174

Hexagon nut

1шт.

22

RM 96746938

Болт

1шт.

23

RM 96711833

Шайба

1шт.

23

RM 96711833

Шайба

1шт.

24

RM 96704812

Hexagon nut

1шт.

24

RM 96704812

Hexagon nut

1шт.

25

RM 96701461

Винт шестигранник

1шт.

25

RM 96701461

Винт шестигранник

1шт.

26

RM 96721121

Шайба

1шт.

26

RM 96721121

Шайба

1шт.

27

RM 96704564

Винт шестигранник

1шт.

27

RM 96704564

Винт шестигранник

1шт.

28

RM 15502289

Chain

1шт.

28

RM 15502289

Chain

1шт.

29

RM 96741053

Шайба

1шт.

29

RM 96741053

Шайба

1шт.

3

RM 13459649

Вставка

1шт.

30

RM 20987244

Wedge

1шт.

30

RM 20987244

Wedge

1шт.

31

RM 20938635

S-hook

1шт.

31

RM 20938635

S-hook

1шт.

4

RM 13459623

Пластина

1шт.

5

RM 13459961

Крышка

1шт.

6

RM 13459904

Spring support

1шт.

7

RM 13459607

Spring pin

1шт.

8

RM 13399852

Joint

1шт.

9

RM 13459797

Jack bracket

1шт.

Выбрано товаров: 47