Запчасти Volvo OMNI IIIE 60769 Screed Mounting Kit

Схема запчастей Volvo OMNI IIIE - 60769 Screed Mounting Kit
FIT
1:1
100%

Артикул

Название

Примечание

Количество

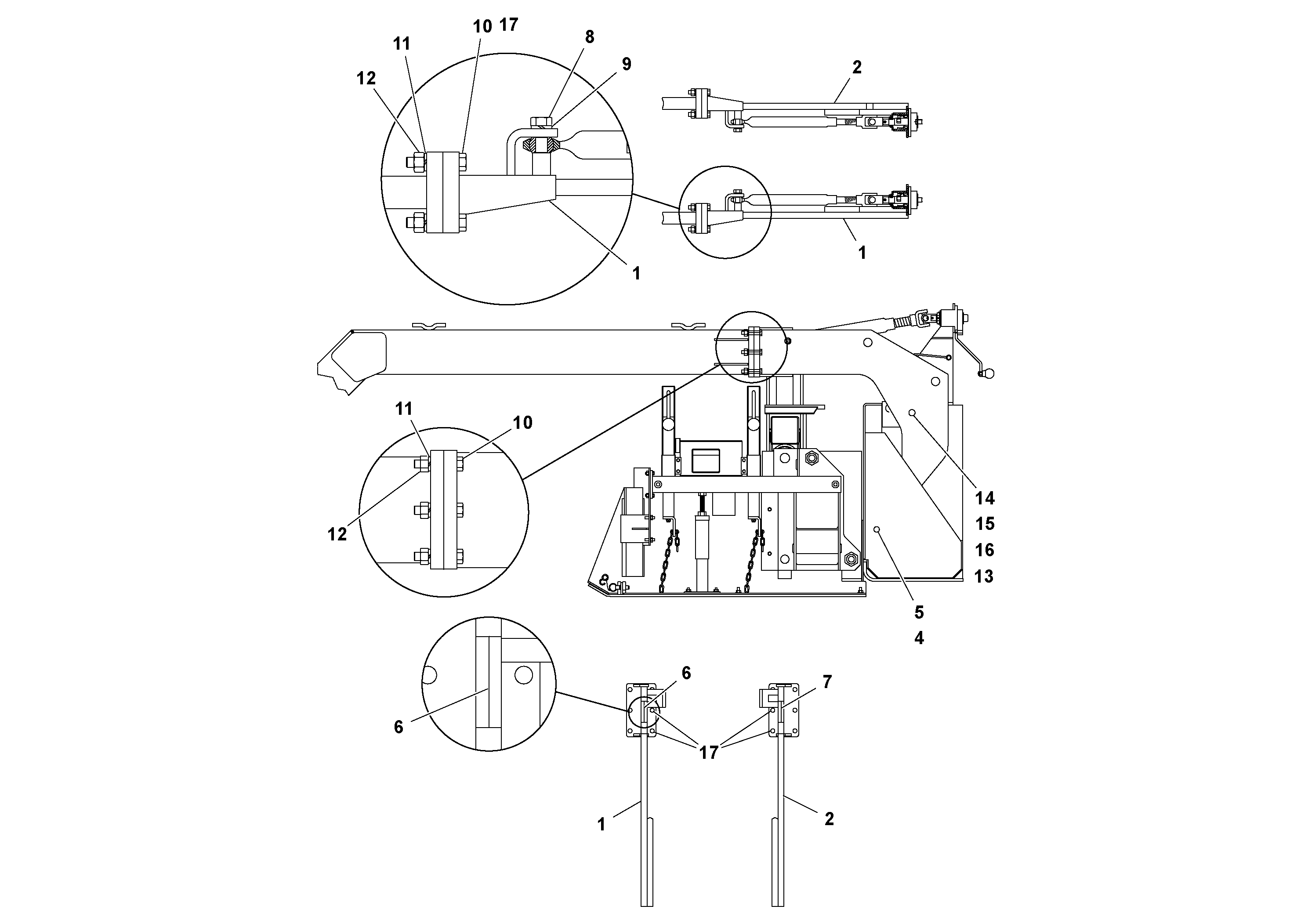
1

RM 18007872

Side arm

LH, REAR SIDE

1шт.

10

RM 95919866

Болт

1шт.

11

RM 95931242

Шайба

1шт.

11

RM 95931242

Шайба

1шт.

12

RM 95922910

Hexagon nut

1шт.

12

RM 95922910

Hexagon nut

1шт.

13

RM 20220646

Вставка

1шт.

14

RM 95995262

Болт

1шт.

14

RM 95995262

Болт

1шт.

15

RM 95922159

Шайба

1шт.

15

RM 95922159

Шайба

1шт.

16

RM 95471165

Lock nut

1шт.

17

RM 95919882

Болт

1шт.

17

RM 95919882

Болт

1шт.

19

RM 20191888

Втулка

1шт.

2

RM 18007880

Side arm

RH, REAR SIDE

1шт.

3

RM 13438866

Kit

1шт.

4

RM 20220745

Палец

1шт.

5

RM 95207593

Retaining ring

1шт.

6

RM 20956207

Decal

LH, THICKNESS

1шт.

7

RM 20956215

Decal

RH, THICKNESS

1шт.

8

RM 95920054

Болт

1шт.

8

RM 95920054

Болт

1шт.

9

RM 95931275

Стопорная шайба (кольцо)

1шт.

Выбрано товаров: 24