Качественные детали и логистика
Оригинальные и аналоговые запчасти с доставкой по России, Казахстану и Беларуси
©2022 PartSell ООО "Система" ИНН 2463123282 ОГРН 1212400004838
Центральный офис: г. Красноярск, Академика Киренского, д.87, пом.4
Телефон: 8 (800) 777-65-74 Email: zakaz@partsell.ru
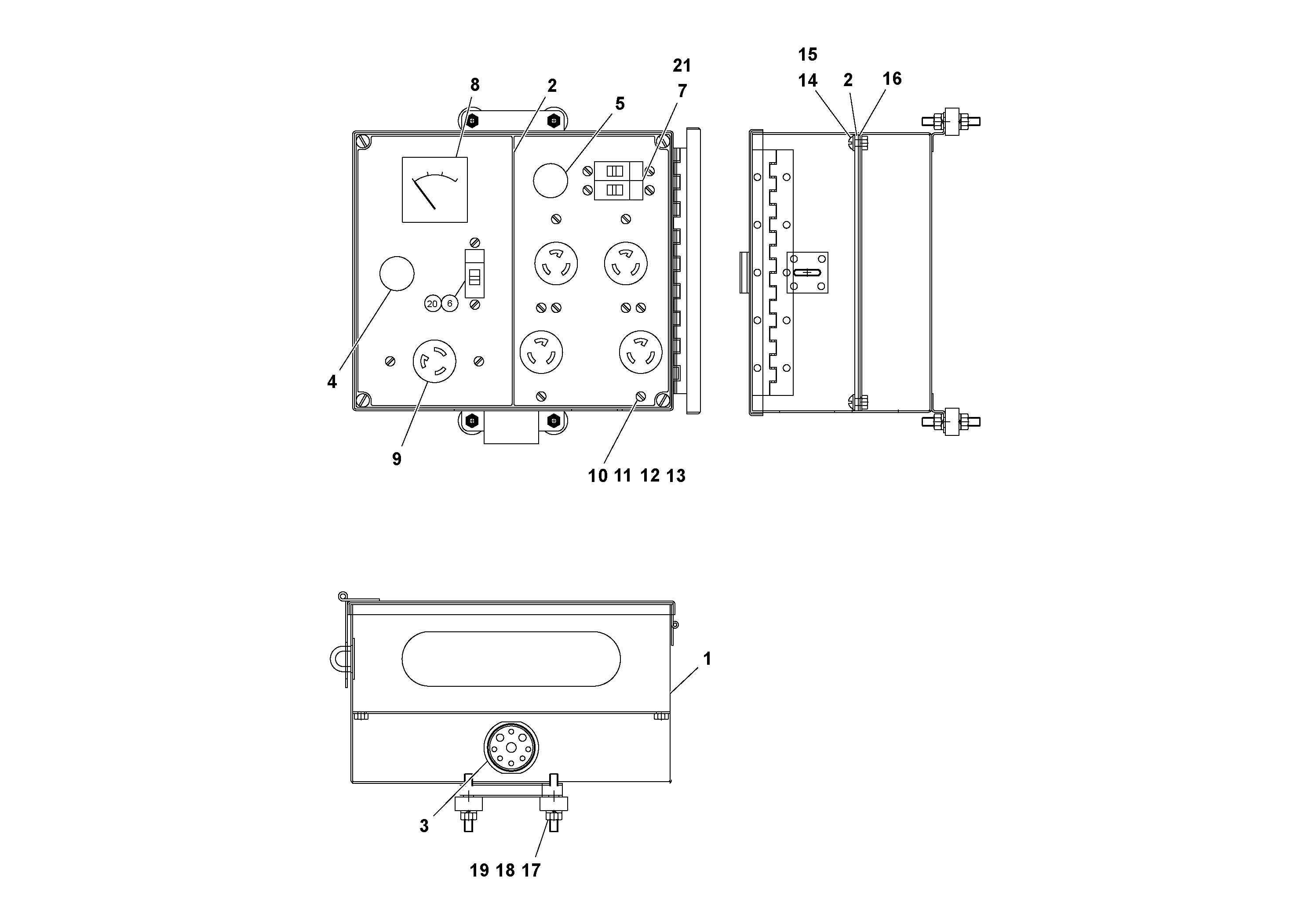
47561 Power Outlet 240V Electrical
№
Артикул
Название
Примечание
Количество
1
RM 43894831
Power outlet
1шт.
7
RM 20313474
Cable harness
GENERATOR
8
RM 20313771
Control box
9
RM 20933685
Cable tie
Выбрано товаров: 0