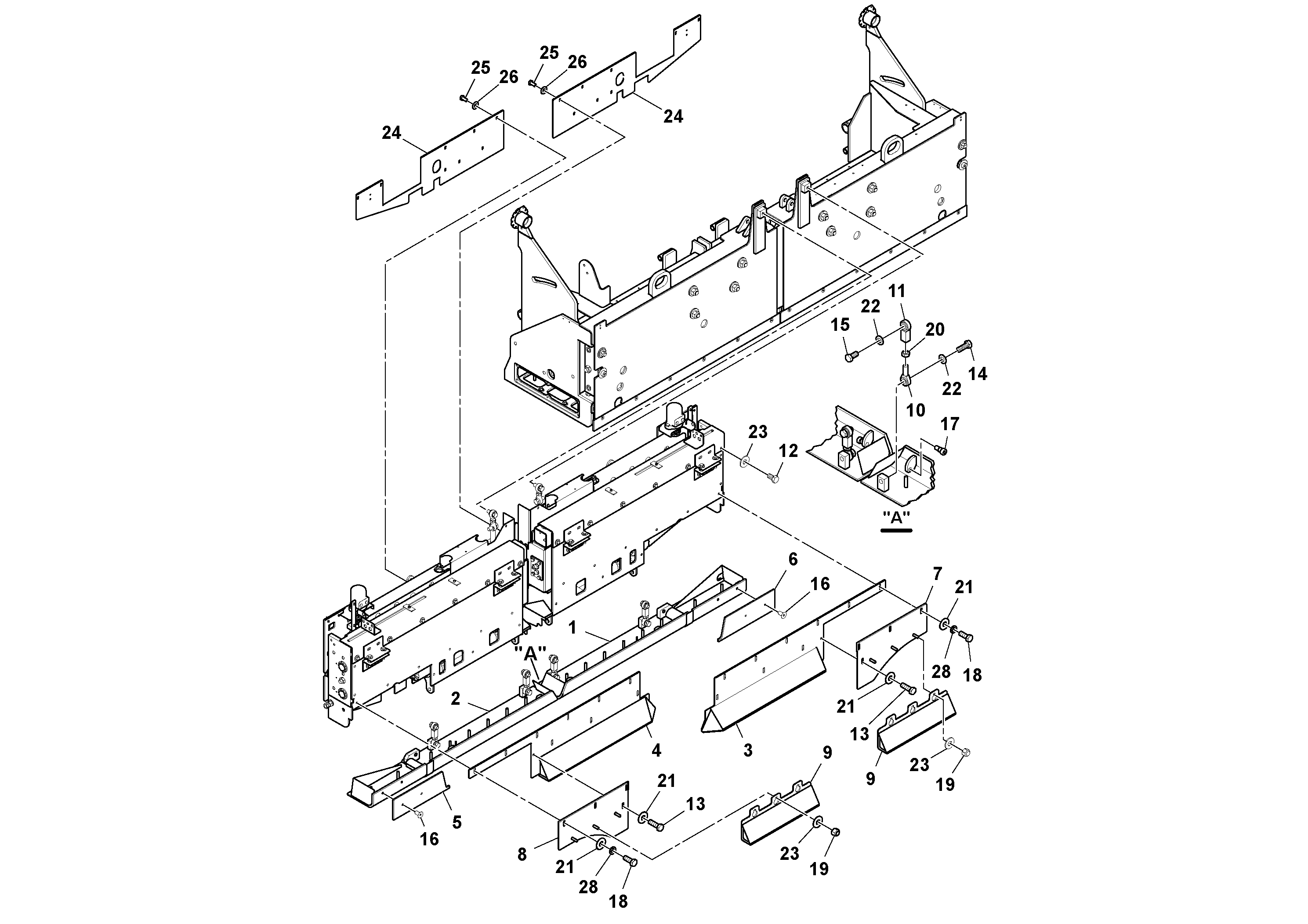
Запчасти Volvo Ultimat 76682 Berm Attachment ULTIMAT 200

Схема запчастей Volvo Ultimat - 76682 Berm Attachment ULTIMAT 200
FIT
1:1
100%

Артикул

Название

Примечание

Количество

1

RM 46639613

Screed Plate

1шт.

10

RM 20327623

Rod end

1шт.

11

RM 20340204

Rod end

1шт.

12

RM 95934634

Болт

1шт.

12

RM 95934634

Болт

1шт.

13

RM 95920708

Винт шестигранник

1шт.

13

RM 95920708

Винт шестигранник

1шт.

14

RM 95934378

Винт шестигранник

1шт.

14

RM 95934378

Винт шестигранник

1шт.

15

RM 95654307

Hexagon screw

1шт.

15

RM 95654307

Винт шестигранник

1шт.

16

RM 95751400

Болт

1шт.

17

RM 20338026

Shoulder screw

1шт.

18

RM 95934659

Винт шестигранник

1шт.

18

RM 95934659

Винт шестигранник

1шт.

19

RM 95943080

Lock nut

1шт.

19

RM 95943080

Lock nut

1шт.

2

RM 46639639

Screed Plate

1шт.

20

RM 95923108

Hexagon nut

1шт.

21

RM 95922258

Шайба

1шт.

21

RM 95922258

Шайба

1шт.

22

RM 95922423

Шайба

1шт.

22

RM 95922423

Шайба

1шт.

23

RM 95997755

Плоская шайба

1шт.

24

RM 43899483

Крышка

1шт.

25

RM 95928990

Винт шестигранник

1шт.

26

RM 95922225

Шайба

1шт.

26

RM 95922225

Шайба

1шт.

28

RM 95931226

Стопорная шайба (кольцо)

1шт.

28

RM 95931226

Стопорная шайба (кольцо)

1шт.

3

RM 43977040

Striker plate

LH

1шт.

4

RM 43976968

Striker plate

RH

1шт.

5

RM 20354130

Пластина

1шт.

6

RM 15558489

Пластина

1шт.

7

RM 43977966

Mounting plate

LH

1шт.

8

RM 43977974

Mounting plate

RH

1шт.

9

RM 20330965

Пластина

1шт.

Выбрано товаров: 37