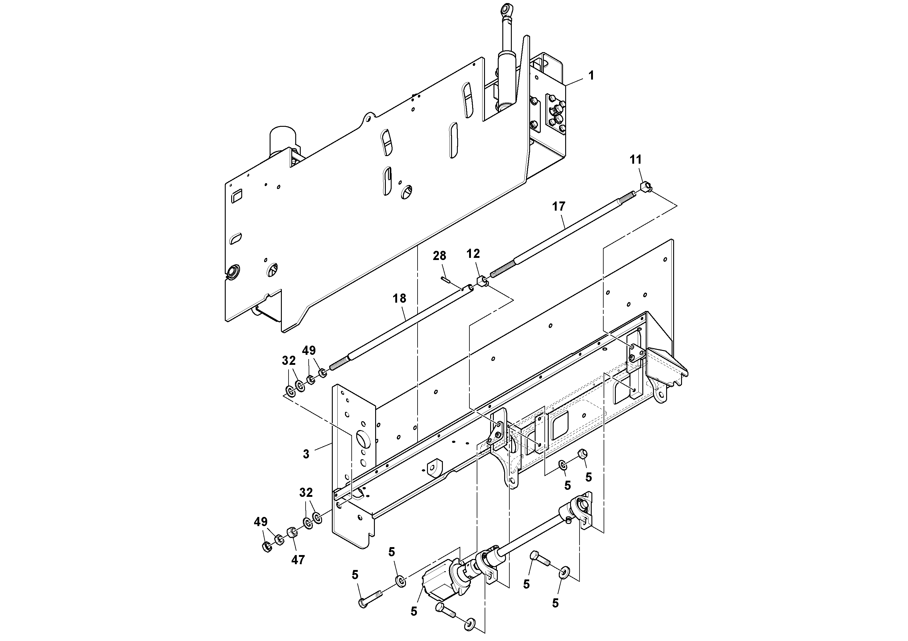
Запчасти Volvo Ultimat 80565 Extension Assembly ULTIMAT 200

Схема запчастей Volvo Ultimat - 80565 Extension Assembly ULTIMAT 200
FIT
1:1
100%

Артикул

Название

Примечание

Количество

11

RM 20313292

Корпус клапана

1шт.

12

RM 20313318

Pivoting stop

1шт.

17

RM 15557101

Connecting rod

RH

1шт.

18

RM 15557028

Щуп

LH

1шт.

28

RM 95998613

Палец

1шт.

3

RM 43897495

Frame

1шт.

32

RM 20923033

Втулка

1шт.

32

RM 20923033

Втулка

1шт.

47

RM 20317350

Lock nut

1шт.

49

RM 95923108

Hexagon nut

1шт.

Выбрано товаров: 10