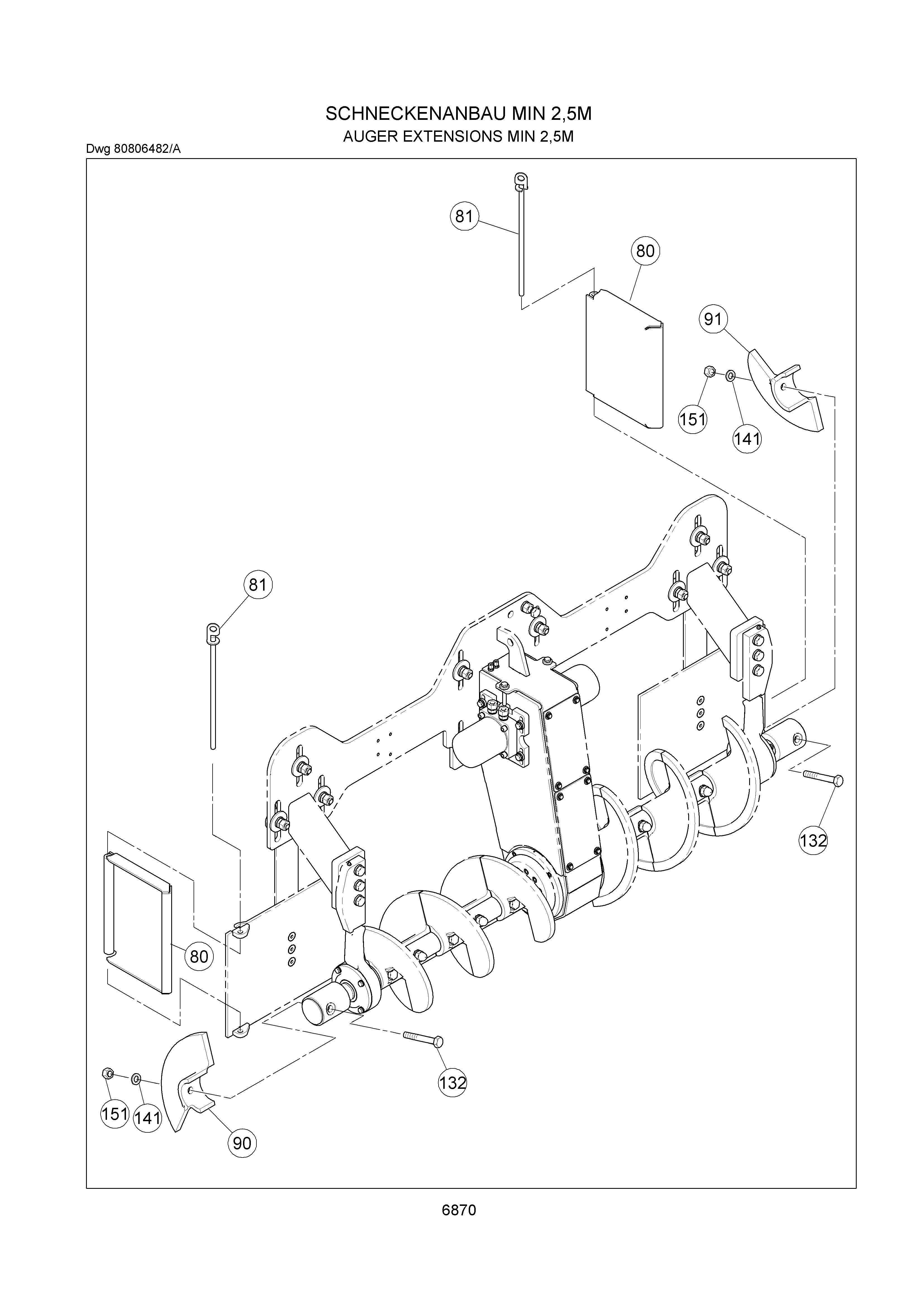
Запчасти Volvo VB 78 ETC 80562 Auger extensions VB 78 ETC ATT. SCREED 2,5 - 9,0 M ABG5770, ABG5870, ABG6870

Схема запчастей Volvo VB 78 ETC - 80562 Auger extensions VB 78 ETC ATT. SCREED 2,5 - 9,0 M ABG5770, ABG5870, ABG6870
FIT
1:1
100%

Артикул

Название

Примечание

Количество

132

RM 96721774

Винт шестигранник

1шт.

141

RM 14261036

Стопорная шайба (кольцо)

1шт.

141

RM 14261036

Стопорная шайба (кольцо)

1шт.

151

RM 96720925

Hexagon nut

1шт.

151

RM 96720925

Hexagon nut

1шт.

80

RM 80841018

Guide Plate

S/N 19950 -

1шт.

80

RM 80805427

Guide Plate

S/N 51 - 19949

1шт.

81

RM 80808090

Locking Pin

1шт.

90

RM 58833146

Auger

LH, 140 DEG

1шт.

91

RM 58833153

Auger

RH, 140 DEG

1шт.

Выбрано товаров: 0