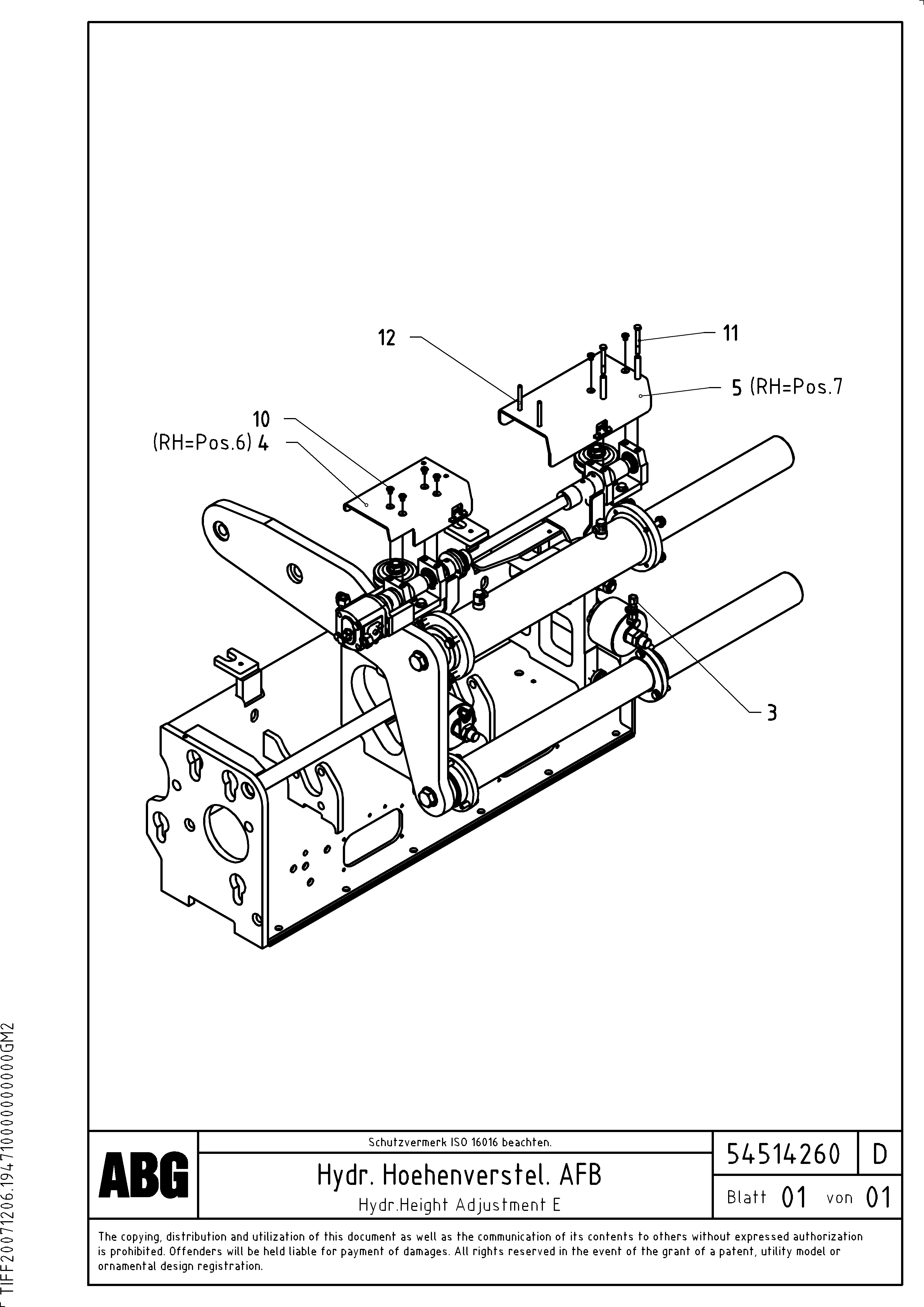
Запчасти Volvo VDT-V 78 GTC 72512 Hydr. height adjustment for extandable screed VDT-V 78 GTC ATT. SCREEDS 2,5 - 9,0M AGB8820, AGB8820B

Схема запчастей Volvo VDT-V 78 GTC - 72512 Hydr. height adjustment for extandable screed VDT-V 78 GTC ATT. SCREEDS 2,5 - 9,0M AGB8820, AGB8820B
FIT
1:1
100%

Артикул

Название

Примечание

Количество

1

RM 14320097

Height Adjuster

LH

1шт.

10

RM 96712906

Болт

1шт.

11

RM 96713086

Винт шестигранник

1шт.

11

RM 96713086

Винт шестигранник

1шт.

12

RM 96713268

Винт шестигранник

S/N 18028 -

1шт.

12

RM 96713268

Винт шестигранник

S/N 18028 -

1шт.

12

RM 96713276

Винт шестигранник

S/N 17757 - 18027

1шт.

2

RM 14320105

Height Adjuster

RH

1шт.

3

RM 14324768

Hose assembly

1шт.

4

RM 54495866

Крышка

LH

1шт.

5

RM 54495882

Крышка

LH

1шт.

6

RM 54495874

Крышка

RH

1шт.

7

RM 54495890

Крышка

RH

1шт.

8

RM 87904249

Adjusting device

S/N 51 - 12142

1шт.

Выбрано товаров: 14