Запчасти Volvo VDT-V 88 GTC 79790 Mechanical screed holder for extandable screed VDT-V 88 GTC ATT. SCREEDS 3,0 - 9,0M ABG9820

Схема запчастей Volvo VDT-V 88 GTC - 79790 Mechanical screed holder for extandable screed VDT-V 88 GTC ATT. SCREEDS 3,0 - 9,0M ABG9820
FIT
1:1
100%

Артикул

Название

Примечание

Количество

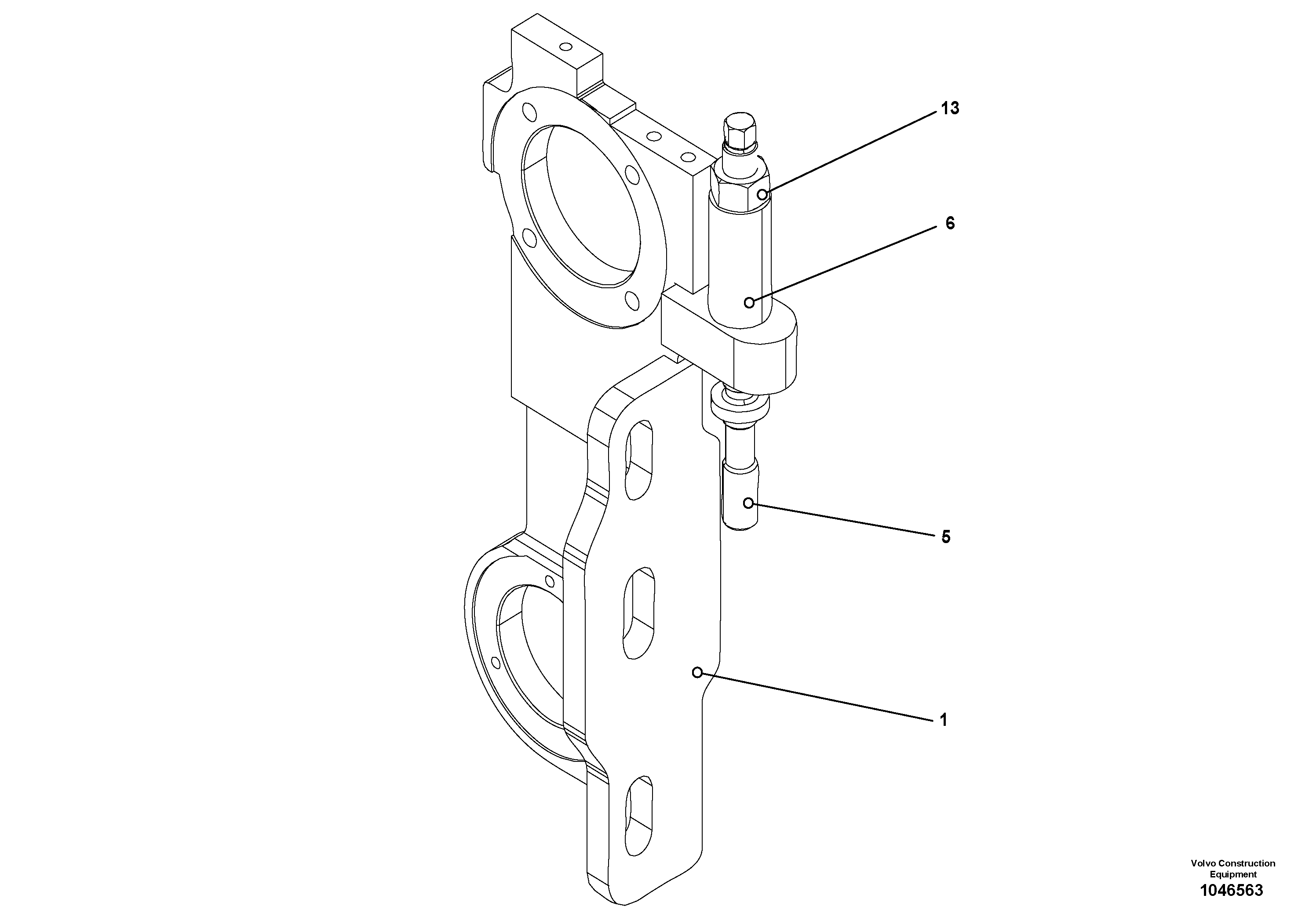
1

RM 56294432

Suspension Bar

RH

1шт.

1

RM 56294424

Suspension Bar

RH

1шт.

13

RM 96719133

Hexagon Nut

1шт.

5

RM 80899982

Spindle

S/N 23166 -

1шт.

5

RM 56294721

Spindle

S/N 51 - 13038

1шт.

5

RM 87985867

Spindle

S/N 13039 - 23165

1шт.

6

RM 56294747

Втулка (распорная)

1шт.

Выбрано товаров: 7