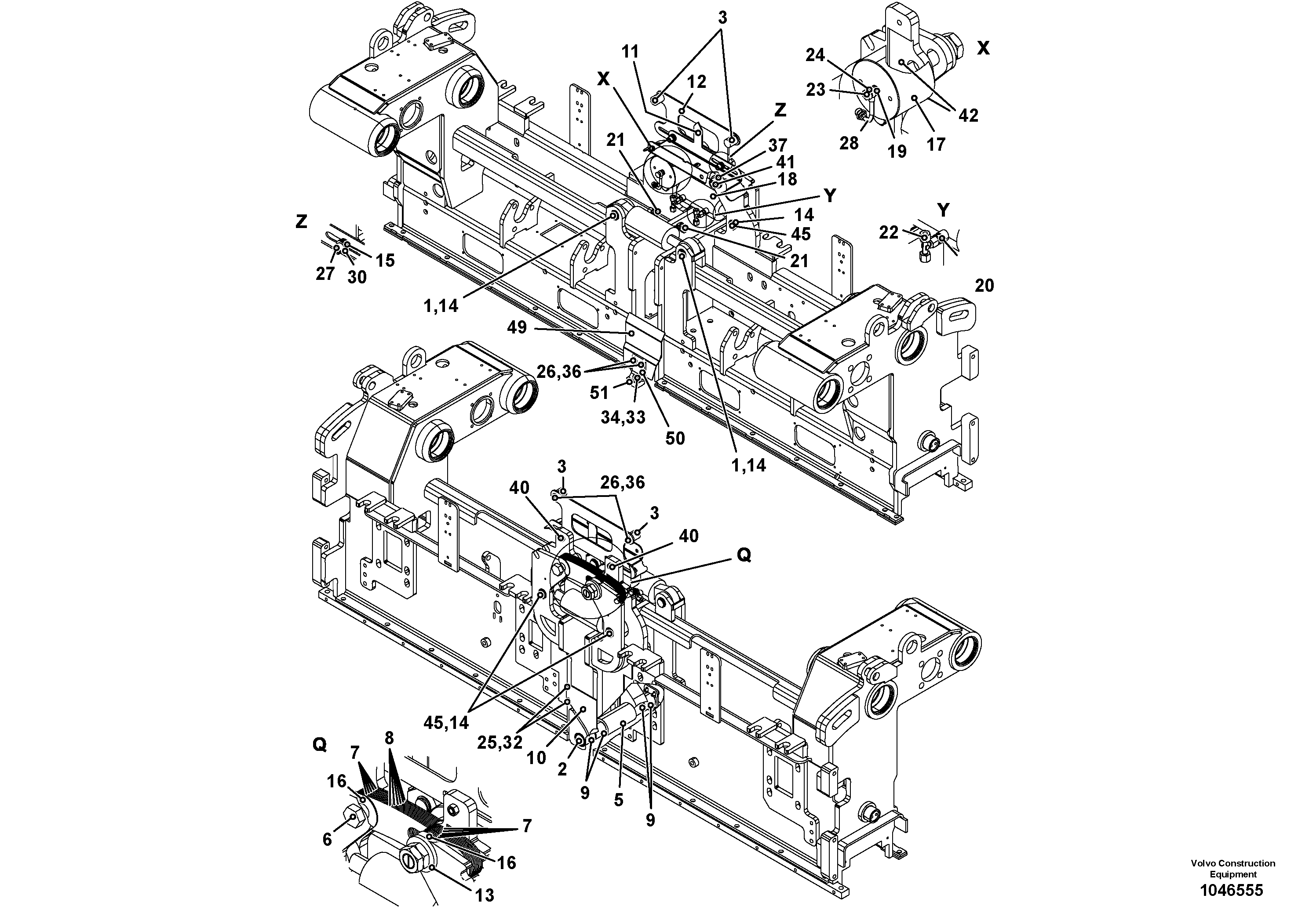
Запчасти Volvo VDT-V 88 GTC 78648 Crown control for basic screed VDT-V 88 ETC SCREEDS 3,0 - 9,0M ABG9820

Схема запчастей Volvo VDT-V 88 GTC - 78648 Crown control for basic screed VDT-V 88 ETC SCREEDS 3,0 - 9,0M ABG9820
FIT
1:1
100%

Артикул

Название

Примечание

Количество

1

RM 56295116

Болт

S/N 13951 -

1шт.

1

RM 56295116

Болт

S/N 13951 - 13950

1шт.

10

RM 54413604

Пластина

1шт.

11

RM 54492277

Indicator Plate

S/N 12957 -

1шт.

11

RM 54492277

Indicator Plate

S/N 51 - 12956

1шт.

12

RM 56293871

Кронштейн

S/N 12957 -

1шт.

12

RM 56293871

Кронштейн

S/N - 12956

1шт.

13

RM 54505599

Шайба

1шт.

14

RM 96703590

Retaining ring

1шт.

14

RM 96703590

Retaining ring

1шт.

15

RM 14108344

Шайба пружинная

1шт.

15

RM 14108344

Шайба пружинная

1шт.

16

RM 87900296

Шайба

1шт.

17

RM 54586995

Sealing Kit

1шт.

17

RM 56296957

Brake Cylinder

1шт.

18

RM 54587001

Sealing Kit

1шт.

18

RM 87985362

Гидроцилиндр

S/N 13481 -

1шт.

18

RM 56296981

Гидроцилиндр

S/N 51 - 13480

1шт.

18

RM 80471568

Подшипник

1шт.

19

RM 13943071

Sealing

S/N 13654 -

1шт.

2

RM 56294887

Вал

1шт.

20

RM 58813932

Шпилька

1шт.

20

RM 58813932

Шпилька

1шт.

21

RM 58856493

Фиттинг

S/N 51 - 12653

1шт.

21

RM 58856493

Фиттинг

S/N 51 - 12653

1шт.

21

RM 58856493

Фиттинг

S/N 12654 -

1шт.

21

RM 58856493

Фиттинг

S/N 12654 -

1шт.

22

RM 14090351

Фиттинг

S/N 51 - 19043

1шт.

22

RM 14090351

Фиттинг

S/N 51 - 19043

1шт.

22

RM 14090351

Фиттинг

1шт.

22

RM 14090351

Фиттинг

1шт.

22

RM 80811599

Coupling Piece

S/N 19044 -

1шт.

23

RM 58903345

Болт

S/N 12654 -

1шт.

23

RM 58903345

Болт

S/N 12654 -

1шт.

24

RM 58824798

Кольцо уплотнительное

S/N 12654 -

1шт.

24

RM 58824798

Кольцо уплотнительное

S/N 12654 -

1шт.

25

RM 96713185

Винт шестигранник

1шт.

25

RM 96713185

Винт шестигранник

1шт.

26

RM 96718838

Винт шестигранник

1шт.

26

RM 96718838

Винт шестигранник

1шт.

27

RM 96720818

Винт шестигранник (торцевой ключ)

1шт.

27

RM 96720818

Винт шестигранник (торцевой ключ)

1шт.

28

RM 87944666

Трубка

S/N 12654 -

1шт.

3

RM 56294366

Втулка (распорная)

1шт.

30

RM 96720131

Плоская шайба

1шт.

30

RM 96720131

Плоская шайба

1шт.

31

RM 96725932

Шайба

S/N 14170 -

1шт.

31

RM 96725932

Шайба

S/N 14170 -

1шт.

31

RM 96725932

Шайба

S/N 51 - 13950

1шт.

31

RM 96725932

Шайба

S/N 51 - 13950

1шт.

32

RM 96712898

Плоская шайба

1шт.

32

RM 96712898

Плоская шайба

1шт.

33

RM 14141071

Шайба пружинная

S/N 13722 -

1шт.

33

RM 14141071

Шайба пружинная

S/N 13722 -

1шт.

34

RM 96713177

Винт шестигранник

S/N 13722 -

1шт.

34

RM 96713177

Винт шестигранник

S/N 13722 -

1шт.

36

RM 13907761

Стопорная шайба (кольцо)

1шт.

36

RM 13907761

Стопорная шайба (кольцо)

1шт.

37

RM 14272132

Шайба пружинная

1шт.

37

RM 14272132

Шайба пружинная

1шт.

4

RM 56294358

Крышка

S/N 51 - 13721

1шт.

40

RM 96719174

Hexagon nut

1шт.

40

RM 96719174

Hexagon nut

1шт.

41

RM 96720925

Hexagon nut

1шт.

41

RM 96720925

Hexagon nut

1шт.

42

RM 10645208

Spring pin

1шт.

45

RM 80618002

Болт

S/N 13951 -

1шт.

45

RM 54497300

Болт

S/N 15145 -

1шт.

49

RM 80764343

Guide

S/N 17888 - 19823

1шт.

5

RM 56294333

Втулка

1шт.

50

RM 87969259

Angle Bar

S/N 13722 - 17886

1шт.

50

RM 80770399

Angle Plate

S/N 17887 - 17887

1шт.

50

RM 87969259

Angle Bar

S/N 17888 -

1шт.

51

RM 87969275

Корпус клапана

S/N 13722 -

1шт.

6

RM 56294242

Болт

1шт.

7

RM 56294093

Шайба

1шт.

8

RM 56294085

Strap

S/N 51 - 12956

1шт.

8

RM 56294085

Strap

S/N 12957 -

1шт.

9

RM 56298383

Втулка

1шт.

Выбрано товаров: 79