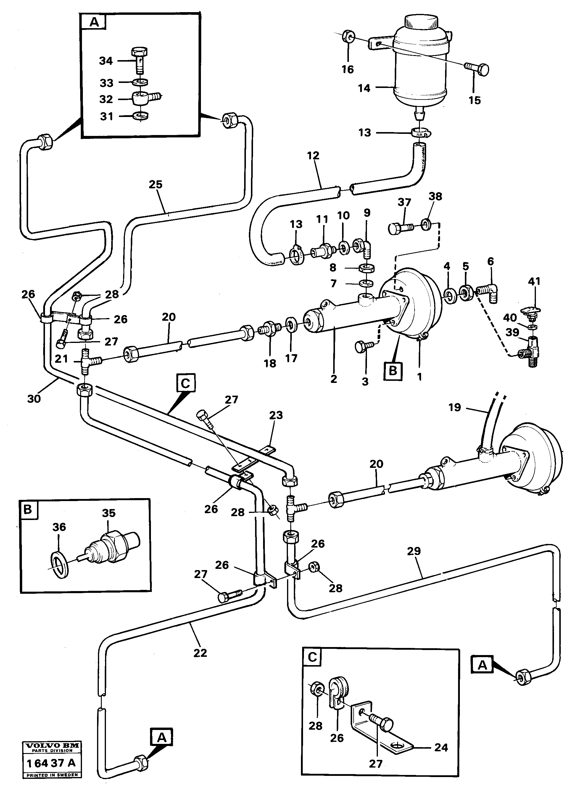
Запчасти Volvo 5350 5350 69192 Hydraulic brake-system tractor. prod nr 37000 Tillv Nr -1616

Схема запчастей Volvo 5350 5350 - 69192 Hydraulic brake-system tractor. prod nr 37000 Tillv Nr -1616
FIT
1:1
100%

Артикул

Название

Примечание

Количество

VOE 946329

Flange screw

SER NO 1138-

1шт.

VOE 946329

Flange screw

SER NO 1138-

1шт.

VOE 943924

Кольцо уплотнительное (О-кольцо)

SER NO 1138-

1шт.

VOE 943924

Кольцо уплотнительное (О-кольцо)

SER NO 1138-

1шт.

VOE 13970967

Винт шестигранник

SER NO 1456-

1шт.

VOE 13970967

Винт шестигранник

SER NO 1456-

1шт.

VOE 4954027

Шланг

L=1700 SER NO 1392-

1шт.

VOE 4954027

Шланг

L=2200 SER NO 1392-

1шт.

VOE 4954027

Шланг

L:2500 SER NO 1152 -

1шт.

1

VOE 4954027

Шланг

L=3500 SER NO 1152 -

1шт.

1

VOE 4720593

Diaphragm cylinder

1шт.

1

VOE 4720593

Diaphragm cylinder

1шт.

10

VOE 13947282

Прокладка

1шт.

10

VOE 13947282

Прокладка

1шт.

11

VOE 947502

Nipple

1шт.

11

VOE 947502

Nipple

1шт.

12

VOE 4954027

Шланг

L:2500 SER NO - 1151

1шт.

13

VOE 943469

Hose clamp

1шт.

14

VOE 4737154

Fluid reservoir

1шт.

15

VOE 946934

Flange screw

1шт.

15

VOE 946934

Flange screw

1шт.

16

VOE 13949278

Flange lock nut

1шт.

16

VOE 13949278

Flange lock nut

1шт.

17

VOE 13947621

Plane gasket

1шт.

17

VOE 13947621

Plane gasket

1шт.

18

VOE 948223

Nipple

1шт.

18

VOE 948223

Nipple

1шт.

19

VOE 13944075

Rubber hose

L=3500 TILLV NR-1151

1шт.

19

VOE 13944075

Rubber hose

L=3500 TILLV NR-1151

1шт.

2

VOE 4880206

Главный цилиндр

1шт.

2

VOE 4880206

Главный цилиндр

1шт.

20

VOE 4864757

Brake pipe

1шт.

21

VOE 7180083

T-nipple

1шт.

21

VOE 7180083

T-nipple

1шт.

22

VOE 4737980

Brake pipe

1шт.

23

VOE 4737482

Anchorage

1шт.

24

VOE 4737483

Anchorage

1шт.

25

VOE 4821156

Brake pipe

H

1шт.

26

VOE 952624

Зажим

1шт.

26

VOE 952624

Зажим

1шт.

27

VOE 946934

Flange screw

1шт.

27

VOE 946934

Flange screw

1шт.

28

VOE 13949278

Flange lock nut

1шт.

28

VOE 13949278

Flange lock nut

1шт.

29

VOE 4821157

Brake pipe

V

1шт.

3

VOE 946472

Flange screw

SER NO -1137

1шт.

3

VOE 946472

Flange screw

SER NO -1137

1шт.

30

VOE 4737979

Brake pipe

1шт.

31

VOE 13947622

Plane gasket

1шт.

31

VOE 13947622

Plane gasket

1шт.

32

VOE 954399

Banjo nipple

1шт.

32

VOE 954399

Banjo nipple

1шт.

33

VOE 13947621

Plane gasket

1шт.

33

VOE 13947621

Plane gasket

1шт.

34

VOE 954393

Hollow screw

1шт.

34

VOE 954393

Hollow screw

1шт.

35

VOE 1578102

Contact

1шт.

36

VOE 13947624

Plane gasket

1шт.

36

VOE 13947624

Plane gasket

1шт.

37

VOE 959662

Винт шестигранник

1шт.

37

VOE 959662

Винт шестигранник

1шт.

38

VOE 13955897

Шайба

1шт.

38

VOE 13955897

Шайба

1шт.

39

VOE 948797

Nipple

SER NO 1195-

1шт.

39

VOE 948797

Nipple

SER NO 1195-

1шт.

4

VOE 945959

Прокладка

SER NO -1137

1шт.

4

VOE 945959

Прокладка

SER NO -1137

1шт.

40

VOE 13947627

Plane gasket

SER NO 1195-

1шт.

40

VOE 13947627

Plane gasket

SER NO 1195-

1шт.

41

VOE 1505035

Nipple

SER NO 1195-

1шт.

41

VOE 1505035

Nipple

SER NO 1195-

1шт.

5

VOE 13945958

Гайка

1шт.

5

VOE 13945958

Гайка

1шт.

6

VOE 945964

Elbow nipple

1шт.

6

VOE 945964

Elbow nipple

1шт.

7

VOE 13949657

Кольцо уплотнительное (О-кольцо)

1шт.

7

VOE 13949657

Кольцо уплотнительное (О-кольцо)

1шт.

8

VOE 945895

Hexagon nut

1шт.

8

VOE 945895

Hexagon nut

1шт.

9

VOE 13946001

Nipple

1шт.

Выбрано товаров: 80