Запчасти Volvo 5350 5350 2051 Exhaust pressure regulator

Схема запчастей Volvo 5350 5350 - 2051 Exhaust pressure regulator
FIT
1:1
100%

Артикул

Название

Примечание

Количество

VOE 273308

Ремкомплект

1шт.

VOE 273308

Ремкомплект

1шт.

VOE 467808

Regulator

1шт.

VOE 13945460

Plastic pipe

L=3800 SER NO 1800-

1шт.

VOE 13945460

Plastic pipe

L=3800 SER NO 1800-

1шт.

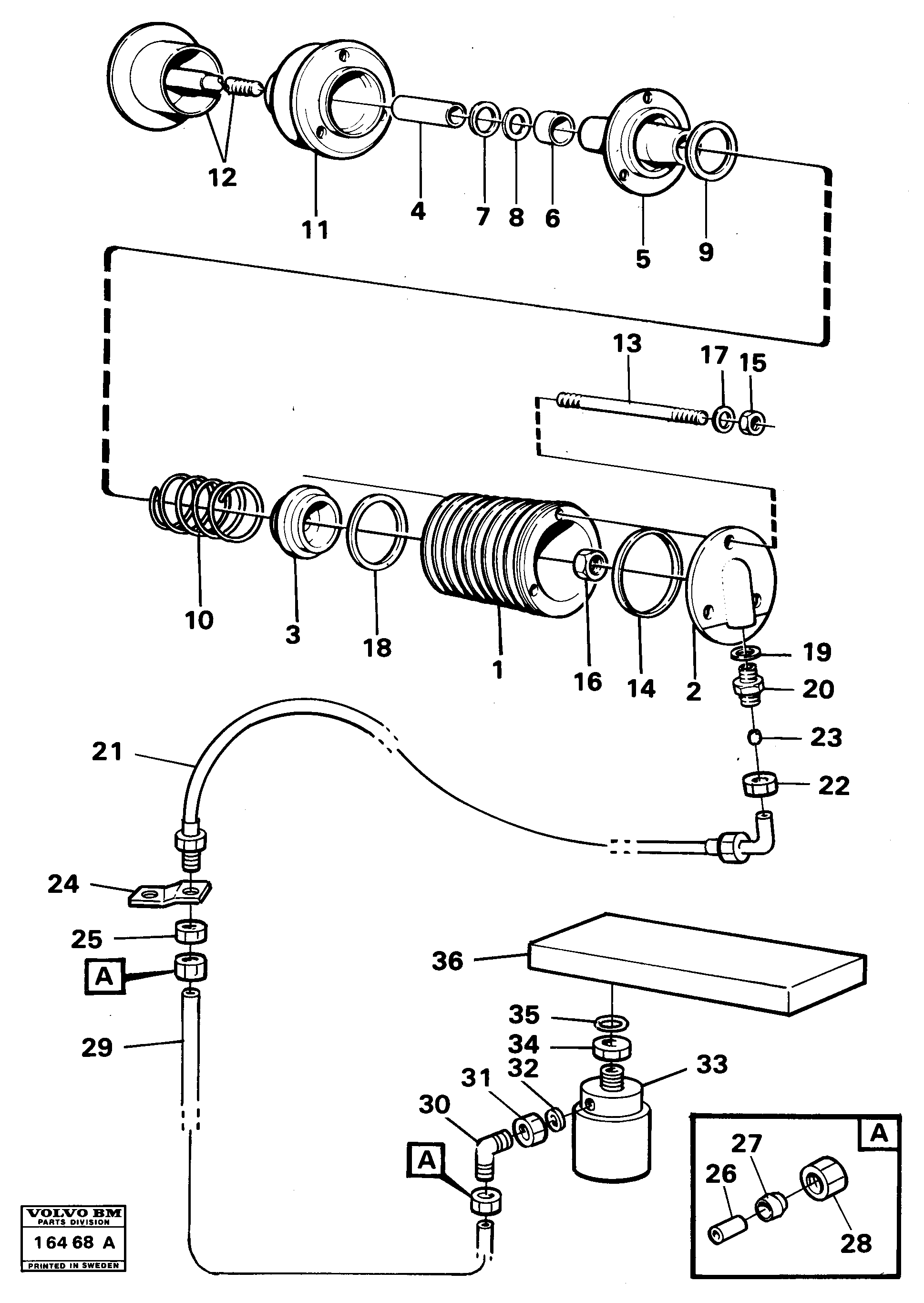
1

VOE 478915

цилиндр

1шт.

10

VOE 467282

Return spring

1шт.

12

VOE 467807

Shutter

1шт.

13

VOE 945474

Шпилька

1шт.

14

VOE 13945512

Кольцо уплотнительное (О-кольцо)

1шт.

14

VOE 13945512

Кольцо уплотнительное (О-кольцо)

1шт.

15

VOE 955825

Hexagon nut

1шт.

15

VOE 955825

Гайка

1шт.

16

VOE 945467

Lock nut

1шт.

16

VOE 945467

Lock nut

1шт.

17

VOE 955893

Шайба

1шт.

17

VOE 955893

Шайба

1шт.

18

VOE 478712

Кольцо уплотнительное

1шт.

18

VOE 478712

Кольцо уплотнительное

1шт.

19

VOE 957173

Gasket

1шт.

19

VOE 957173

Прокладка

1шт.

2

VOE 467275

Головка блока цилиндров

1шт.

20

VOE 13945900

Nipple

1шт.

20

VOE 13945900

Nipple

1шт.

21

VOE 948525

Hose assembly

1шт.

22

VOE 954356

Fitting nut

1шт.

22

VOE 954356

Fitting nut

1шт.

23

VOE 954364

Ferrule

1шт.

23

VOE 954364

Ferrule

1шт.

24

VOE 4821405

Кронштейн

1шт.

25

VOE 192272

Lock nut

1шт.

25

VOE 192272

Lock nut

1шт.

26

VOE 944717

Втулка (распорная)

1шт.

26

VOE 944717

Втулка (распорная)

1шт.

27

VOE 954364

Ferrule

1шт.

27

VOE 954364

Ferrule

1шт.

28

VOE 954356

Fitting nut

1шт.

28

VOE 954356

Fitting nut

1шт.

29

VOE 13945460

Plastic pipe

L=3400 SER NO -1616

1шт.

29

VOE 13945460

Plastic pipe

L=3400 SER NO -1616

1шт.

30

VOE 945916

Elbow nipple

1шт.

30

VOE 945916

Elbow nipple

1шт.

31

VOE 945893

Hexagon nut

1шт.

31

VOE 945893

Hexagon nut

1шт.

32

VOE 945897

Прокладка

1шт.

32

VOE 945897

Прокладка

1шт.

33

VOE 1576728

Встроенный клапан в сборе

1шт.

33

VOE 1576728

Встроенный клапан в сборе

1шт.

34

VOE 945895

Hexagon nut

1шт.

34

VOE 945895

Hexagon nut

1шт.

35

VOE 13949657

Кольцо уплотнительное (О-кольцо)

1шт.

35

VOE 13949657

Кольцо уплотнительное (О-кольцо)

1шт.

4

VOE 467277

Шток поршня

1шт.

5

VOE 467278

Bearing housing

1шт.

6

VOE 467280

Втулка

1шт.

7

VOE 467545

Stop ring

1шт.

8

VOE 467304

467304

1шт.

9

VOE 467281

Шайба

1шт.

Выбрано товаров: 58