Запчасти Volvo 5350 5350 4258 Exhaust-heated body pneumatic system 98697

Схема запчастей Volvo 5350 5350 - 4258 Exhaust-heated body pneumatic system 98697
FIT
1:1
100%

Артикул

Название

Примечание

Количество

10

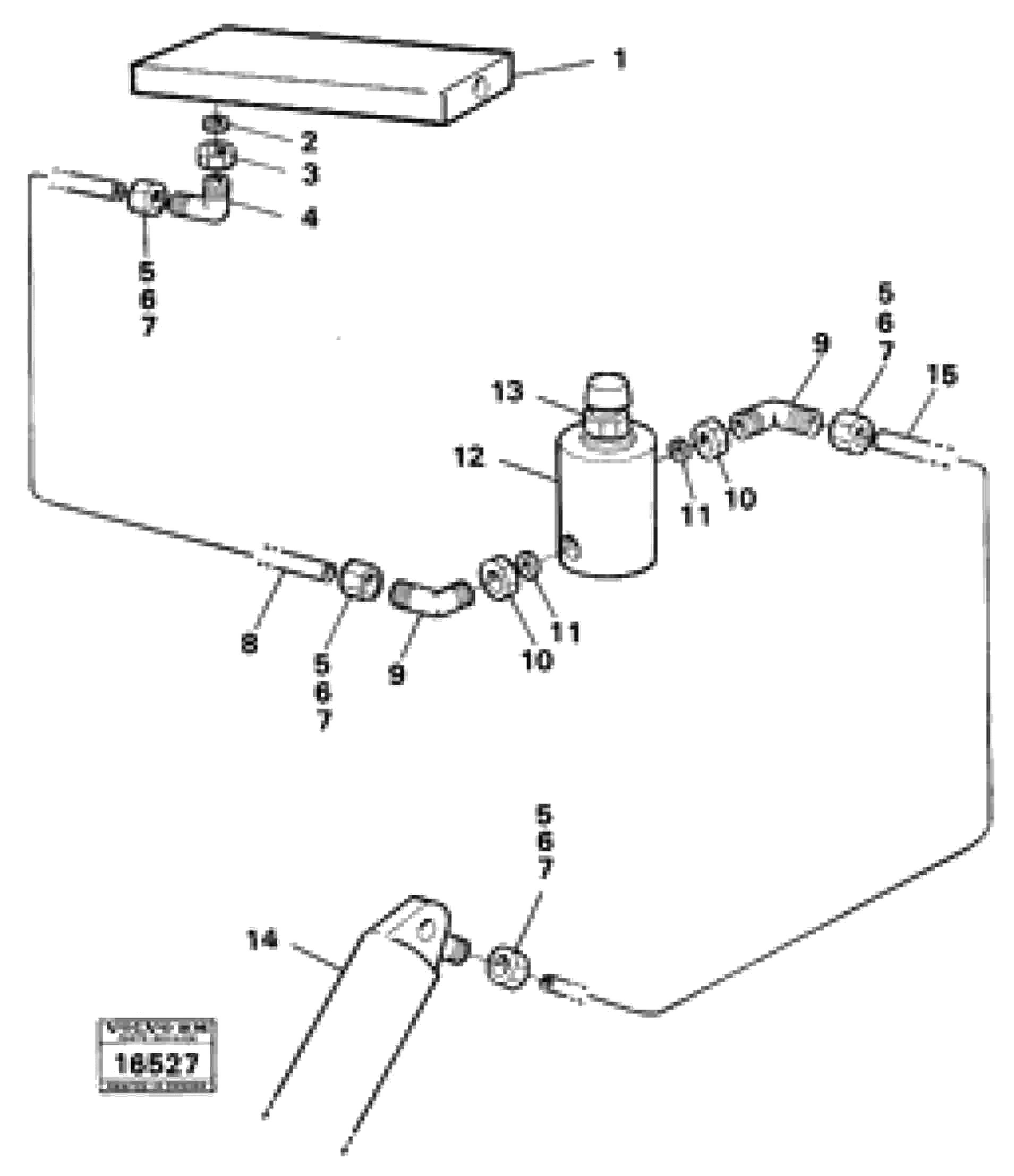
VOE 945893

Hexagon Nut

1шт.

10

VOE 945893

Hexagon Nut

1шт.

11

VOE 945897

Прокладка

1шт.

11

VOE 945897

Прокладка

1шт.

12

VOE 6645268

Three-way Valve

1шт.

12

VOE 6645268

Three-way Valve

1шт.

13

VOE 13945460

Plastic Pipe

L=3600

1шт.

13

VOE 13945460

Plastic Pipe

L=3600

1шт.

2

VOE 13949657

Кольцо уплотнительное (О-кольцо)

1шт.

2

VOE 13949657

Кольцо уплотнительное (О-кольцо)

1шт.

3

VOE 945895

Hexagon Nut

1шт.

3

VOE 945895

Hexagon Nut

1шт.

4

VOE 946134

Elbow nipple

1шт.

4

VOE 946134

Elbow nipple

1шт.

5

VOE 944717

Втулка (распорная)

1шт.

5

VOE 944717

Втулка (распорная)

1шт.

6

VOE 954364

Ferrule

1шт.

6

VOE 954364

Ferrule

1шт.

7

VOE 954356

Fitting Nut

1шт.

7

VOE 954356

Fitting Nut

1шт.

8

VOE 13945460

Plastic Pipe

L=3450

1шт.

8

VOE 13945460

Plastic Pipe

L=3450

1шт.

9

VOE 945916

Elbow nipple

1шт.

9

VOE 945916

Elbow nipple

1шт.

Выбрано товаров: 24