Запчасти Volvo 5350 5350 88942 Rotation warning light 99059

Схема запчастей Volvo 5350 5350 - 88942 Rotation warning light 99059
FIT
1:1
100%

Артикул

Название

Примечание

Количество

VOE 941266

Пробка (заглушка)

1шт.

VOE 941266

Пробка (заглушка)

1шт.

VOE 6212166

Lens

1шт.

VOE 6212166

Lens

1шт.

VOE 6644017

Прокладка

1шт.

VOE 6644017

Прокладка

1шт.

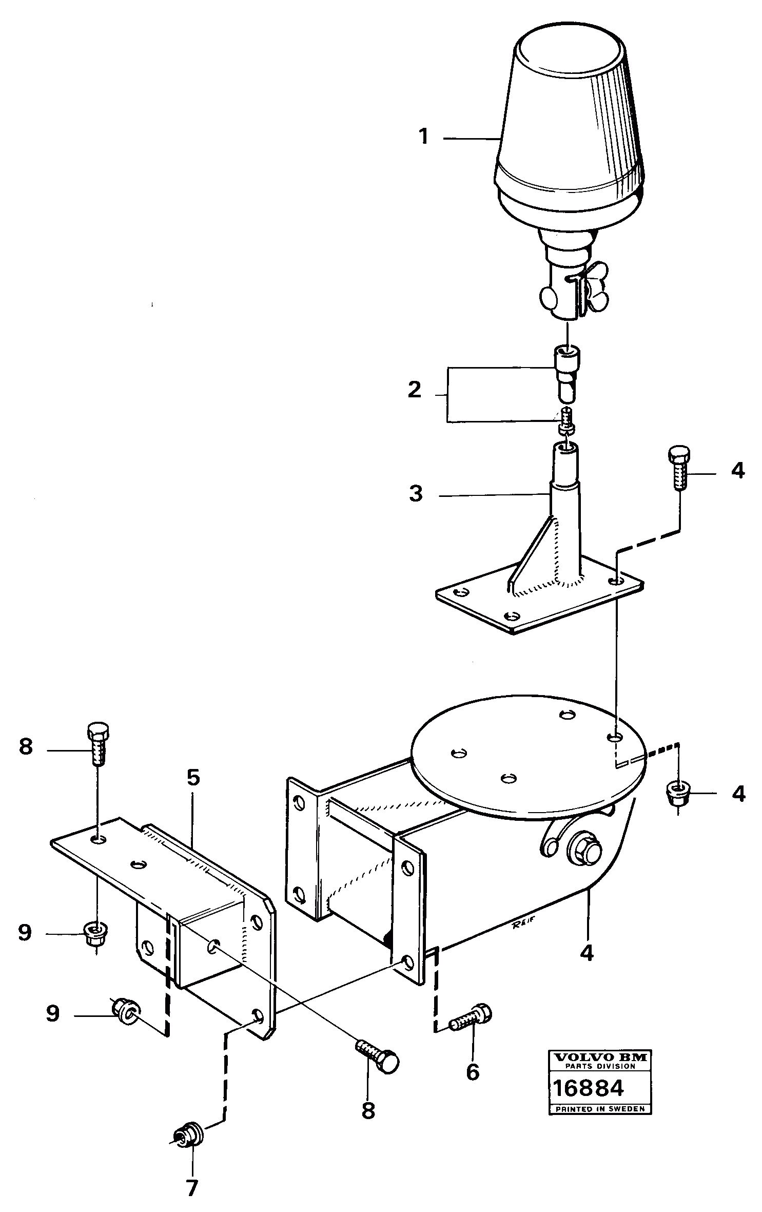
1

VOE 4895570

Headlamp

1шт.

1

VOE 4895570

Headlamp

1шт.

2

VOE 331232

Socket

1шт.

2

VOE 331232

Socket

1шт.

3

VOE 4820943

Anchorage

1шт.

4

VOE 784484

Anchorage

1шт.

6

VOE 946934

Flange screw

1шт.

6

VOE 946934

Flange screw

1шт.

7

VOE 13949278

Flange lock nut

1шт.

7

VOE 13949278

Flange lock nut

1шт.

8

VOE 13946173

Screw

1шт.

8

VOE 13946173

Болт

1шт.

9

VOE 13945408

Гайка

1шт.

9

VOE 13945408

Гайка

1шт.

Выбрано товаров: 20