Запчасти Volvo 5350B Volvo BM 5350B SER NO 2229 - 3999 1142 Housing-oilfilter

Схема запчастей Volvo 5350B Volvo BM 5350B SER NO 2229 - 3999 - 1142 Housing-oilfilter
FIT
1:1
100%

Артикул

Название

Примечание

Количество

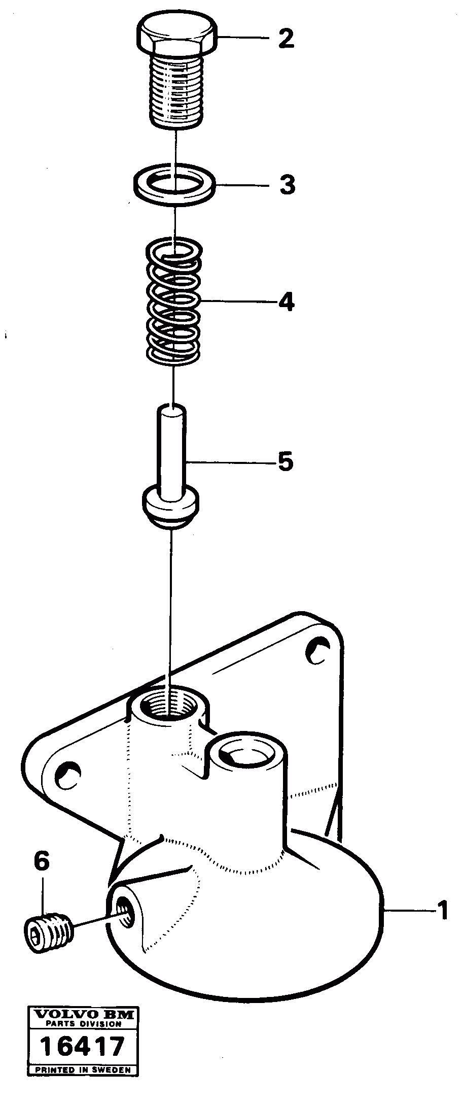
1

VOE 466631

Картер (корпус)

1шт.

2

VOE 466624

Пробка (заглушка)

1шт.

3

VOE 957185

Gasket

1шт.

3

VOE 957185

Прокладка

1шт.

4

VOE 466653

Compression spring

1шт.

4

VOE 466653

Compression spring

1шт.

5

VOE 471085

Valve cone

1шт.

6

VOE 952075

Пробка (заглушка)

1шт.

6

VOE 952075

Пробка (заглушка)

1шт.

Выбрано товаров: 9