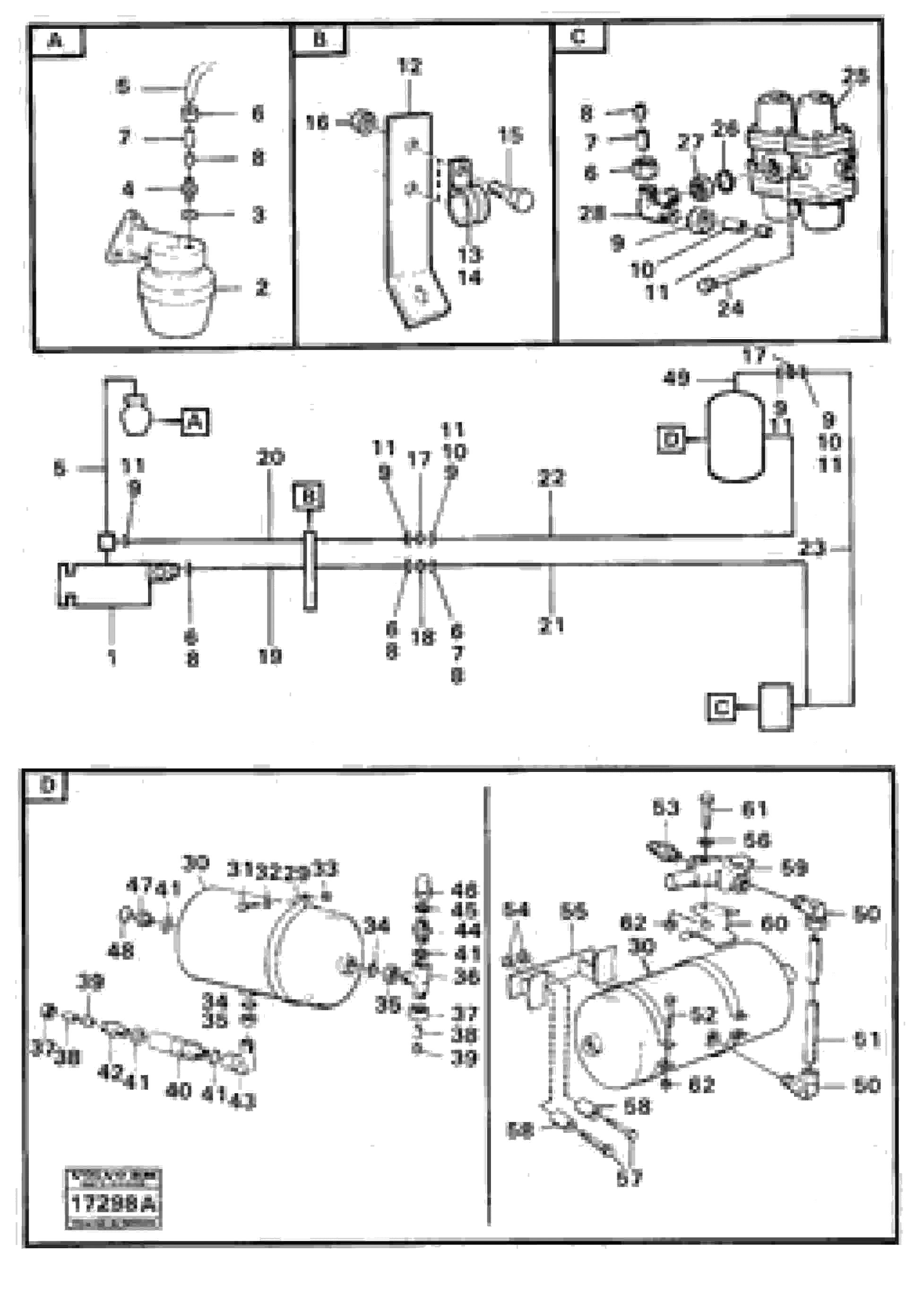
Запчасти Volvo 5350B Volvo BM 5350B SER NO 2229 - 3999 97468 Feed lines

Схема запчастей Volvo 5350B Volvo BM 5350B SER NO 2229 - 3999 - 97468 Feed lines
FIT
1:1
100%

Артикул

Название

Примечание

Количество

VOE 11061768

Бак

1шт.

VOE 13965562

13965562

SER NO 2761 -

1шт.

VOE 13949278

Flange lock nut

SER NO 2761 -

1шт.

VOE 13949278

Flange lock nut

SER NO 2761 -

1шт.

VOE 13948878

Болт

1шт.

VOE 13948878

Болт

1шт.

VOE 946934

Flange screw

SER NO 2761 -

1шт.

VOE 946934

Flange screw

SER NO 2761 -

1шт.

VOE 272701

Ремкомплект

1шт.

VOE 272701

Ремкомплект

1шт.

VOE 4942695

Трубка

SER NO 2761 -

1шт.

VOE 13960634

Пробка (заглушка)

1шт.

VOE 13960634

Пробка (заглушка)

1шт.

VOE 13947627

Plane gasket

1шт.

VOE 13947627

Plane gasket

1шт.

VOE 1697131

Ремкомплект

1шт.

10

VOE 967549

Втулка (распорная)

1шт.

11

VOE 967810

Ferrule

1шт.

13

VOE 952623

Зажим

SER NO - 2760

1шт.

13

VOE 952623

Зажим

SER NO - 2760

1шт.

14

VOE 952629

Зажим

1шт.

14

VOE 952629

Зажим

1шт.

15

VOE 946934

Flange screw

SER NO - 2760

1шт.

15

VOE 946934

Flange screw

SER NO - 2760

1шт.

16

VOE 13949278

Flange lock nut

1шт.

16

VOE 13949278

Flange lock nut

1шт.

17

VOE 354141

Nipple

1шт.

18

VOE 954371

Joint nipple

SER NO - 2760

1шт.

18

VOE 954371

Joint nipple

SER NO - 2760

1шт.

19

VOE 4737523

Трубка

SER NO - 2760

1шт.

20

VOE 4940505

Трубка

SER NO - 2760

1шт.

21

VOE 13945460

Plastic pipe

L = 3050

1шт.

21

VOE 13945460

Plastic pipe

L = 3050

1шт.

22

VOE 945463

Трубка

L = 1920

1шт.

22

VOE 945463

Трубка

L = 1920

1шт.

23

VOE 945463

Трубка

L = 620

1шт.

23

VOE 945463

Трубка

L = 620

1шт.

24

VOE 13946173

Screw

1шт.

24

VOE 13946173

Болт

1шт.

25

VOE 4871098

Protecting valve

1шт.

25

VOE 4871098

Protecting valve

1шт.

26

VOE 13949657

Кольцо уплотнительное (О-кольцо)

1шт.

26

VOE 13949657

Кольцо уплотнительное (О-кольцо)

1шт.

27

VOE 945895

Hexagon nut

1шт.

27

VOE 945895

Hexagon nut

1шт.

28

VOE 13946399

Nipple

1шт.

29

VOE 6615513

Tensioning band

1шт.

29

VOE 6615513

Tensioning band

1шт.

3

VOE 13947281

Прокладка

1шт.

3

VOE 13947281

Прокладка

1шт.

30

VOE 11117324

Tank

1шт.

30

VOE 11117324

Бак

1шт.

31

VOE 955302

Винт шестигранник

SER NO - 2484

1шт.

31

VOE 955302

Винт шестигранник

SER NO - 2484

1шт.

32

VOE 13955894

Шайба

1шт.

32

VOE 13955894

Шайба

1шт.

33

VOE 13945408

Гайка

1шт.

33

VOE 13945408

Гайка

1шт.

34

VOE 13949657

Кольцо уплотнительное (О-кольцо)

1шт.

34

VOE 13949657

Кольцо уплотнительное (О-кольцо)

1шт.

35

VOE 945895

Hexagon nut

1шт.

35

VOE 945895

Hexagon nut

1шт.

36

VOE 946270

Nipple

1шт.

37

VOE 354145

Fitting nut

1шт.

38

VOE 967549

Втулка (распорная)

1шт.

39

VOE 967810

Ferrule

1шт.

4

VOE 13945900

Nipple

1шт.

4

VOE 13945900

Nipple

1шт.

40

VOE 1629727

Non-return valve

SER NO - 2760

1шт.

41

VOE 13947627

Plane gasket

1шт.

41

VOE 13947627

Plane gasket

1шт.

42

VOE 13945910

Nipple

1шт.

43

VOE 795032

Втулка (распорная)

SER NO - 2760

1шт.

44

VOE 13949620

Nipple

1шт.

44

VOE 13949620

Nipple

1шт.

45

VOE 13947622

Plane gasket

1шт.

45

VOE 13947622

Plane gasket

1шт.

46

VOE 1588148

Клапан

1шт.

47

VOE 1581425

Draining valve

1шт.

47

VOE 1581425

Draining valve

1шт.

48

VOE 6626486

Кольцо

1шт.

48

VOE 6626486

Кольцо

1шт.

49

VOE 4940850

Трубка

1шт.

5

VOE 13945460

Plastic pipe

L = 200

1шт.

5

VOE 13945460

Plastic pipe

L = 200

1шт.

50

VOE 945925

Elbow nipple

SER NO 2761 -

1шт.

50

VOE 945925

Elbow nipple

SER NO 2761 -

1шт.

51

VOE 945463

Трубка

SER NO 2761 -

1шт.

51

VOE 945463

Трубка

SER NO 2761 -

1шт.

52

VOE 968973

Винт шестигранник

1шт.

52

VOE 968973

Винт шестигранник

1шт.

53

VOE 13945910

Nipple

SER NO 2761 -

1шт.

54

VOE 13971098

Flange nut

1шт.

54

VOE 13971098

Flange nut

1шт.

56

VOE 930840

Шайба

SER NO 2761 -

1шт.

56

VOE 930840

Шайба

SER NO 2761 -

1шт.

57

VOE 13965186

Болт

SER NO 2761 -

1шт.

57

VOE 13965186

Screw

SER NO 2761 -

1шт.

58

VOE 4861316

Spacer ring

SER NO 2761 -

1шт.

58

VOE 4861316

Spacer ring

SER NO 2761 -

1шт.

59

VOE 6779895

Regulator

SER NO 2761 -

1шт.

6

VOE 954356

Fitting nut

1шт.

6

VOE 954356

Fitting nut

1шт.

61

VOE 955306

Винт шестигранник

SER NO 2761 -

1шт.

61

VOE 955306

Винт шестигранник

SER NO 2761 -

1шт.

62

VOE 13945408

Гайка

SER NO 2761 -

1шт.

62

VOE 13945408

Гайка

SER NO 2761 -

1шт.

7

VOE 944717

Втулка (распорная)

1шт.

7

VOE 944717

Втулка (распорная)

1шт.

8

VOE 954364

Ferrule

1шт.

8

VOE 954364

Ferrule

1шт.

9

VOE 354145

Fitting nut

1шт.

Выбрано товаров: 112