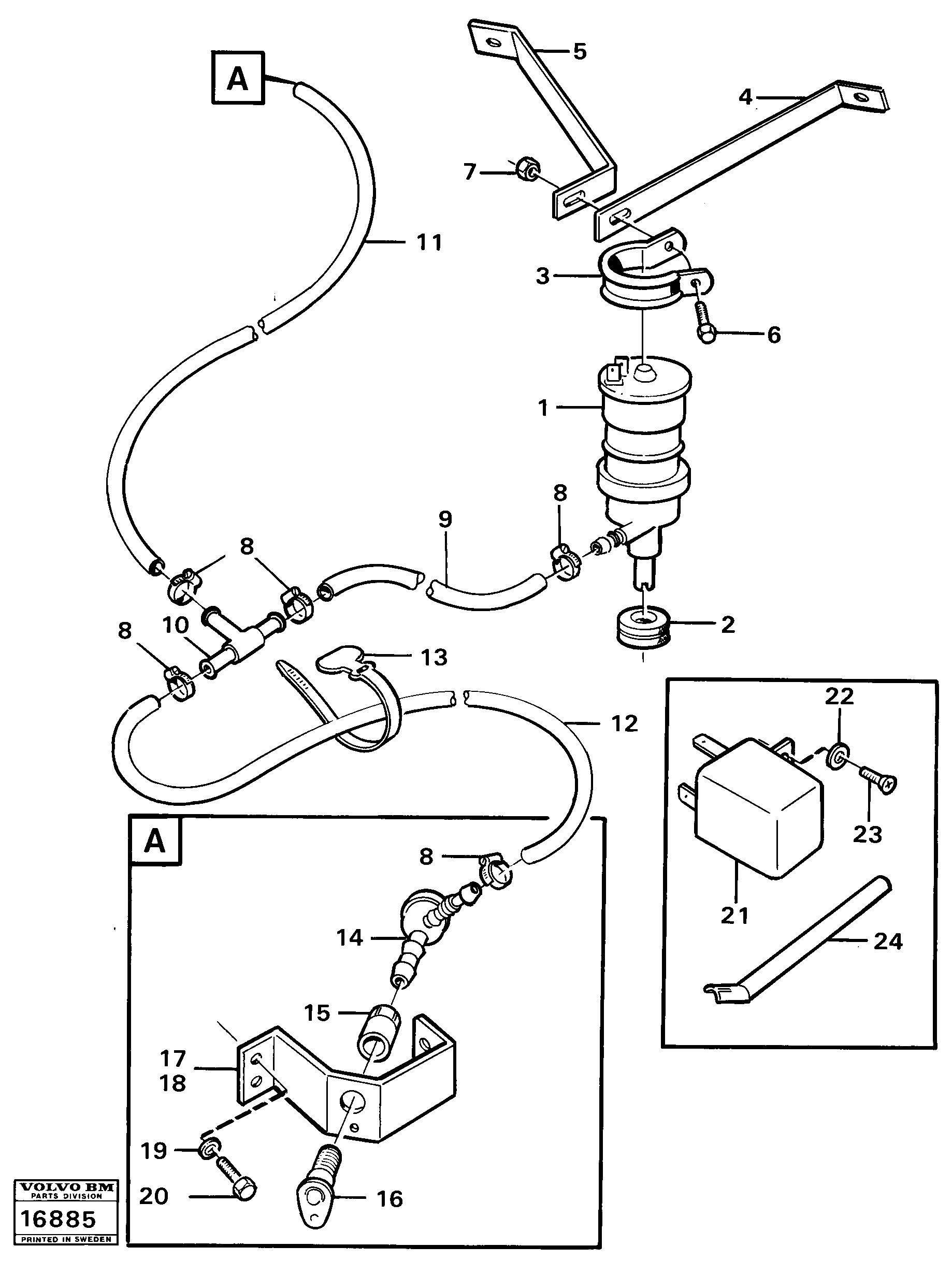
Запчасти Volvo 5350B Volvo BM 5350B SER NO 2229 - 3999 71392 Headlight washer

Схема запчастей Volvo 5350B Volvo BM 5350B SER NO 2229 - 3999 - 71392 Headlight washer
FIT
1:1
100%

Артикул

Название

Примечание

Количество

1

VOE 4823997

Насос

1шт.

10

VOE 6643734

Cross Piece

1шт.

11

VOE 6643737

Pressure hose

L = 750

1шт.

12

VOE 6643737

Pressure hose

L = 2600

1шт.

14

VOE 4823919

Клапан предохранительный (разгрузочный, сброса давления)

1шт.

15

VOE 4823918

Гайка

1шт.

16

VOE 11709847

Nozzle

1шт.

19

VOE 13940090

Шайба

1шт.

19

VOE 13940090

Шайба

1шт.

2

VOE 941267

Пробка (заглушка)

1шт.

2

VOE 941267

Пробка (заглушка)

1шт.

20

VOE 955246

Винт шестигранник

1шт.

20

VOE 955246

Винт шестигранник

1шт.

21

VOE 4823998

Реле

R

1шт.

21

VOE 4823998

Реле

R

1шт.

22

VOE 13940090

Шайба

1шт.

22

VOE 13940090

Шайба

1шт.

23

VOE 969278

Винт шестигранник (торцевой ключ)

1шт.

23

VOE 969278

Винт шестигранник (торцевой ключ)

1шт.

24

VOE 4823999

Tool

1шт.

3

VOE 947457

Зажим

1шт.

3

VOE 947457

Зажим

1шт.

6

VOE 946934

Flange screw

1шт.

6

VOE 946934

Flange screw

1шт.

7

VOE 13949278

Flange lock nut

1шт.

7

VOE 13949278

Flange lock nut

1шт.

8

VOE 943469

Hose clamp

1шт.

9

VOE 6643737

Pressure hose

L = 1400

1шт.

Выбрано товаров: 28