Запчасти Volvo 861 861 21898 Final gear with housing

Схема запчастей Volvo 861 861 - 21898 Final gear with housing
FIT
1:1
100%

Артикул

Название

Примечание

Количество

VOE 922099

Шпилька

L=75

1шт.

VOE 956630

Болт

1шт.

VOE 357023

Differential

1шт.

VOE 738434

Прокладка

THICK=0,35

1шт.

VOE 738433

Прокладка

THICK=1,0

1шт.

VOE 955581

Винт шестигранник

SER NO 8713-

1шт.

VOE 955581

Винт шестигранник

SER NO 8713-

1шт.

VOE 955953

Toothed Washer

1шт.

VOE 955953

Toothed Washer

1шт.

VOE 950378

Lock nut

1шт.

VOE 950378

Lock nut

1шт.

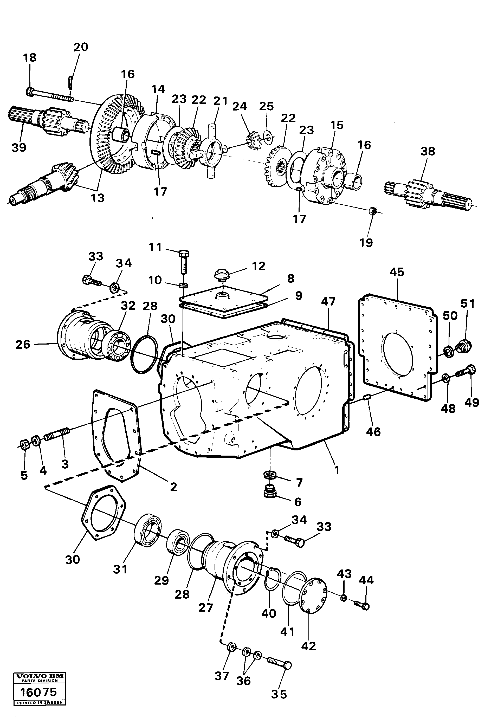
1

VOE 4718208

Gear Housing

1шт.

10

VOE 13942336

Шайба пружинная

1шт.

10

VOE 13942336

Шайба пружинная

1шт.

11

VOE 13940114

Болт

1шт.

11

VOE 13940114

Болт

1шт.

12

VOE 731296

Клапан

1шт.

12

VOE 731296

Клапан

1шт.

13

VOE 762347

Crown Wheel

1шт.

14

VOE 762215

Differential housing

H

1шт.

15

VOE 762217

Differential housing

V

1шт.

16

VOE 705538

Втулка

1шт.

17

VOE 705549

Pin

1шт.

17

VOE 705549

Палец

1шт.

18

VOE 762224

Reamed Screw

1шт.

19

VOE 7153003

Гайка

1шт.

2

VOE 728506

Прокладка

1шт.

20

VOE 907847

Cotter Pin

1шт.

21

VOE 357024

Крестовина

1шт.

22

VOE 762218

Diff. Side Gear

1шт.

23

VOE 762221

Wear Washer

1шт.

24

VOE 6630134

Drive Gear Set

1шт.

25

VOE 762223

Шайба упорная

1шт.

26

VOE 4719688

Bearing Housing

H

1шт.

27

VOE 4719689

Bearing Housing

V

1шт.

28

VOE 925274

Кольцо уплотнительное (О-кольцо)

1шт.

28

VOE 925274

Кольцо уплотнительное (О-кольцо)

1шт.

29

VOE 7191719

Подшипник

1шт.

29

VOE 7191719

Подшипник

1шт.

3

VOE 922098

Шпилька

L=70

1шт.

3

VOE 922098

Шпилька

L=70

1шт.

30

VOE 738435

Прокладка

THICK=0.1

1шт.

31

VOE 7183323

Подшипник

1шт.

32

VOE 7183326

Подшипник

1шт.

32

VOE 7183326

Подшипник

1шт.

33

VOE 955581

Винт шестигранник

SER NO -8712 L=64

1шт.

33

VOE 955581

Винт шестигранник

SER NO -8712 L=64

1шт.

34

VOE 941911

Шайба пружинная

1шт.

34

VOE 941911

Шайба пружинная

1шт.

35

VOE 955583

Винт шестигранник

SER NO -8712 L=76

1шт.

35

VOE 955583

Болт

SER NO -8712 L=76

1шт.

36

VOE 11055608

Шайба

SER NO -8712

1шт.

36

VOE 11055608

Шайба

SER NO -8712

1шт.

37

VOE 941911

Шайба пружинная

1шт.

37

VOE 941911

Шайба пружинная

1шт.

38

VOE 4719693

Вал приводной (ведущий)

V

1шт.

39

VOE 4719694

Вал приводной (ведущий)

H

1шт.

4

VOE 941912

Шайба пружинная

1шт.

4

VOE 941912

Шайба пружинная

1шт.

40

VOE 914478

Snap Ring

1шт.

40

VOE 914478

Кольцо стопорное

1шт.

41

VOE 925096

Кольцо уплотнительное (О-кольцо)

1шт.

41

VOE 925096

Кольцо уплотнительное (О-кольцо)

1шт.

42

VOE 4719759

Cap

1шт.

43

VOE 13941907

Шайба пружинная

1шт.

43

VOE 13941907

Шайба

1шт.

44

VOE 955297

Винт шестигранник

1шт.

44

VOE 955297

Винт шестигранник

1шт.

45

VOE 4736204

Cap

1шт.

46

VOE 950644

Палец

1шт.

47

VOE 11036044

Прокладка

1шт.

48

VOE 940280

Шайба пружинная

1шт.

48

VOE 940280

Шайба пружинная

1шт.

49

VOE 955561

Винт шестигранник

1шт.

49

VOE 955561

Винт шестигранник

1шт.

5

VOE 4787832

Гайка

1шт.

5

VOE 4787832

Гайка

1шт.

50

VOE 7018803

Прокладка

1шт.

50

VOE 7018803

Прокладка

1шт.

51

VOE 701102

Пробка (заглушка)

1шт.

6

VOE 11034156

Пробка (заглушка)

1шт.

6

VOE 11034156

Пробка (заглушка)

1шт.

7

VOE 13947628

Plane Gasket

1шт.

7

VOE 13947628

Plane Gasket

1шт.

8

VOE 4871536

Cap

1шт.

9

VOE 4716767

Прокладка

1шт.

Выбрано товаров: 86