Запчасти Volvo 861 861 18407 Final drive ev 80 6x6

Схема запчастей Volvo 861 861 - 18407 Final drive ev 80 6x6
FIT
1:1
100%

Артикул

Название

Примечание

Количество

VOE 1523261

Главная передача

EV 80

1шт.

VOE 1523261

Главная передача

EV 80

1шт.

VOE 384614

Spacer Ring

THICK = 5,62

1шт.

VOE 384614

Spacer Ring

THICK = 5,62

1шт.

VOE 384616

Spacer Ring

THICK = 5,74

1шт.

VOE 384616

Spacer Ring

THICK = 5,74

1шт.

VOE 384617

Spacer Ring

THICK = 5,76

1шт.

VOE 384617

Spacer Ring

THICK = 5,76

1шт.

VOE 384604

Вставка

THICK = 0,15

1шт.

VOE 384604

Вставка

THICK = 0,15

1шт.

VOE 384070

Вставка

THICK = 0,35

1шт.

VOE 384070

Вставка

THICK = 0,35

1шт.

VOE 384072

Вставка

THICK = 1,00

1шт.

VOE 384072

Вставка

THICK = 1,00

1шт.

VOE 383992

Стопорная шайба (кольцо)

ALT

1шт.

VOE 383992

Стопорная шайба (кольцо)

ALT

1шт.

VOE 1522136

Brg Adjuster

H

1шт.

VOE 1522136

Brg Adjuster

H

1шт.

VOE 384615

Spacer Ring

THICK = 5,68

1шт.

VOE 384615

Spacer Ring

THICK = 5,68

1шт.

VOE 384613

Spacer Ring

THICK = 5,56

1шт.

VOE 384613

Spacer Ring

THICK = 5,56

1шт.

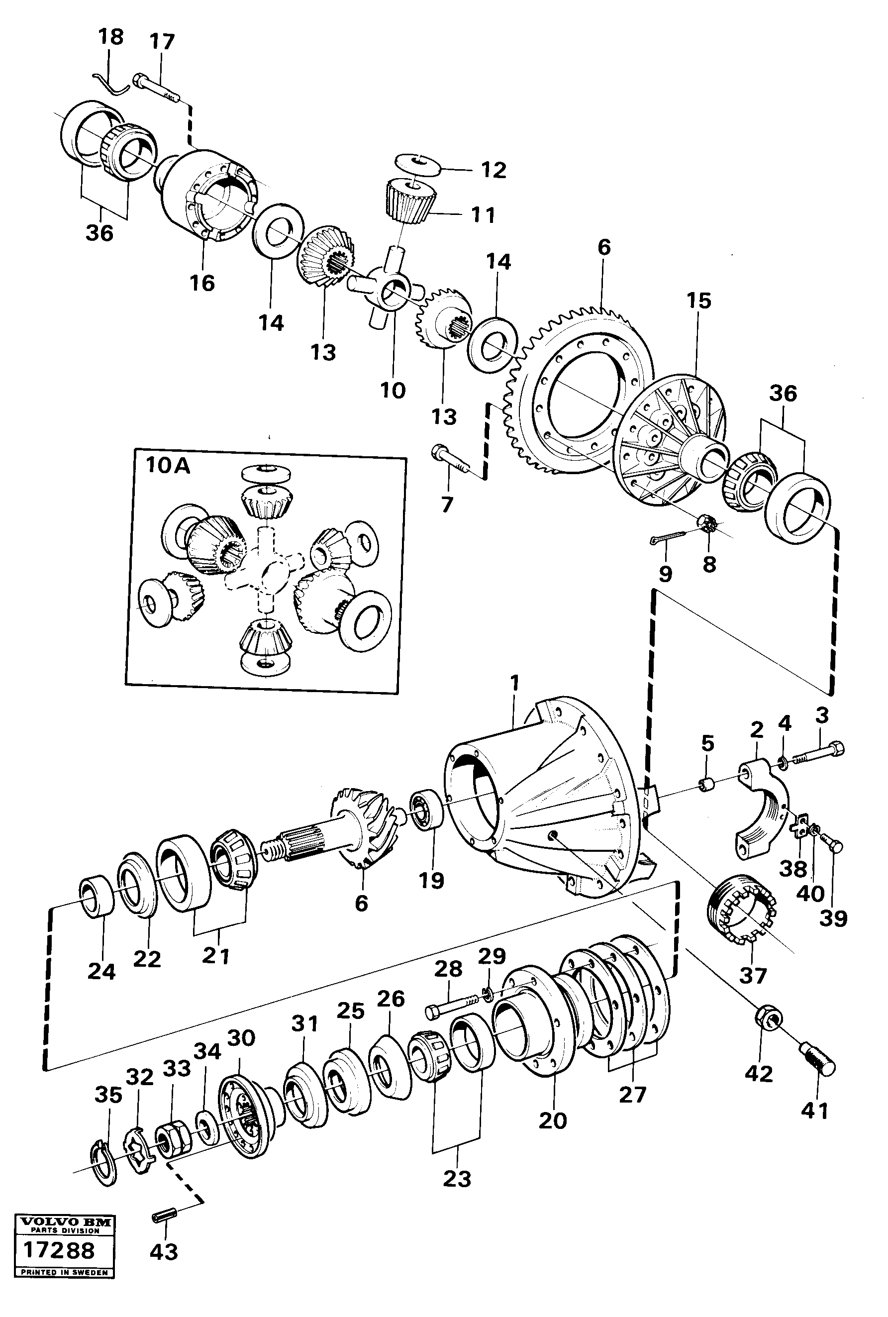
1

VOE 1522958

Картер (корпус)

1шт.

1

VOE 1522958

Картер (корпус)

1шт.

10

VOE 311760

Крестовина

1шт.

10

VOE 311760

Крестовина

1шт.

10A

VOE 273431

Diff Side Gear

1шт.

10A

VOE 273431

Diff Side Gear

1шт.

11

VOE 4717858

Differential

1шт.

11

VOE 4717858

Differential

1шт.

12

VOE 4720616

Шайба упорная

1шт.

12

VOE 4720616

Шайба упорная

1шт.

13

VOE 4717857

Differential

1шт.

13

VOE 4717857

Differential

1шт.

14

VOE 120228

Шайба упорная

1шт.

14

VOE 120228

Шайба упорная

1шт.

15

VOE 1522289

Differential housing

V

1шт.

15

VOE 1522289

Differential housing

V

1шт.

16

VOE 1522133

Differential housing

H

1шт.

16

VOE 1522133

Differential housing

H

1шт.

17

VOE 4717875

Болт

1шт.

17

VOE 4717875

Болт

1шт.

19

VOE 11102997

Подшипник

1шт.

19

VOE 11102997

Подшипник

1шт.

20

VOE 1523053

Втулка (распорная)

1шт.

20

VOE 1523053

Socket

1шт.

21

VOE 184635

Подшипник

1шт.

21

VOE 184635

Подшипник

1шт.

22

VOE 384477

Oil Plate

1шт.

22

VOE 384477

Oil Plate

1шт.

23

VOE 184633

Подшипник

1шт.

23

VOE 184633

Подшипник

1шт.

24

VOE 384612

Spacer Ring

THICK = 5,54

1шт.

24

VOE 384612

Spacer Ring

THICK = 5,54

1шт.

25

VOE 4717576

Кольцо уплотнительное

1шт.

25

VOE 4717576

Кольцо уплотнительное

1шт.

26

VOE 943142

Кольцо уплотнительное

1шт.

26

VOE 943142

Кольцо уплотнительное

1шт.

27

VOE 384068

Вставка

THICK = 0,10

1шт.

27

VOE 384068

Вставка

THICK = 0,10

1шт.

28

VOE 955577

Винт шестигранник

1шт.

28

VOE 955577

Винт шестигранник

1шт.

29

VOE 941911

Шайба пружинная

1шт.

29

VOE 941911

Шайба пружинная

1шт.

3

VOE 7104109

Болт

1шт.

3

VOE 7104109

Болт

1шт.

30

VOE 382992

Comp Flange

1шт.

30

VOE 382992

Comp Flange

1шт.

31

VOE 382015

Dust Cover

1шт.

31

VOE 382015

Dust Cover

1шт.

32

VOE 382779

Стопорная шайба (кольцо)

1шт.

32

VOE 382779

Стопорная шайба (кольцо)

1шт.

33

VOE 943805

Hexagon Nut

1шт.

33

VOE 943805

Hexagon Nut

1шт.

34

VOE 941700

Шайба

1шт.

34

VOE 941700

Шайба

1шт.

35

VOE 914480

Кольцо стопорное

1шт.

35

VOE 914480

Snap Ring

1шт.

36

VOE 183704

Подшипник

1шт.

36

VOE 183704

Подшипник

1шт.

37

VOE 384044

Brg Adjuster

V

1шт.

37

VOE 384044

Brg Adjuster

V

1шт.

38

VOE 1522426

Стопорная шайба (кольцо)

1шт.

38

VOE 1522426

Стопорная шайба (кольцо)

1шт.

39

VOE 13955294

Болт

1шт.

39

VOE 13955294

Болт

1шт.

4

VOE 7120173

Шайба

1шт.

4

VOE 7120173

Шайба

1шт.

40

VOE 13941907

Шайба пружинная

1шт.

40

VOE 13941907

Шайба

1шт.

41

VOE 1522474

Болт

1шт.

41

VOE 1522474

Болт

1шт.

42

VOE 948532

Jam nut

1шт.

42

VOE 948532

Jam nut

1шт.

5

VOE 310719

Втулка

1шт.

5

VOE 310719

Втулка

1шт.

6

VOE 1523002

Drive Gear Set

1шт.

7

VOE 1673306

Болт

1шт.

7

VOE 1673306

Болт

1шт.

8

VOE 191055

Гайка

1шт.

8

VOE 191055

Гайка

1шт.

9

VOE 907847

Cotter Pin

1шт.

Выбрано товаров: 102