Запчасти Volvo 861 861 11660 Spring-brake 98998

Схема запчастей Volvo 861 861 - 11660 Spring-brake 98998
FIT
1:1
100%

Артикул

Название

Примечание

Количество

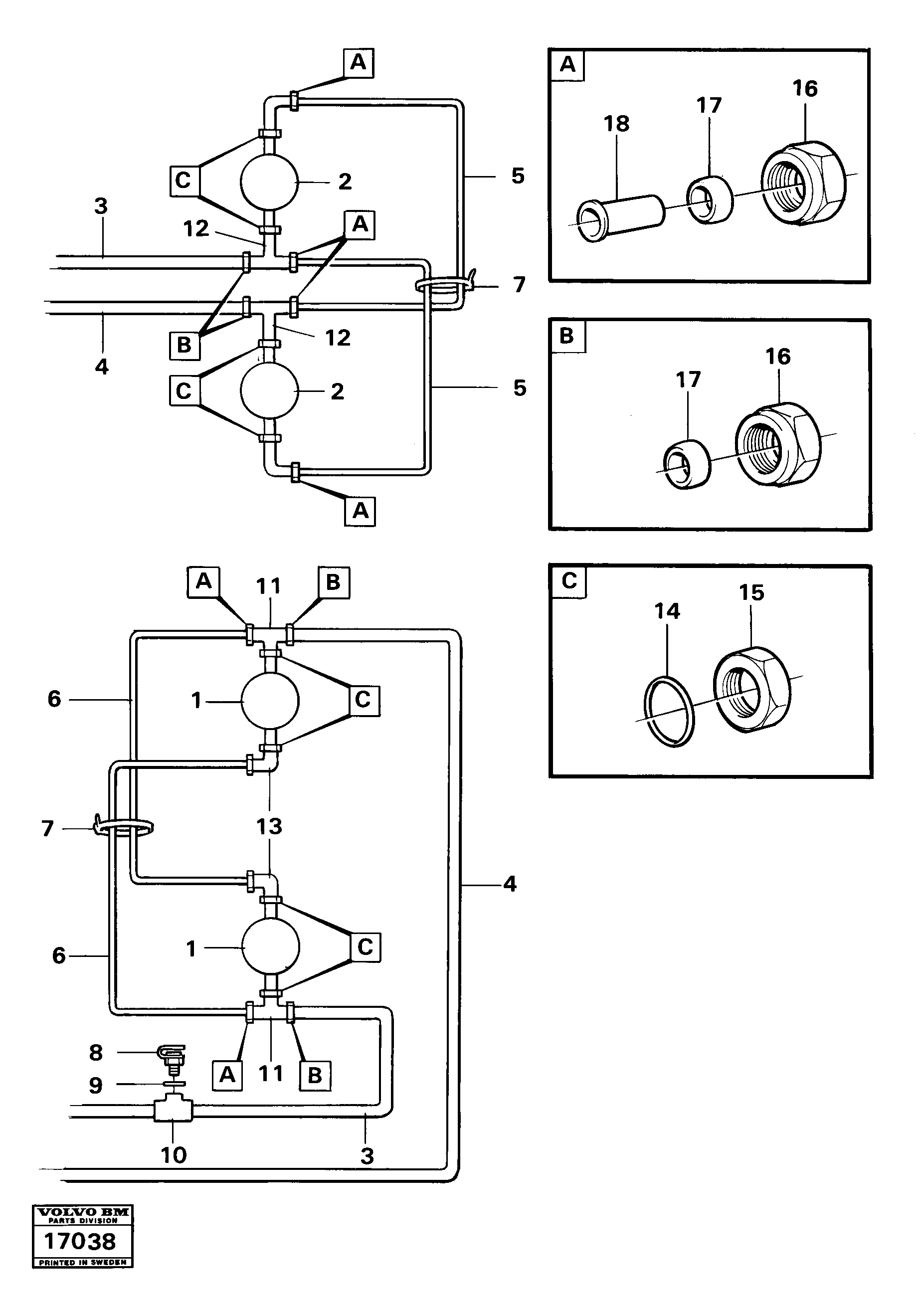
VOE 326597

Fitting Nut

SER NO 59085-

1шт.

VOE 326597

Fitting Nut

SER NO 59085-

1шт.

VOE 326600

Ferrule

SER NO 59085 -

1шт.

VOE 326600

Ferrule

SER NO 59085 -

1шт.

1

VOE 4822767

Spring brake cylinder

1шт.

10

VOE 948452

Nipple

1шт.

10

VOE 948452

Nipple

1шт.

11

VOE 13966418

Nipple

1шт.

11

VOE 13966418

Nipple

1шт.

12

VOE 4860030

Nipple

1шт.

13

VOE 945964

Elbow nipple

1шт.

13

VOE 945964

Elbow nipple

1шт.

14

VOE 943924

Кольцо уплотнительное (О-кольцо)

1шт.

14

VOE 943924

Кольцо уплотнительное (О-кольцо)

1шт.

15

VOE 13945958

Гайка

1шт.

15

VOE 13945958

Гайка

1шт.

16

VOE 326597

Fitting Nut

SER NO -59084

1шт.

16

VOE 326597

Fitting Nut

SER NO -59084

1шт.

17

VOE 326600

Ferrule

SER NO -59084

1шт.

17

VOE 326600

Ferrule

SER NO -59084

1шт.

18

VOE 967548

Socket

1шт.

18

VOE 967548

Втулка (распорная)

1шт.

2

VOE 4822775

Spring Brake Chamber

1шт.

3

VOE 966516

Hose assembly

1шт.

3

VOE 966516

Hose assembly

1шт.

4

VOE 943421

Hose assembly

1шт.

5

VOE 945462

Трубка

L=2X450

1шт.

5

VOE 945462

Трубка

L=2X450

1шт.

6

VOE 945462

Трубка

L=2X340

1шт.

6

VOE 945462

Трубка

L=2X340

1шт.

8

VOE 1592924

Test Nipple

1шт.

8

VOE 1592924

Test Nipple

1шт.

9

VOE 13947622

Plane Gasket

SER NO - 59084

1шт.

9

VOE 13947622

Plane Gasket

SER NO - 59084

1шт.

Выбрано товаров: 34