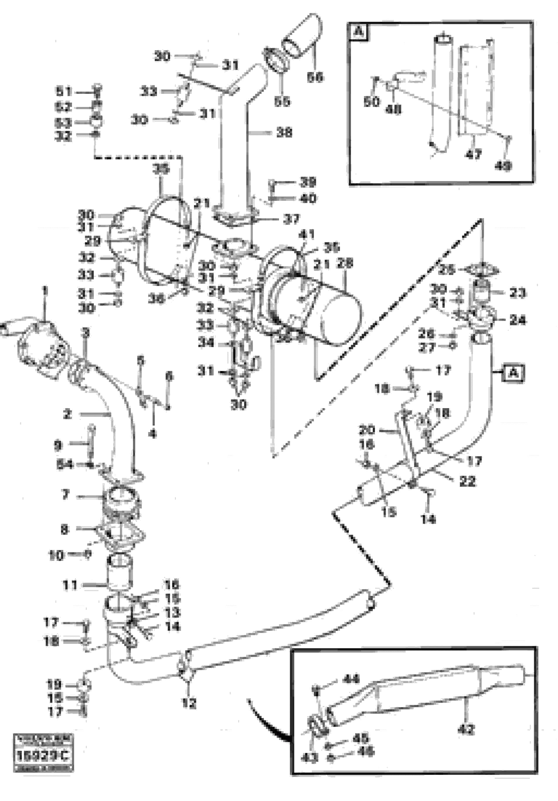
Запчасти Volvo 861 861 86500 Выхлопная система

Схема запчастей Volvo 861 861 - 86500 Выхлопная система
FIT
1:1
100%

Артикул

Название

Примечание

Количество

VOE 13955894

Шайба

SER NO 57741-

1шт.

VOE 13955894

Шайба

SER NO 57741-

1шт.

VOE 6643261

Демпфер

SER NO 57741-

1шт.

VOE 13945408

Гайка

SER NO 57741-

1шт.

VOE 13945408

Гайка

SER NO 57741-

1шт.

VOE 4861528

Тарелка клапана

SER NO 57741-

1шт.

VOE 11053666

Прокладка

SER NO 57741-

1шт.

VOE 13971098

Flange nut

SER NO 57741-

1шт.

VOE 13971098

Flange nut

SER NO 57741-

1шт.

10

VOE 191894

Гайка

1шт.

10

VOE 191894

Гайка

1шт.

11

VOE 4780139

Cooling element

1шт.

12

VOE 4860116

Exhaust pipe

1шт.

13

VOE 6626469

Зажим

1шт.

14

VOE 13970950

Винт шестигранник

1шт.

14

VOE 13970950

Винт шестигранник

1шт.

15

VOE 976945

Шайба

1шт.

15

VOE 976945

Шайба

1шт.

16

VOE 13971089

Lock nut

TILLV NR-57740

1шт.

16

VOE 13971089

Lock nut

TILLV NR-57740

1шт.

17

VOE 13970943

Винт шестигранник

1шт.

17

VOE 13970943

Винт шестигранник

1шт.

18

VOE 13930842

Шайба

1шт.

18

VOE 13930842

Шайба

1шт.

19

VOE 6648142

Демпфер

1шт.

19

VOE 6648142

Vibration damper

1шт.

2

VOE 6648143

Трубка

1шт.

21

VOE 976945

Шайба

TILLV NR-57740

1шт.

21

VOE 976945

Шайба

TILLV NR-57740

1шт.

22

VOE 4860115

Exhaust pipe

1шт.

23

VOE 4773403

Expansion joint

1шт.

24

VOE 4774455

Фланец

1шт.

25

VOE 11033124

Прокладка

1шт.

26

VOE 13941907

Шайба пружинная

1шт.

26

VOE 13941907

Шайба

1шт.

27

VOE 955782

Hexagon nut

1шт.

27

VOE 955782

Hexagon nut

1шт.

28

VOE 4774413

Silencer

1шт.

29

VOE 6648139

Тарелка клапана

SER NO - 57740

1шт.

3

VOE 424629

Прокладка

1шт.

3

VOE 424629

Прокладка

1шт.

30

VOE 955782

Hexagon nut

TILLV NR-57740

1шт.

30

VOE 955782

Hexagon nut

TILLV NR-57740

1шт.

31

VOE 13955894

Шайба

TILLV NR-57740

1шт.

31

VOE 13955894

Шайба

TILLV NR-57740

1шт.

32

VOE 6626649

Gasket kit

TILLV NR-57740

1шт.

33

VOE 6643261

Демпфер

TILLV NR-57740

1шт.

35

VOE 6648140

Mounting strap

1шт.

36

VOE 13971089

Lock nut

TILLV NR-57740

1шт.

36

VOE 13971089

Lock nut

TILLV NR-57740

1шт.

37

VOE 4773684

Прокладка

1шт.

37

VOE 4773684

Прокладка

1шт.

38

VOE 6648272

Трубка

1шт.

39

VOE 13970947

Винт шестигранник

1шт.

39

VOE 13970947

Винт шестигранник

1шт.

4

VOE 953237

Шпилька

1шт.

4

VOE 953237

Шпилька

1шт.

40

VOE 941908

Шайба пружинная

1шт.

40

VOE 941908

Шайба пружинная

1шт.

41

VOE 4773831

Кольцо уплотнительное

1шт.

42

VOE 4861233

Exhaust pipe

1шт.

43

VOE 4751182

Зажим

1шт.

44

VOE 13970950

Винт шестигранник

1шт.

44

VOE 13970950

Винт шестигранник

1шт.

45

VOE 976945

Шайба

1шт.

45

VOE 976945

Шайба

1шт.

46

VOE 13971089

Lock nut

1шт.

46

VOE 13971089

Lock nut

1шт.

47

VOE 4860937

Protecting plate

1шт.

48

VOE 6626477

Зажим

1шт.

49

VOE 946671

Flange screw

1шт.

49

VOE 946671

Flange screw

1шт.

5

VOE 943705

Tab washer

1шт.

5

VOE 943705

Tab washer

1шт.

50

VOE 13945408

Гайка

1шт.

50

VOE 13945408

Гайка

1шт.

51

VOE 955302

Винт шестигранник

SER NO 57741-

1шт.

51

VOE 955302

Винт шестигранник

SER NO 57741-

1шт.

52

VOE 4861531

Socket

SER NO 57741-

1шт.

53

VOE 4861537

Шайба

SER NO 57741-

1шт.

54

VOE 13961170

Шайба

1шт.

54

VOE 13961170

Шайба

1шт.

55

VOE 943483

Hose clamp

1шт.

55

VOE 943483

Hose clamp

1шт.

56

VOE 4822537

Extension pipe

1шт.

6

VOE 13940122

Гайка

1шт.

6

VOE 13940122

Гайка

1шт.

8

VOE 6626468

Spacer flange

1шт.

9

VOE 942338

Болт

1шт.

9

VOE 942338

Винт шестигранник

1шт.

Выбрано товаров: 90