Запчасти Volvo 861 861 100246 Power take-off

Схема запчастей Volvo 861 861 - 100246 Power take-off
FIT
1:1
100%

Артикул

Название

Примечание

Количество

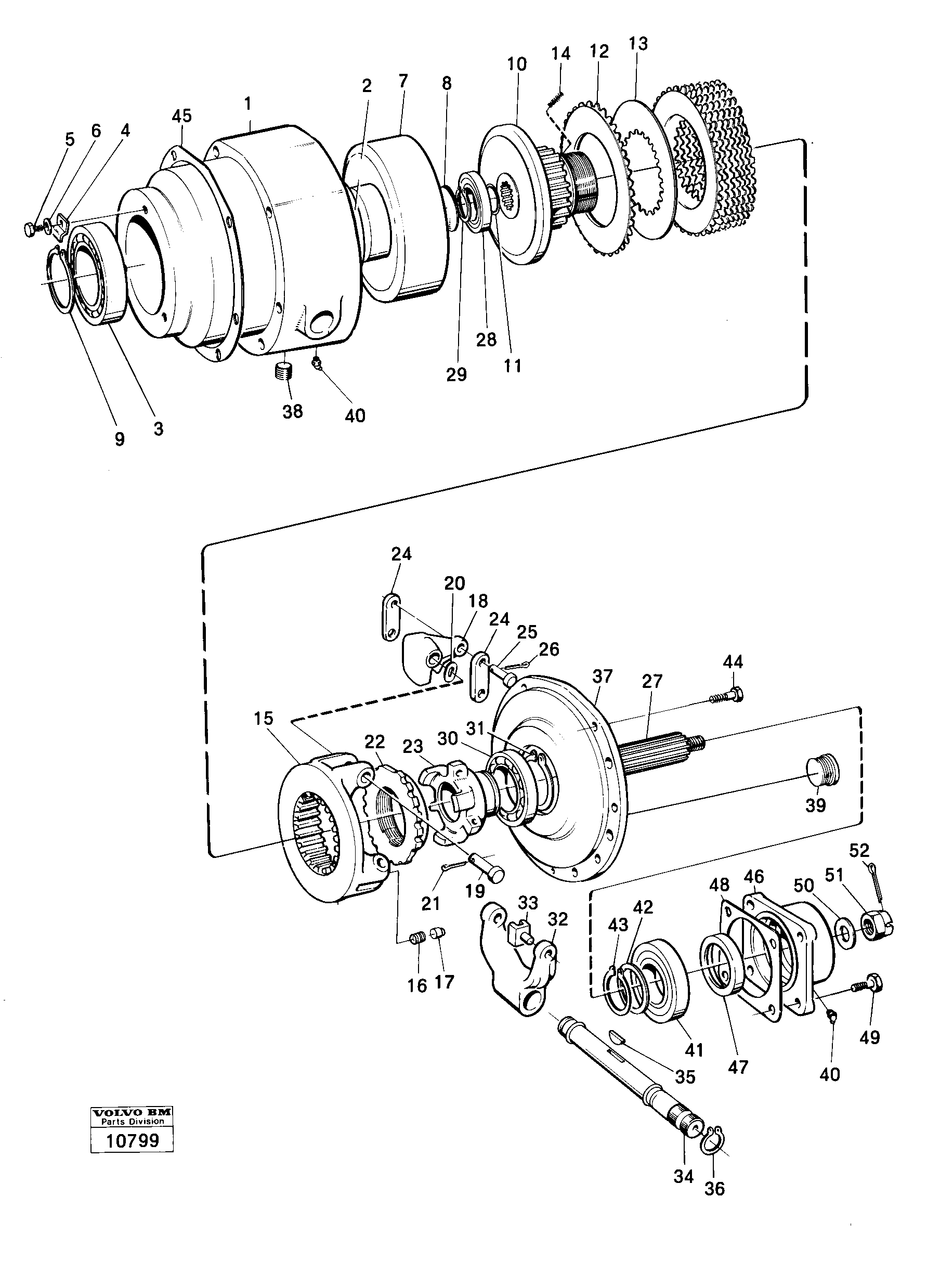
VOE 762480

Power Take-off

1шт.

VOE 4716900

Spacer ring

1шт.

VOE 13941907

Шайба пружинная

1шт.

VOE 13941907

Шайба

1шт.

1

VOE 748670

Bearing housing

1шт.

10

VOE 4718217

Disc centre

1шт.

11

VOE 943785

Retaining ring

1шт.

12

VOE 4718216

Диск сцепления (фрикцион)

1шт.

13

VOE 4715178

Friction disc

1шт.

14

VOE 926073

установочный винт

1шт.

15

VOE 4715179

Pressure plate

1шт.

16

VOE 734772

Пружина

1шт.

17

VOE 4715180

4715180

1шт.

18

VOE 4715184

4715184

1шт.

19

VOE 943783

Clevis pin

1шт.

2

VOE 958907

Кольцо уплотнительное

1шт.

20

VOE 13942336

Шайба пружинная

1шт.

20

VOE 13942336

Шайба пружинная

1шт.

21

VOE 926082

Cotter Pin

1шт.

22

VOE 4715181

Кольцо

1шт.

23

VOE 4715182

Тарелка клапана

1шт.

24

VOE 4715183

Тяга поворотная

1шт.

25

VOE 4715185

Pivot pin

1шт.

26

VOE 926082

Cotter Pin

1шт.

27

VOE 750087

Power take-off shaft

1шт.

28

VOE 7181374

Ball bearing

1шт.

29

VOE 914462

Retaining ring

1шт.

29

VOE 914462

Кольцо стопорное

1шт.

3

VOE 7183669

Ball bearing

1шт.

30

VOE 7181658

Ball bearing

1шт.

31

VOE 914472

Retaining ring

1шт.

31

VOE 914472

Кольцо стопорное

1шт.

32

VOE 4720143

Control Arm

1шт.

33

VOE 777736

Dog clutch

1шт.

34

VOE 748663

Control Shaft

1шт.

35

VOE 910127

Woodruff key

1шт.

35

VOE 910127

Woodruff key

1шт.

36

VOE 914459

Retaining ring

1шт.

36

VOE 914459

Кольцо стопорное

1шт.

37

VOE 748666

Cap

1шт.

38

VOE 728986

Пробка (заглушка)

1шт.

39

VOE 13952079

Пробка (заглушка)

1шт.

39

VOE 13952079

Пробка (заглушка)

1шт.

4

VOE 729378

Тарелка клапана

1шт.

40

VOE 914169

Lubricating nipple

1шт.

40

VOE 914169

Lubricating nipple

1шт.

41

VOE 7019491

Ball bearing

1шт.

42

VOE 725669

Spacer sleeve

1шт.

43

VOE 13914468

Кольцо стопорное

1шт.

43

VOE 13914468

Retaining ring

1шт.

44

VOE 13940135

Болт

1шт.

44

VOE 13940135

Болт

1шт.

45

VOE 749107

Прокладка

1шт.

45

VOE 749107

Прокладка

1шт.

46

VOE 738853

Cap

1шт.

47

VOE 6617868

Кольцо уплотнительное

1шт.

48

VOE 738417

Прокладка

1шт.

49

VOE 955535

Винт шестигранник

1шт.

49

VOE 955535

Винт шестигранник

1шт.

5

VOE 955524

Винт шестигранник

1шт.

5

VOE 955524

Винт шестигранник

1шт.

50

VOE 955905

Шайба

1шт.

50

VOE 955905

Шайба

1шт.

51

VOE 7010524

Castle nut

1шт.

51

VOE 7010524

Castle nut

1шт.

52

VOE 13907862

Cotter Pin

1шт.

6

VOE 7015178

Стопорная шайба (кольцо)

1шт.

7

VOE 4715268

Clutch body

1шт.

8

VOE 4715299

Cap plug

1шт.

9

VOE 914476

Retaining ring

1шт.

9

VOE 914476

Кольцо стопорное

1шт.

Выбрано товаров: 71