Запчасти Volvo A20 VOLVO BM A20 24627 цилиндр

Схема запчастей Volvo A20 VOLVO BM A20 - 24627 цилиндр
FIT
1:1
100%

Артикул

Название

Примечание

Количество

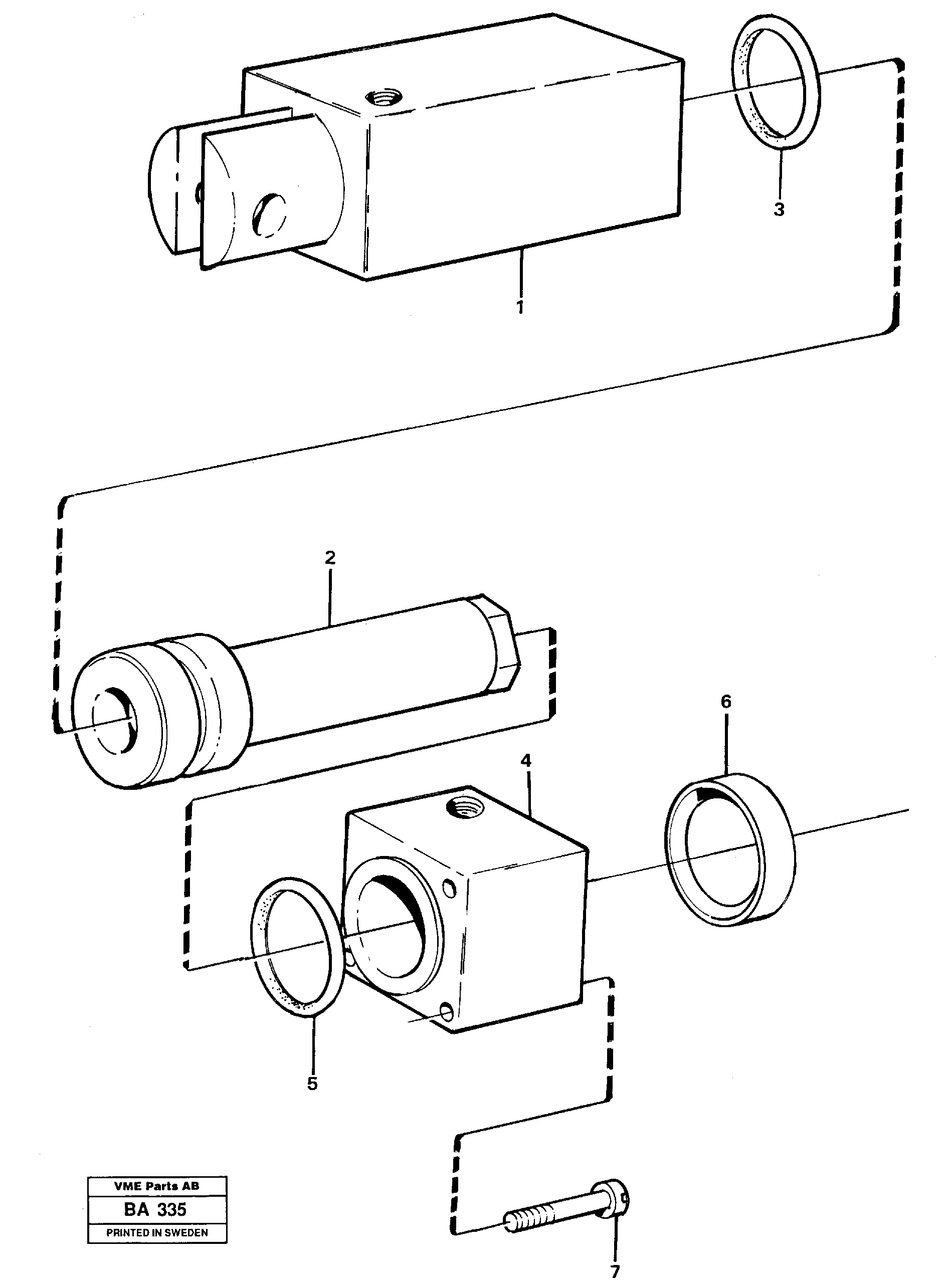
VOE 6648963

цилиндр

1шт.

VOE 6648963

цилиндр

1шт.

2

VOE 6648964

Поршень

1шт.

3

VOE 6646155

Кольцо уплотнительное (О-кольцо)

1шт.

4

VOE 6648965

Clutch Ring

1шт.

5

VOE 955996

Кольцо уплотнительное (О-кольцо)

1шт.

5

VOE 955996

Кольцо уплотнительное (О-кольцо)

1шт.

6

VOE 6212763

Сальник

1шт.

7

VOE 956069

X Rec Screw

1шт.

7

VOE 956069

X Rec Screw

1шт.

Выбрано товаров: 10