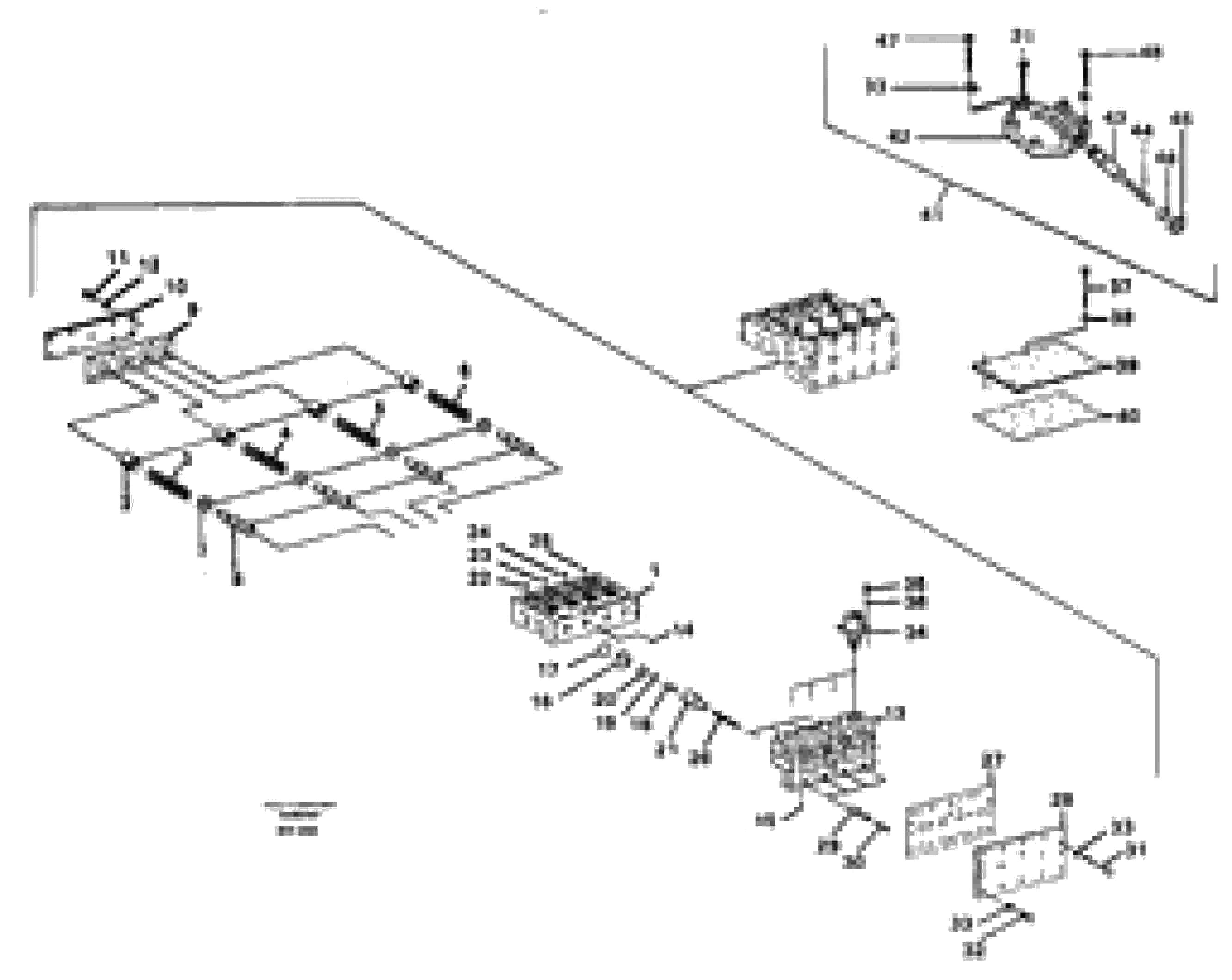
Запчасти Volvo A20C 65796 Valve block A20C VOLVO BM VOLVO BM A20C SER NO - 3051

Схема запчастей Volvo A20C - 65796 Valve block A20C VOLVO BM VOLVO BM A20C SER NO - 3051
FIT
1:1
100%

Артикул

Название

Примечание

Количество

VOE 11991252

Втулка

1шт.

VOE 11991252

Втулка

1шт.

VOE 6211826

Кольцо уплотнительное (О-кольцо)

1шт.

VOE 6211826

Кольцо уплотнительное (О-кольцо)

1шт.

VOE 11702800

Кольцо уплотнительное (О-кольцо)

1шт.

VOE 11702800

Кольцо уплотнительное (О-кольцо)

1шт.

VOE 955282

Винт шестигранник

1шт.

VOE 955282

Винт шестигранник

1шт.

1

VOE 11707843

Valve body

1шт.

1

VOE 11707843

Valve body

1шт.

10

VOE 11991248

Крышка

1шт.

10

VOE 11991248

Cover

1шт.

11

VOE 13955271

Болт

1шт.

11

VOE 13955271

Болт

1шт.

12

VOE 955892

Шайба

1шт.

12

VOE 955892

Шайба

1шт.

13

VOE 11991249

Картер (корпус)

1шт.

13

VOE 11991249

Картер (корпус)

1шт.

14

VOE 11991250

Кольцо уплотнительное (О-кольцо)

1шт.

14

VOE 11991250

Кольцо уплотнительное (О-кольцо)

1шт.

15

VOE 184114

Ball

1шт.

15

VOE 184114

Ball

1шт.

16

VOE 11991251

Втулка

1шт.

16

VOE 11991251

Втулка

1шт.

17

VOE 11991253

Кольцо уплотнительное (О-кольцо)

1шт.

17

VOE 11991253

Кольцо уплотнительное (О-кольцо)

1шт.

18

VOE 11991254

Палец

1шт.

19

VOE 11991255

Шайба

1шт.

19

VOE 11991255

Шайба

1шт.

2

VOE 11991241

Поршень

1шт.

2

VOE 11991241

Поршень

1шт.

20

VOE 914508

Retaining ring

1шт.

20

VOE 914508

Кольцо стопорное

1шт.

21

VOE 11991256

Поршень

1шт.

21

VOE 11991256

Поршень

1шт.

22

VOE 11992151

Jet

1шт.

22

VOE 11992151

Jet

1шт.

23

VOE 11992151

Jet

1шт.

23

VOE 11992151

Jet

1шт.

24

VOE 1663478

Jet

1шт.

24

VOE 1663478

Jet

1шт.

25

VOE 11991257

Jet

1шт.

25

VOE 11991257

Jet

1шт.

26

VOE 11991259

Compression spring

1шт.

26

VOE 11991259

Compression spring

1шт.

27

VOE 11993300

Прокладка

1шт.

27

VOE 11993300

Прокладка

1шт.

28

VOE 11991261

Cover

1шт.

28

VOE 11991261

Крышка

1шт.

29

VOE 11991262

Поршень

1шт.

29

VOE 11991262

Поршень

1шт.

3

VOE 11991042

Compression spring

1шт.

3

VOE 11991042

Compression spring

1шт.

30

VOE 11991263

Compression spring

1шт.

30

VOE 11991263

Compression spring

1шт.

31

VOE 955281

Винт шестигранник

1шт.

31

VOE 955281

Винт шестигранник

1шт.

32

VOE 977657

Винт шестигранник

1шт.

33

VOE 955892

Шайба

1шт.

33

VOE 955892

Шайба

1шт.

34

VOE 11988116

Встроенный клапан в сборе

1шт.

35

VOE 959187

Hex. socket screw

1шт.

35

VOE 959187

Винт шестигранник (торцевой ключ)

1шт.

36

VOE 13940090

Шайба

1шт.

36

VOE 13940090

Шайба

1шт.

37

VOE 955280

Винт шестигранник

1шт.

37

VOE 955280

Винт шестигранник

1шт.

38

VOE 955892

Шайба

1шт.

38

VOE 955892

Шайба

1шт.

39

VOE 8550574

Крышка

1шт.

39

VOE 8550574

Cover

1шт.

4

VOE 11991042

Compression spring

1шт.

4

VOE 11991042

Compression spring

1шт.

40

VOE 11701331

Прокладка

1шт.

40

VOE 11701331

Прокладка

1шт.

41

VOE 8551088

Valve body

1шт.

42

VOE 8551085

Valve housing

1шт.

43

VOE 8551086

Поршень

1шт.

44

VOE 11701324

Compression spring

1шт.

45

VOE 8551087

Пробка (заглушка)

1шт.

46

VOE 13947622

Plane gasket

1шт.

46

VOE 13947622

Plane gasket

1шт.

47

VOE 11714116

Винт шестигранник

1шт.

48

VOE 955283

Болт

1шт.

5

VOE 11991244

Compression spring

1шт.

5

VOE 11991244

Compression spring

1шт.

6

VOE 11991242

Compression spring

1шт.

6

VOE 11991242

Compression spring

1шт.

7

VOE 11991245

Шайба

1шт.

7

VOE 11991245

Шайба

1шт.

8

VOE 11991246

Поршень

1шт.

8

VOE 11991246

Поршень

1шт.

9

VOE 11993299

Прокладка

1шт.

9

VOE 11993299

Прокладка

1шт.

Выбрано товаров: 0