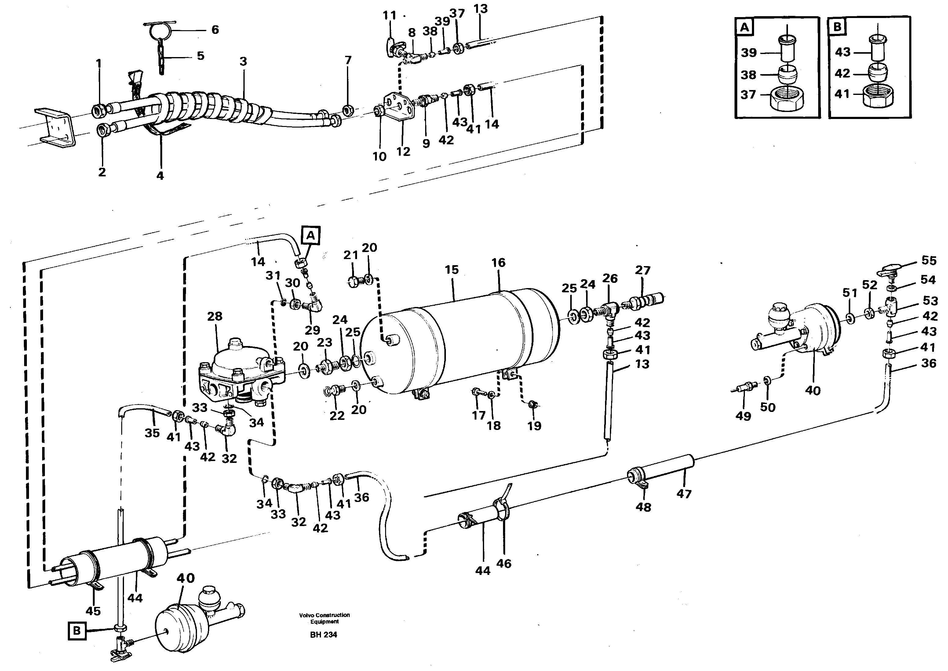
Запчасти Volvo A20C 90566 Brake system trailer A20C VOLVO BM VOLVO BM A20C SER NO - 3051

Схема запчастей Volvo A20C - 90566 Brake system trailer A20C VOLVO BM VOLVO BM A20C SER NO - 3051
FIT
1:1
100%

Артикул

Название

Примечание

Количество

VOE 955990

Кольцо уплотнительное (О-кольцо)

1шт.

VOE 955990

Кольцо уплотнительное (О-кольцо)

1шт.

1

VOE 13977922

Hose assembly

L = 1950

1шт.

10

VOE 338888

Hexagon nut

1шт.

10

VOE 338888

Hexagon nut

1шт.

11

VOE 1592924

Test nipple

1шт.

11

VOE 1592924

Test nipple

1шт.

12

VOE 11056244

Anchorage

1шт.

12

VOE 11056244

Anchorage

1шт.

13

VOE 945462

Трубка

L=2000

1шт.

13

VOE 945462

Трубка

L=2000

1шт.

14

VOE 13945461

Plastic pipe

L=400

1шт.

14

VOE 13945461

Plastic pipe

L=400

1шт.

15

VOE 11061768

Бак

30 L

1шт.

16

VOE 4940898

Tensioning band

1шт.

17

VOE 968974

Винт шестигранник

1шт.

17

VOE 968974

Винт шестигранник

1шт.

18

VOE 13955894

Шайба

1шт.

18

VOE 13955894

Шайба

1шт.

19

VOE 13945408

Гайка

1шт.

19

VOE 13945408

Гайка

1шт.

2

VOE 13977921

Hose assembly

L = 1900

1шт.

20

VOE 13947627

Plane gasket

1шт.

20

VOE 13947627

Plane gasket

1шт.

21

VOE 13960634

Пробка (заглушка)

1шт.

21

VOE 13960634

Пробка (заглушка)

1шт.

22

VOE 1581425

Draining valve

1шт.

22

VOE 1581425

Draining valve

1шт.

23

VOE 945956

Nipple

1шт.

23

VOE 945956

Nipple

1шт.

24

VOE 945895

Hexagon nut

1шт.

24

VOE 945895

Hexagon nut

1шт.

25

VOE 13949657

Кольцо уплотнительное (О-кольцо)

1шт.

25

VOE 13949657

Кольцо уплотнительное (О-кольцо)

1шт.

26

VOE 949414

Nipple

1шт.

27

VOE 1622431

Safety valve

1шт.

27

VOE 1622431

Safety valve

1шт.

29

VOE 945917

Nipple

1шт.

3

VOE 11061648

Hose protection

1шт.

3

VOE 11061648

Hose protection

1шт.

30

VOE 945893

Hexagon nut

1шт.

30

VOE 945893

Hexagon nut

1шт.

31

VOE 1587176

Кольцо уплотнительное (О-кольцо)

1шт.

31

VOE 1587176

Кольцо уплотнительное (О-кольцо)

1шт.

32

VOE 945964

Elbow nipple

1шт.

32

VOE 945964

Elbow nipple

1шт.

33

VOE 13945958

Гайка

1шт.

33

VOE 13945958

Гайка

1шт.

34

VOE 943924

Кольцо уплотнительное (О-кольцо)

1шт.

34

VOE 943924

Кольцо уплотнительное (О-кольцо)

1шт.

35

VOE 945462

Трубка

L=270

1шт.

35

VOE 945462

Трубка

L=270

1шт.

36

VOE 945462

Трубка

L=2880

1шт.

36

VOE 945462

Трубка

L=2880

1шт.

37

VOE 326596

Fitting nut

1шт.

37

VOE 326596

Fitting nut

1шт.

38

VOE 326599

Ferrule

1шт.

38

VOE 326599

Ferrule

1шт.

39

VOE 967559

Втулка (распорная)

1шт.

4

VOE 11104606

Retaining strap

1шт.

4

VOE 11104606

Retaining strap

1шт.

41

VOE 326597

Fitting nut

1шт.

41

VOE 326597

Fitting nut

1шт.

42

VOE 326600

Ferrule

1шт.

42

VOE 326600

Ferrule

1шт.

43

VOE 967548

Sleeve

1шт.

43

VOE 967548

Втулка (распорная)

1шт.

45

VOE 952639

Зажим

1шт.

45

VOE 952639

Зажим

1шт.

46

VOE 4881440

Cable tie

1шт.

46

VOE 4881440

Cable tie

1шт.

48

VOE 952635

Зажим

1шт.

48

VOE 952635

Зажим

1шт.

49

VOE 1578102

Contact

1шт.

5

VOE 4940828

Chain

1шт.

5

VOE 4940828

Chain

1шт.

50

VOE 13947624

Plane gasket

1шт.

50

VOE 13947624

Plane gasket

1шт.

51

VOE 943924

Кольцо уплотнительное (О-кольцо)

1шт.

51

VOE 943924

Кольцо уплотнительное (О-кольцо)

1шт.

52

VOE 13945958

Гайка

1шт.

52

VOE 13945958

Гайка

1шт.

53

VOE 948797

Nipple

1шт.

53

VOE 948797

Nipple

1шт.

54

VOE 13947627

Plane gasket

1шт.

54

VOE 13947627

Plane gasket

1шт.

55

VOE 1505035

Nipple

1шт.

55

VOE 1505035

Nipple

1шт.

6

VOE 4941839

Пружина

1шт.

6

VOE 4941839

Пружина

1шт.

7

VOE 350039

Hexagon nut

1шт.

7

VOE 350039

Hexagon nut

1шт.

8

VOE 948452

Nipple

1шт.

8

VOE 948452

Nipple

1шт.

9

VOE 11118363

Nipple

1шт.

9

VOE 11118363

Nipple

1шт.

Выбрано товаров: 96