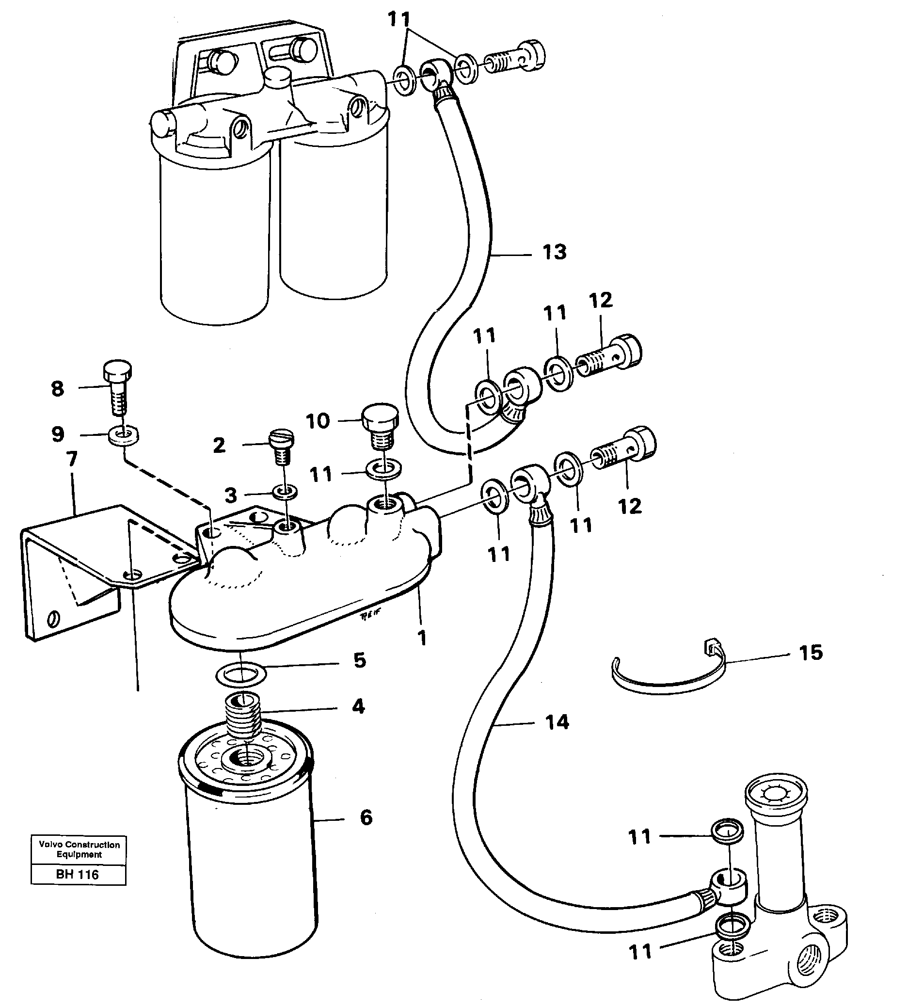
Запчасти Volvo A20C 56748 Extra fuel filter A20C VOLVO BM VOLVO BM A20C SER NO - 3051

Схема запчастей Volvo A20C - 56748 Extra fuel filter A20C VOLVO BM VOLVO BM A20C SER NO - 3051
FIT
1:1
100%

Артикул

Название

Примечание

Количество

VOE 781648

Filter cover

1шт.

VOE 781648

Filter cover

1шт.

10

VOE 960630

Пробка (заглушка)

1шт.

10

VOE 960630

Пробка (заглушка)

1шт.

11

VOE 957178

Gasket

1шт.

11

VOE 957178

Прокладка

1шт.

12

VOE 7025167

Hollow screw

1шт.

12

VOE 7025167

Hollow screw

1шт.

13

VOE 4804349

Шланг топливный

1шт.

13

VOE 4804349

Шланг топливный

1шт.

14

VOE 4836118

Шланг топливный

1шт.

14

VOE 4836118

Шланг топливный

1шт.

15

VOE 4821292

Cable tie

1шт.

15

VOE 4821292

Cable tie

1шт.

2

VOE 11000051

Болт

1шт.

2

VOE 11000051

Болт

1шт.

3

VOE 947620

Прокладка

1шт.

3

VOE 947620

Прокладка

1шт.

4

VOE 781644

Nipple

1шт.

4

VOE 781644

Nipple

1шт.

5

VOE 949658

Кольцо уплотнительное (О-кольцо)

1шт.

5

VOE 949658

Кольцо уплотнительное (О-кольцо)

1шт.

6

VOE 795210

Фильтр топливный

1шт.

6

VOE 795210

Фильтр топливный

1шт.

7

VOE 11056176

11056176

1шт.

8

VOE 946671

Flange screw

1шт.

8

VOE 946671

Flange screw

1шт.

9

VOE 976945

Шайба

1шт.

9

VOE 976945

Шайба

1шт.

Выбрано товаров: 29