Запчасти Volvo A20C 71737 Топливный бак (бензобак) A20C VOLVO BM VOLVO BM A20C SER NO - 3051

Схема запчастей Volvo A20C - 71737 Топливный бак (бензобак) A20C VOLVO BM VOLVO BM A20C SER NO - 3051
FIT
1:1
100%

Артикул

Название

Примечание

Количество

VOE 1189577

Filler cap

CAB 3042 -

1шт.

VOE 1189577

Filler cap

CAB 3042 -

1шт.

VOE 11052886

Filler pipe

1шт.

VOE 1698164

Прокладка

1шт.

VOE 1698164

Прокладка

1шт.

VOE 11991396

Key

1шт.

VOE 11052485

Топливный бак (бензобак)

CAB 3042 -

1шт.

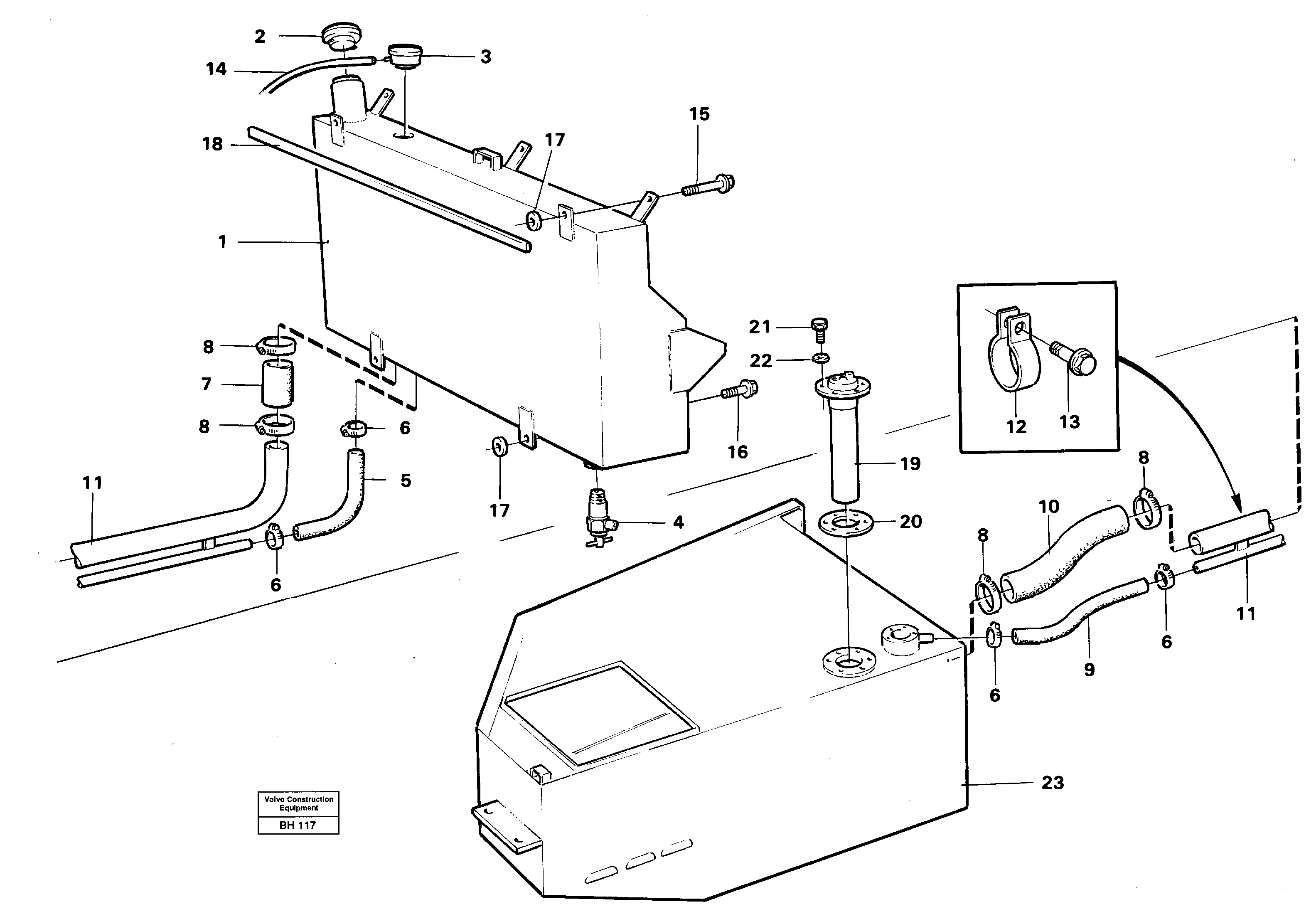
1

VOE 11058047

Топливный бак (бензобак)

CAB - 3041

1шт.

10

VOE 4940771

Rubber hose

L = 540

1шт.

11

VOE 4940768

Fuel pipe

1шт.

12

VOE 941788

Зажим

1шт.

13

VOE 13947760

Болт

1шт.

13

VOE 13947760

Screw

1шт.

14

VOE 192034

Rubber hose

L = 600

1шт.

15

VOE 13947790

Болт

1шт.

15

VOE 13947790

Screw

1шт.

16

VOE 946472

Flange screw

1шт.

16

VOE 946472

Flange screw

1шт.

17

VOE 13948093

Шайба

1шт.

17

VOE 13948093

Шайба

1шт.

18

VOE 4864288

4864288

1шт.

19

VOE 4740537

Tank unit

1шт.

19

VOE 4740537

Tank unit

1шт.

2

VOE 4821033

Крышка

CAB - 3041

1шт.

20

VOE 4708245

Прокладка

1шт.

20

VOE 4708245

Прокладка

1шт.

21

VOE 13955271

Болт

1шт.

21

VOE 13955271

Болт

1шт.

22

VOE 955892

Шайба

1шт.

22

VOE 955892

Шайба

1шт.

23

VOE 11052603

Overrider

1шт.

3

VOE 4940398

Cover

1шт.

3

VOE 4940398

Крышка

1шт.

4

VOE 87502

Drain Cock

1шт.

5

VOE 14016472

Oil hose

L = 500

1шт.

6

VOE 13943474

Hose clamp

1шт.

7

VOE 4940771

Rubber hose

L = 150

1шт.

8

VOE 943479

Hose clamp

1шт.

9

VOE 14016472

Oil hose

L = 590

1шт.

Выбрано товаров: 39