Запчасти Volvo A20C 80657 Tipp control A20C VOLVO BM VOLVO BM A20C SER NO - 3051

Схема запчастей Volvo A20C - 80657 Tipp control A20C VOLVO BM VOLVO BM A20C SER NO - 3051
FIT
1:1
100%

Артикул

Название

Примечание

Количество

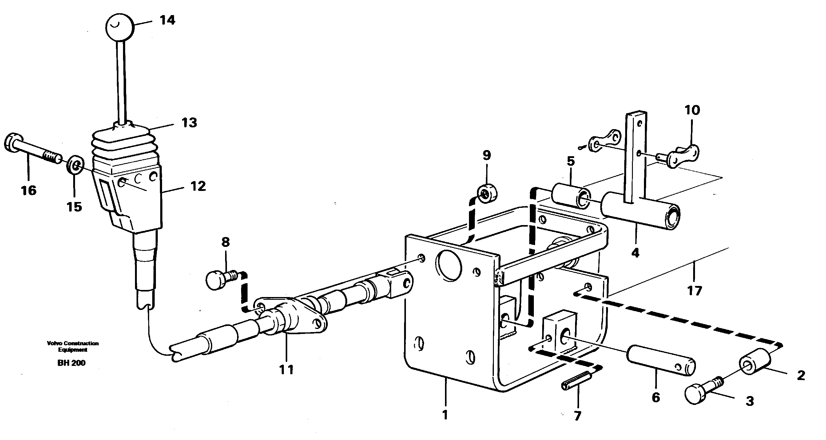
1

VOE 11062596

11062596

1шт.

10

VOE 6624584

Clutch link

1шт.

10

VOE 6624584

Clutch link

1шт.

11

VOE 11058709

Cable

1шт.

12

VOE 11043061

11043061

1шт.

13

VOE 11994475

Bellows

1шт.

14

VOE 11994476

Knob

1шт.

14

VOE 11994476

Knob

1шт.

15

VOE 13955894

Шайба

1шт.

15

VOE 13955894

Шайба

1шт.

16

VOE 959229

Allen Hd Screw

1шт.

2

VOE 11062601

Втулка (распорная)

1шт.

3

VOE 13965176

Screw

1шт.

3

VOE 13965176

Болт

1шт.

4

VOE 11062602

Brg Arrangement

1шт.

5

VOE 6626334

Втулка

1шт.

5

VOE 6626334

Втулка

1шт.

6

VOE 11062598

Вал

1шт.

7

VOE 951968

Spring pin

1шт.

7

VOE 951968

Spring pin

1шт.

8

VOE 13946934

Болт

1шт.

8

VOE 13946934

Болт

1шт.

9

VOE 13949278

Flange lock nut

1шт.

9

VOE 13949278

Flange lock nut

1шт.

Выбрано товаров: 24