Запчасти Volvo A25 VOLVO BM VOLVO BM A25 53704 Housing-oilfilter

Схема запчастей Volvo A25 VOLVO BM VOLVO BM A25 - 53704 Housing-oilfilter
FIT
1:1
100%

Артикул

Название

Примечание

Количество

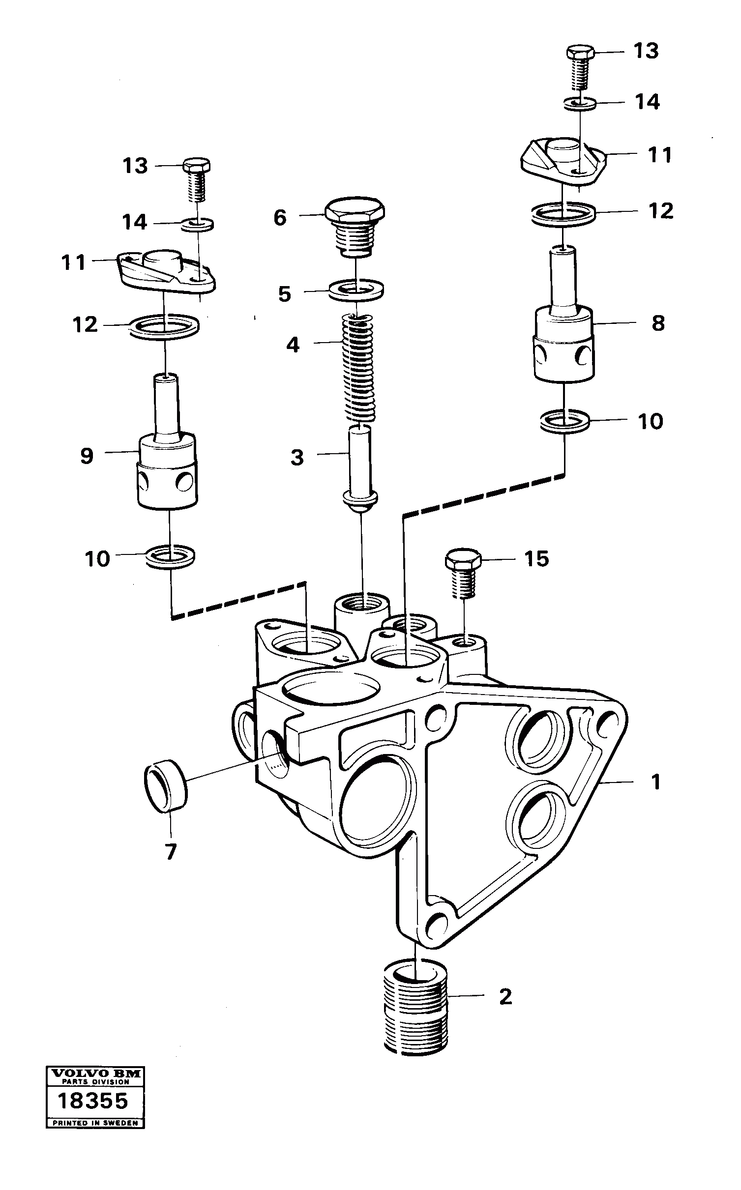
VOE 11030507

Картер (корпус)

1шт.

10

VOE 469846

Кольцо уплотнительное

1шт.

10

VOE 469846

Кольцо уплотнительное

1шт.

11

VOE 471648

Крышка

1шт.

12

VOE 949659

Кольцо уплотнительное (О-кольцо)

1шт.

12

VOE 949659

Кольцо уплотнительное (О-кольцо)

1шт.

13

VOE 13955272

Болт

1шт.

13

VOE 13955272

Болт

1шт.

14

VOE 955892

Шайба

1шт.

14

VOE 955892

Шайба

1шт.

15

VOE 479979

Пробка (заглушка)

1шт.

2

VOE 466623

Nipple

1шт.

2

VOE 466623

Nipple

1шт.

3

VOE 471085

Valve cone

1шт.

4

VOE 466653

Compression spring

1шт.

4

VOE 466653

Compression spring

1шт.

5

VOE 13947627

Plane gasket

1шт.

5

VOE 13947627

Plane gasket

1шт.

6

VOE 471598

Пробка (заглушка)

1шт.

8

VOE 471706

Reduction valve

1шт.

8

VOE 471706

Reduction valve

1шт.

9

VOE 471646

Piston cooling valve

1шт.

Выбрано товаров: 22