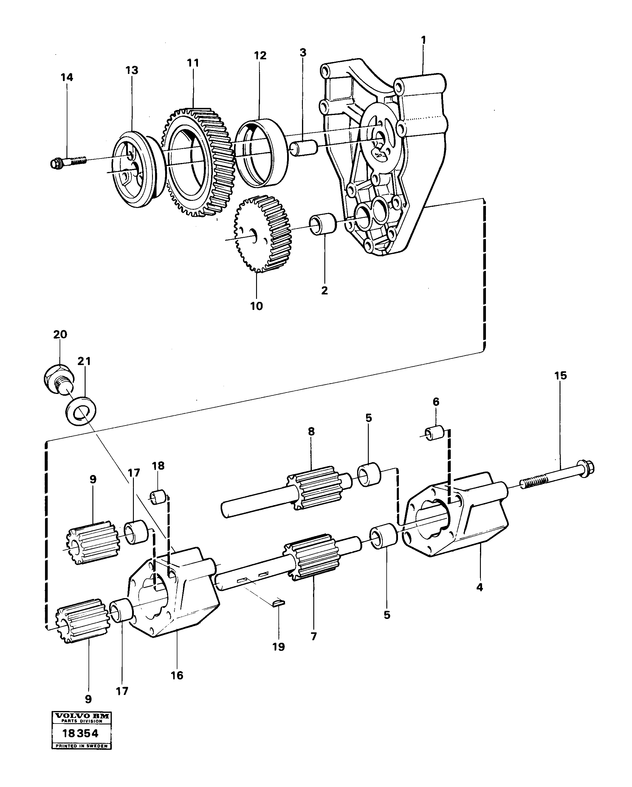
Запчасти Volvo A25 VOLVO BM VOLVO BM A25 99809 Насос масляный

Схема запчастей Volvo A25 VOLVO BM VOLVO BM A25 - 99809 Насос масляный
FIT
1:1
100%

Артикул

Название

Примечание

Количество

VOE 967825

Винт шестигранник

1шт.

VOE 967825

Винт шестигранник

1шт.

VOE 11030633

Насос масляный

ENG - 97292

1шт.

VOE 4778325

Вал

1шт.

VOE 471941

Drive Gear

1шт.

VOE 470347

Втулка

1шт.

VOE 4778435

Gear

1шт.

VOE 470344

Oil pump housing

1шт.

VOE 910115

Woodruff key

1шт.

VOE 910115

Woodruff key

1шт.

VOE 4778319

Вал

1шт.

VOE 4772128

Насос масляный

1шт.

VOE 11032851

Pump housing

1шт.

VOE 469730

Key

1шт.

VOE 11702289

Ремкомплект

1шт.

VOE 11032844

Насос масляный

ENG 97293 -

1шт.

VOE 470353

Pump rotor

1шт.

1

VOE 471571

471571

1шт.

11

VOE 471942

Drive Gear

1шт.

12

VOE 471585

Втулка

1шт.

12

VOE 471585

Bushing

1шт.

12

VOE 471585

Промежуточная шестерня

1шт.

13

VOE 420048

Bearing sleeve

1шт.

14

VOE 471586

Screw

1шт.

14

VOE 471586

Болт

1шт.

15

VOE 13955311

Болт

1шт.

15

VOE 13955311

Болт

1шт.

17

VOE 470347

Втулка

1шт.

18

VOE 401146

Guide sleeve

1шт.

19

VOE 910115

Woodruff key

1шт.

19

VOE 910115

Woodruff key

1шт.

2

VOE 470347

Втулка

1шт.

20

VOE 13960632

Пробка (заглушка)

1шт.

20

VOE 13960632

Пробка (заглушка)

1шт.

21

VOE 13947624

Plane gasket

1шт.

21

VOE 13947624

Plane gasket

1шт.

3

VOE 191171

Палец

1шт.

6

VOE 401146

Guide sleeve

1шт.

Выбрано товаров: 38